TOP
|
特許
|
意匠
|
商標
特許ウォッチ
Twitter
他の特許を見る
公開番号
2025168597
公報種別
公開特許公報(A)
公開日
2025-11-10
出願番号
2022157596
出願日
2022-09-30
発明の名称
組電池及びその作製方法
出願人
FDK株式会社
代理人
個人
主分類
H01M
50/516 20210101AFI20251031BHJP(基本的電気素子)
要約
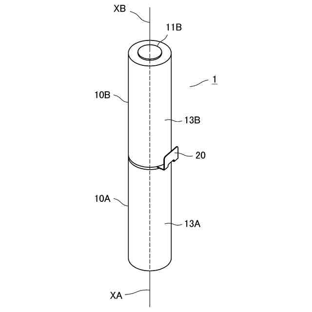
【課題】 直線状に配列された2つの筒状電池セルが電気的に直列接続される組電池を作製する。
【解決手段】 組電池1は、各々が導電性且つ筒状の外装管13を有し、直線状に且つ直列に配列された電池セル10A,10Bを有する。一方の電池セルの正極端子と他方の電池セルの負極端子との間に電池タブが配置され、2つの電池セルを電気的に直列接続する。電池タブは、2つの電池セルの間に配置される溶接プレート部と、溶接プレート部に連続して電池セルの径方向外側に位置する通電プレート部とを有する。溶接プレート部は、他方の電池セルの負極端子と対向する面に、プロジェクション溶接により負極端子に固着される2つの突起部を有する。
【選択図】 図1
特許請求の範囲
【請求項1】
各々が導電性且つ筒状の外装管を有し、直線状に配列され且つ電気的に直列接続された第1及び第2電池セルを有する組電池であって、
前記第1電池セルの正極端子と前記第2電池セルの負極端子との間に配置されて前記第1電池セルと前記第2電池セルとを電気的に接続する電池タブを有し、
前記電池タブは、前記第1電池セルと前記第2電池セルとの間に位置する溶接プレート部と、前記溶接プレート部に連続して前記第1電池セルまたは前記第2電池セルの径方向外側に位置する通電プレート部とを有し、
前記溶接プレート部は、前記第2電池セルの前記負極端子と対向する面に、前記電池タブと前記第2電池セルの負極端子とのプロジェクション溶接により前記負極端子に固着される少なくとも2つの突起部を有する、組電池。
続きを表示(約 600 文字)
【請求項2】
各々が筒状の外装管を有する第1及び第2電池セルが直列接続された組電池を作製する作製方法であって、
電池タブを前記第1電池セルの正極端子に溶接する工程であって、前記電池タブは、前記第1電池セルの正極端子に固定される溶接プレート部と、前記溶接プレート部に連続して前記第1電池セルの径方向外側に位置する通電プレート部とを有し、前記溶接プレート部を前記正極端子にスポット溶接する工程と、
前記第1電池セルに溶接された前記電池タブの溶接プレート部に、前記第2電池セルの負極端子を接触させて、前記第1電池セルに対して前記第2電池セルを一直線状に位置合わせする工程と、
一直線状に位置合わせされた前記第1電池セル及び前記第2電池セルに対し、前記通電プレート部と前記第1電池セル及び前記第2電池セルの外装管との間に絶縁体を介在させた状態で、前記溶接プレート部を前記第2電池セルの負極端子にプロジェクション溶接する工程と、
を有し、前記直列接続された第1電池セル及び第2電池セルは、直線状に配列される、作製方法。
【請求項3】
前記溶接プレート部は、前記第2電池セルの前記負極端子と対向する面に、前記溶接プレート部と前記第2電池セルの負極端子とのプロジェクション溶接により前記負極端子に固着される少なくとも2つの突起部を有する、請求項2記載の作製方法。
発明の詳細な説明
【技術分野】
【0001】
本発明は、組電池及びその作製方法に関し、特に、電池セルを直線状に配列して電気的に直列接続された組電池とその作製方法とに関する。
続きを表示(約 2,000 文字)
【背景技術】
【0002】
従来、組電池において、2つの円筒形電池セルを直線状に直列接続するためには、以下に記載する方法が取られている。円筒形電池セルを直線状に直列接続するとは、電気的に直列接続された2つの電池セルを、一方の電池セルの中心軸と、他方の電池セルの中心軸とが一直線になるように一方及び他方の電池セルを配列させる構成である。
【0003】
最初に、2つの電池セルが、一方の電池セルの正極端子に対し他方の電池セルの負極端子が中心軸とほぼ直交する方向において互いに近接するように、並列に配置される。次に、一方側に位置する2つ電池セルの正極端子と負極端子とを電池タブによりシリーズ溶接して、2つの電池セルを電気的に直列接続する。その後、電池タブを中間部で折り曲げて直線状に配列する。
【発明の概要】
【発明が解決しようとする課題】
【0004】
従来の組電池では、シリーズ溶接された電池タブを折り曲げて電池セルの配列を並列から直線状に変更していた。このため、円筒形電池セルを中心軸方向に沿って直線状に配列させるとき、中心軸方向に隣り合う電池セルの中心軸同士の位置合わせが難しく、位置ずれの原因となっていた。
【0005】
そこで、本発明の目的は、直列接続される電池セルが容易に直線状に配列される組電池と、係る組電池を作製する作製方法とを提供することである。
【課題を解決するための手段】
【0006】
上記目的を達成するため、本発明の組電池は、各々が導電性且つ筒状の外装管を有し、直線状に配列され且つ電気的に直列接続された第1及び第2電池セルを有する組電池であって、前記第1電池セルの正極端子と前記第2電池セルの負極端子との間に配置されて前記第1電池セルと前記第2電池セルとを電気的に接続する電池タブを有し、前記電池タブは、前記第1電池セルと前記第2電池セルとの間に位置する溶接プレート部と、前記溶接プレート部に連続して前記第1電池セルまたは前記第2電池セルの径方向外側に位置する通電プレート部とを有し、前記溶接プレート部は、前記第2電池セルの前記負極端子と対向する面に、前記電池タブと前記第2電池セルの負極端子とのプロジェクション溶接により前記負極端子に固着される少なくとも2つの突起部を有することを特徴とする。
【0007】
さらに、本発明の作製方法は、各々が筒状の外装管を有する第1及び第2電池セルを直線状に配列し且つ電気的に直列接続された組電池を作製する作製方法であって、電池タブを前記第1電池セルの正極端子に溶接する工程であって、前記電池タブは、前記第1電池セルの正極端子に固定される溶接プレート部と、前記溶接プレート部に連続して前記第1電池セルの径方向外側に位置する通電プレート部とを有し、前記溶接プレート部を前記正極端子にスポット溶接する工程と、前記第1電池セルに溶接された前記電池タブの溶接プレート部に、前記第2電池セルの負極端子を接触させて、前記第1電池セルに対して前記第2電池セルを一直線状に位置合わせする工程と、一直線状に位置合わせされた前記第1電池セル及び前記第2電池セルに対し、前記通電プレート部と前記第1電池セル及び前記第2電池セルの外装管との間に絶縁体を介在させた状態で、前記溶接プレート部を前記第2電池セルの負極端子にプロジェクション溶接する工程と、を有し、前記直列接続された第1電池セル及び第2電池セルは、直線状に配列される、ことを特徴とする。
【発明の効果】
【0008】
本発明によれば、第1電池セルの正極端子に固定された電池タブに、第2電池セルの陰極端子をプロジェクション溶接することにより、直列接続された第1電池セル及び第2電池セルの中心軸同士を精度良く直線状に配列することができる。
【図面の簡単な説明】
【0009】
一実施の形態に係る組電池の斜視図である。
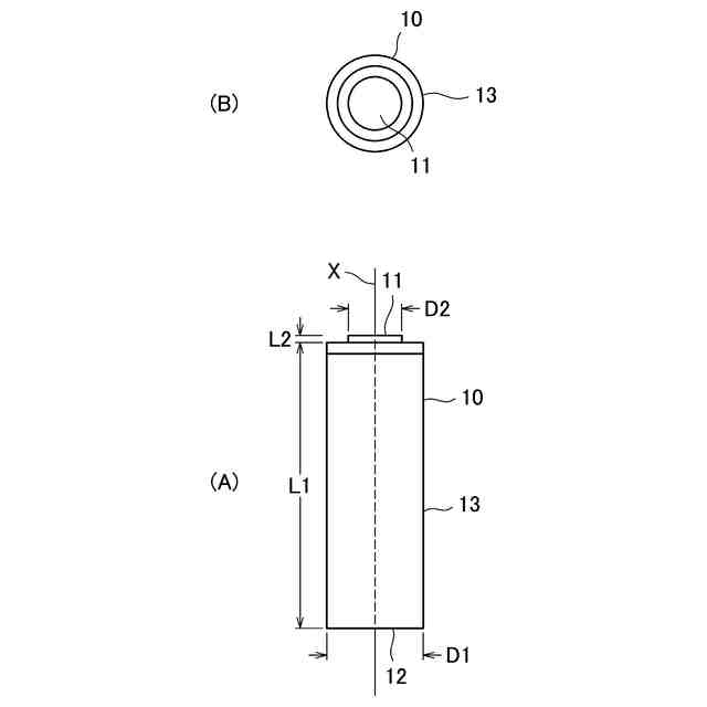
図1に示す組電池に含まれる電池セルであって、(A)は正面図、(B)は平面図を示す。
図1に示す組電池に含まれる電池タブであって、(A)は斜視図、(B)は平面図、(C)は側面図、(D)は正面図を示す。
電池タブに形成された突起を示し、図3に点線にて囲まれた領域IVの拡大図である。
(A)は、第1電池セルに電池セルをスポット溶接する工程を示し、(B)は第1電池セルに固着された電池タブに第2電池セルをプロジェクション溶接する工程を示す図である。
【発明を実施するための形態】
【0010】
実施の形態について図面を参照しながら以下に説明する。
(【0011】以降は省略されています)
特許ウォッチbot のツイートを見る
この特許をJ-PlatPat(特許庁公式サイト)で参照する
関連特許
東ソー株式会社
絶縁電線
19日前
APB株式会社
蓄電セル
17日前
個人
フレキシブル電気化学素子
1か月前
株式会社ユーシン
操作装置
1か月前
ローム株式会社
半導体装置
1か月前
マクセル株式会社
電源装置
11日前
株式会社東芝
端子台
11日前
日新イオン機器株式会社
イオン源
27日前
ローム株式会社
半導体装置
18日前
株式会社ホロン
冷陰極電子源
25日前
株式会社GSユアサ
蓄電装置
4日前
株式会社GSユアサ
蓄電装置
12日前
株式会社GSユアサ
蓄電装置
12日前
太陽誘電株式会社
コイル部品
1か月前
株式会社GSユアサ
蓄電設備
1か月前
株式会社GSユアサ
蓄電設備
1か月前
オムロン株式会社
電磁継電器
1か月前
ノリタケ株式会社
熱伝導シート
1か月前
トヨタ自動車株式会社
冷却構造
19日前
日新イオン機器株式会社
基板処理装置
14日前
日本特殊陶業株式会社
保持装置
20日前
サクサ株式会社
電池の固定構造
1か月前
トヨタ自動車株式会社
バッテリ
1か月前
日本特殊陶業株式会社
保持装置
3日前
トヨタ自動車株式会社
蓄電装置
1か月前
トヨタ自動車株式会社
蓄電装置
12日前
日東電工株式会社
積層体
1か月前
北道電設株式会社
配電具カバー
17日前
トヨタ自動車株式会社
バッテリ
17日前
古河電気工業株式会社
端子
1か月前
株式会社ダイヘン
搬送装置
1か月前
東レエンジニアリング株式会社
実装装置
1か月前
株式会社トクヤマ
シリコンエッチング液
25日前
トヨタ自動車株式会社
密閉型電池
13日前
日亜化学工業株式会社
半導体レーザ素子
14日前
日本製紙株式会社
導電性フィルム
1か月前
続きを見る
他の特許を見る