TOP
|
特許
|
意匠
|
商標
特許ウォッチ
Twitter
他の特許を見る
公開番号
2025177163
公報種別
公開特許公報(A)
公開日
2025-12-05
出願番号
2024083744
出願日
2024-05-23
発明の名称
アルカリ蓄電池
出願人
FDK株式会社
代理人
弁理士法人酒井国際特許事務所
主分類
H01M
10/28 20060101AFI20251128BHJP(基本的電気素子)
要約
【課題】電池性能を向上させるアルカリ蓄電池を提供する。
【解決手段】正極板及び負極板は、重ね合わされて巻回される。第1セパレータは、第1の親水化処理が施され、電解液を含液し、前記正極板と前記負極板との間であって前記正極板の渦巻きの中心とは逆側に配置される。第2セパレータは、第1の親水化処理とは異なる第2の親水化処理が施され、前記第1セパレータの含液量との大小比率が83%以上となる含液量の電解液を含液し、前記正極板と前記負極板との間であって前記正極板の渦巻きの中心側に配置される。
【選択図】図1
特許請求の範囲
【請求項1】
重ね合わされて巻回された正極板及び負極板と、
第1の親水化処理が施され、電解液を含液し、前記正極板と前記負極板との間であって前記正極板の渦巻きの中心とは逆側に配置される第1セパレータと、
前記第1の親水化処理とは異なる第2の親水化処理が施され、前記第1セパレータの含液量との大小比率が83%以上となる含液量の電解液を含液し、前記正極板と前記負極板との間であって前記正極板の渦巻きの中心側に配置される第2セパレータと
を有することを特徴とするアルカリ蓄電池。
続きを表示(約 320 文字)
【請求項2】
前記第1の親水化処理は、フッ素処理、スルフォン化処理、プラズマ処理、界面活性剤処理又はグラフと重合処理のいずれかの処理であり、
前記第2の親水化処理は、フッ素処理、スルフォン化処理、プラズマ処理、界面活性剤処理又はグラフと重合処理のうち、前記第1の親水化処理以外の処理である
ことを特徴とする請求項1に記載のアルカリ蓄電池。
【請求項3】
前記第1の親水化処理は、フッ素処理であり、
前記第2の親水化処理は、スルフォン化処理であり、
前記第2セパレータの含液量は、前記第1セパレータの含液量の83%以上である
ことを特徴とする請求項1に記載のアルカリ蓄電池。
発明の詳細な説明
【技術分野】
【0001】
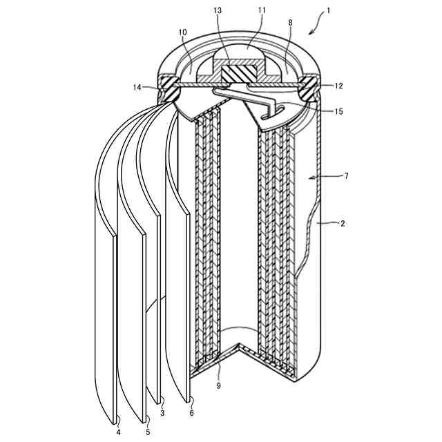
本発明は、アルカリ蓄電池に関する。
続きを表示(約 1,300 文字)
【背景技術】
【0002】
アルカリ蓄電池には、ニッケル水素蓄電池や、ニッケルカドミウム蓄電池等が存在する。アルカリ蓄電池では、正極板と負極板との間にセパレータが設けられる。セパレータは、アルカリ電解液との親水性を向上させるために親水化処理が施される。
【0003】
親水化処理には、フッ素ガス処理、スルフォン化処理、コロナ放電処理及びグラフト重合処理等の様々な種類が存在する。スルフォン化処理により、スルフォン基が導入されたセパレータは、自己放電の抑制及び容量保存特性の向上に寄与する。しかし、スルフォン化処理が行われたセパレータには、機械的強度の低下や保液性が低いといった特徴がある。
【0004】
そこで、アルカリ蓄電池の性能をより向上させるために、他の種類の親水化処理を施したセパレータをスルフォン化処理が行われたセパレータとともに使用する構成が提案されている。このように、アルカリ蓄電池において、異なる2種類の親水化処理を加えた2種類のセパレータを使用することで、特性、品質、安全性を調整することが可能となる。
【0005】
なお、アルカリ蓄電池では、漏液を抑える目的や容量を高めることを目的として、セパレータに含有させるアルカリ電解液を少なくすることがある。
【0006】
従来、蓄電池に関する技術として、正極と対向しない巻始め部分のセパレータを超音波でフィルム化することで、他の部分の含液量を増加させる技術が提案されている。また、2種類のセパレータを超音波溶着で繋ぎ併せて、保液性の低いセパレータの使用量を最低限に抑える技術が提案されている。
【先行技術文献】
【特許文献】
【0007】
特開2011-20439号公報
特開2015-69887号公報
【発明の概要】
【発明が解決しようとする課題】
【0008】
しかしながら、2種類のセパレータのアルカリ電解液の含液量に差が有ると、特にアルカリ電解液が少ない設計の場合、保液性が良好なセパレータがもう一方のセパレータが保持するアルカリ電解液を吸収し、内部抵抗が上がり易い。内部抵抗が高くなると、高い電圧で取り出すことができる容量が少なくなり、電池を使用する機器の動作が不安定となる。
【0009】
また、巻始め部分のセパレータを超音波でフィルム化することで、他の部分の含液量を増加させる技術では、2種類のセパレータを使用する構成ではなく、それらの含液量の差による内部抵抗の上昇を抑えることは難しく、電池性能を向上させることは困難である。また、2種類のセパレータを超音波溶着で繋ぎ併せて保液性の低いセパレータの使用量を抑える技術では、種類の異なるセパレータの電解液の含液量は考慮されておらず、内部抵抗の上昇を抑えることは難しく、電池性能を向上させることは困難である。
【0010】
開示の技術は、上記に鑑みてなされたものであって、電池性能を向上させるアルカリ蓄電池を提供することを目的とする。
【課題を解決するための手段】
(【0011】以降は省略されています)
この特許をJ-PlatPat(特許庁公式サイト)で参照する
関連特許
FDK株式会社
電池
18日前
FDK株式会社
電池
1か月前
FDK株式会社
容量計測装置
1か月前
FDK株式会社
アルカリ蓄電池
3日前
FDK株式会社
電池製造方法および電池
3日前
FDK株式会社
組電池及びその作製方法
28日前
FDK株式会社
全固体電池及びその製造方法
2か月前
FDK株式会社
故障判定装置およびプログラム
1か月前
APB株式会社
蓄電セル
1か月前
東ソー株式会社
絶縁電線
1か月前
日機装株式会社
加圧装置
3日前
日新イオン機器株式会社
イオン源
3日前
ローム株式会社
半導体装置
1か月前
株式会社東芝
端子台
1か月前
マクセル株式会社
電源装置
1か月前
株式会社GSユアサ
蓄電装置
1か月前
株式会社ホロン
冷陰極電子源
1か月前
株式会社GSユアサ
蓄電装置
18日前
富士電機株式会社
電磁接触器
18日前
三菱電機株式会社
回路遮断器
26日前
株式会社GSユアサ
蓄電装置
1か月前
株式会社GSユアサ
蓄電装置
1か月前
日本特殊陶業株式会社
保持装置
1か月前
北道電設株式会社
配電具カバー
1か月前
日新イオン機器株式会社
基板処理装置
1か月前
株式会社東芝
電子源
3日前
トヨタ自動車株式会社
蓄電装置
1か月前
トヨタ自動車株式会社
冷却構造
1か月前
トヨタ自動車株式会社
バッテリ
1か月前
株式会社トクミ
ケーブル
4日前
日本特殊陶業株式会社
保持装置
1か月前
個人
電源ボックス及び電子機器
3日前
大電株式会社
電線又はケーブル
10日前
ホシデン株式会社
複合コネクタ
12日前
トヨタ自動車株式会社
蓄電装置
10日前
ローム株式会社
半導体モジュール
19日前
続きを見る
他の特許を見る