TOP
|
特許
|
意匠
|
商標
特許ウォッチ
Twitter
他の特許を見る
公開番号
2025154653
公報種別
公開特許公報(A)
公開日
2025-10-10
出願番号
2024057769
出願日
2024-03-29
発明の名称
排気装置
出願人
本田技研工業株式会社
代理人
個人
,
個人
主分類
F01N
13/00 20100101AFI20251002BHJP(機械または機関一般;機関設備一般;蒸気機関)
要約
【課題】左右の排気管を連結する連通路の近傍に排気ガスセンサを配設しつつ、排気ガスの成分検知の精度を維持することができる排気装置を提供する。
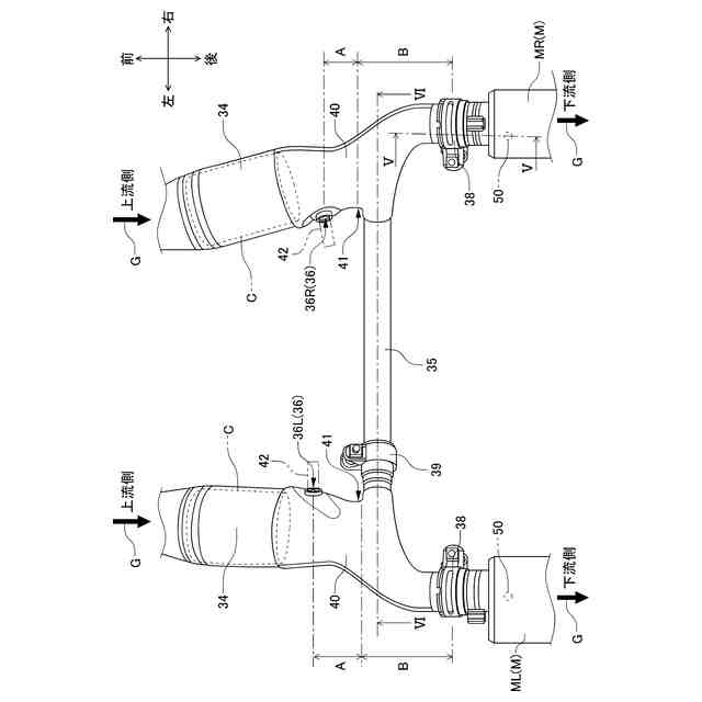
【解決手段】車両(1)のパワーユニット(P)に取り付けられて左右一対で後方に延びる排気管(T)と、車幅方向に延びて排気管(T)同士を接続する連通路(35)とを備えた排気装置(30)において、連通路(35)が排気管(T)の左右それぞれに収納される触媒装置(C)に対して、前記パワーユニット(P)の排気ガス(G)の流路方向の下流側に設けられており、触媒装置(C)と連通路(35)との間の位置の排気管(T)に、パワーユニット(P)の排気ガス(G)の成分検知を行う排気ガスセンサ(42)を配設する。排気ガスセンサ(42)を、排気管(T)の車幅方向内側寄りの位置に取り付けると共に、車両後面視で、連通路(35)と全体が重ならないように配設する。
【選択図】図4
特許請求の範囲
【請求項1】
車両(1)のパワーユニット(P)に取り付けられて左右一対で後方に延びる排気管(T)と、車幅方向に延びて前記排気管(T)同士を接続する連通路(35)とを備えた排気装置(30)において、
前記連通路(35)が、前記排気管(T)の左右それぞれに収納される触媒装置(C)に対して、前記パワーユニット(P)の排気ガス(G)の流路方向の下流側に設けられており、
前記触媒装置(C)と前記連通路(35)との間の位置の前記排気管(T)に、前記排気ガス(G)の成分検知を行う排気ガスセンサ(42)が配設されていることを特徴とする排気管構造。
続きを表示(約 380 文字)
【請求項2】
前記排気ガスセンサ(42)は、前記排気管(T)の車幅方向内側寄りの位置に取り付けられると共に、車両後面視で、前記連通路(35)と全体が重ならないように配設されていることを特徴とする請求項1に記載の排気装置。
【請求項3】
前記排気管(T)と前記連通路(35)との接続部(41)が、前記排気ガスセンサ(42)の取付部(36)より車幅方向外側に設けられていることを特徴とする請求項1または2に記載の排気装置。
【請求項4】
前記連通路(35)の後方に、前記排気ガス(G)を消音するマフラ(M)が係合する係合部(38)が設けられており、
前記接続部(41)から前記取付部(36)までの距離(A)より、前記接続部(41)から前記係合部(38)までの距離(B)の方が長いことを特徴とする請求項3に記載の排気装置。
発明の詳細な説明
【技術分野】
【0001】
本発明は、排気装置に係り、特に、左右一対の排気管のそれぞれの内部に触媒装置が配設された排気装置に関する。
続きを表示(約 1,200 文字)
【背景技術】
【0002】
従来から、左右一対の排気管のそれぞれの内部に触媒装置が配設された排気装置が知られている。
【0003】
特許文献1には、左右一対の排気管のそれぞれの内部に触媒装置が配設されると共に、左右の排気管を連結する連通路が設けられ、排気管と連通路とを接続する接続部の近傍に、排気ガスの成分検知を行う排気ガスセンサを取り付けた排気装置が開示されている。
【先行技術文献】
【特許文献】
【0004】
特開2016-156330号公報
【発明の概要】
【発明が解決しようとする課題】
【0005】
しかし、特許文献1の排気装置では、排気管と連通路との接続部の近傍に排気ガスセンサが取り付けられているため、連通路から逆流する排気ガスが排気ガスセンサに触れることで、排気ガスの成分検知の精度に影響を与える可能性があった。
【0006】
本発明の目的は、上記従来技術の課題を解決し、左右の排気管を連結する連通路の近傍に排気ガスセンサを配設しつつ、排気ガスの成分検知の精度を維持することができる排気装置を提供することにある。
【課題を解決するための手段】
【0007】
前記目的を達成するために、本発明は、車両(1)のパワーユニット(P)に取り付けられて左右一対で後方に延びる排気管(T)と、車幅方向に延びて前記排気管(T)同士を接続する連通路(35)とを備えた排気装置(30)において、前記連通路(35)が、前記排気管(T)の左右それぞれに収納される触媒装置(C)に対して、前記パワーユニット(P)の排気ガス(G)の流路方向の下流側に設けられており、前記触媒装置(C)と前記連通路(35)との間の位置の前記排気管(T)に、前記排気ガス(G)の成分検知を行う排気ガスセンサ(42)が配設されている点に第1の特徴がある。
【0008】
また、前記排気ガスセンサ(42)は、前記排気管(T)の車幅方向内側寄りの位置に取り付けられると共に、車両後面視で、前記連通路(35)と全体が重ならないように配設されている点に第2の特徴がある。
【0009】
また、前記排気管(T)と前記連通路(35)との接続部(41)が、前記排気ガスセンサ(42)の取付部(36)より車幅方向外側に設けられている点に第3の特徴がある。
【0010】
さらに、前記連通路(35)の後方に、前記排気ガス(G)を消音するマフラ(M)が係合する係合部(38)が設けられており、前記接続部(41)から前記取付部(36)までの距離(A)より、前記接続部(41)から前記係合部(38)までの距離(B)の方が長い点に第4の特徴がある。
【発明の効果】
(【0011】以降は省略されています)
この特許をJ-PlatPat(特許庁公式サイト)で参照する
関連特許
本田技研工業株式会社
車両
1か月前
本田技研工業株式会社
冷却液タンク
4日前
本田技研工業株式会社
蓄電システム
6日前
本田技研工業株式会社
差圧式電解装置
1か月前
本田技研工業株式会社
スポット溶接方法
26日前
本田技研工業株式会社
駆動装置ユニット
1か月前
本田技研工業株式会社
回転電機用ロータ
13日前
本田技研工業株式会社
電動無段変速装置
1か月前
本田技研工業株式会社
回転電機のロータ
1か月前
本田技研工業株式会社
非接触電力伝送システム
6日前
本田技研工業株式会社
金属シリコンの製造方法
13日前
本田技研工業株式会社
電力変換装置、および車両
5日前
本田技研工業株式会社
積層体、積層体の製造方法
5日前
本田技研工業株式会社
制御装置、および、制御方法
26日前
本田技研工業株式会社
情報処理方法及びプログラム
25日前
本田技研工業株式会社
正極、固体電池及び固体電池の製造方法
1か月前
本田技研工業株式会社
二酸化炭素回収装置及び二酸化炭素回収方法
1か月前
本田技研工業株式会社
情報処理装置、情報処理方法、およびプログラム
25日前
本田技研工業株式会社
制御装置
27日前
本田技研工業株式会社
作動装置
25日前
本田技研工業株式会社
移動体の制御装置、移動体の制御方法、およびプログラム
20日前
本田技研工業株式会社
学習装置、推定装置、学習方法、推定方法及びプログラム
1か月前
本田技研工業株式会社
車両、制御方法、プログラム、記憶媒体、及び情報処理装置
25日前
本田技研工業株式会社
電池の充電状態の補正方法、電池均等化方法、端末機器及び車両
12日前
本田技研工業株式会社
移動体支援装置および移動体システム
1か月前
本田技研工業株式会社
熱媒体組み合わせ最適化装置、熱媒体組み合わせ最適化方法、および、熱媒体組み合わせ最適化プログラム
13日前
株式会社豊田自動織機
エンジン式産業車両
1か月前
スズキ株式会社
内燃機関の制御装置
4日前
株式会社SUBARU
排気浄化装置
4日前
トヨタ自動車株式会社
計測システム
1か月前
トヨタ自動車株式会社
エンジン
4日前
トヨタ自動車株式会社
エンジン
13日前
本田技研工業株式会社
排気装置
1か月前
トヨタ自動車株式会社
エンジン
12日前
本田技研工業株式会社
排気装置
1か月前
株式会社三五
ハイブリッド車の排気システム
13日前
続きを見る
他の特許を見る