TOP
|
特許
|
意匠
|
商標
特許ウォッチ
Twitter
他の特許を見る
10個以上の画像は省略されています。
公開番号
2025168322
公報種別
公開特許公報(A)
公開日
2025-11-07
出願番号
2025072905
出願日
2025-04-25
発明の名称
車両、制御方法、プログラム、記憶媒体、及び情報処理装置
出願人
本田技研工業株式会社
代理人
弁理士法人航栄事務所
主分類
B62M
6/45 20100101AFI20251030BHJP(鉄道以外の路面車両)
要約
【課題】電動機による入力部に入力される動力への補助を、乗員の意思に基づいて適切に設定できる車両、制御方法、プログラム、記憶媒体、及び情報処理装置を提供する。
【解決手段】電動自転車10は、クランクペダル76と、クランクペダル76に入力された第1動力が伝達される後輪RWと、出力した第2動力が後輪RWに伝達されるモータMと、モータMを制御する制御回路40と、を備える。制御回路40は、第1動力に対して所定の相関関係で相関する第2動力がモータMから出力されるようモータMを制御するよう設けられる。電動自転車10は、所定の相関関係の相関度合いについての乗員からの要求又は指示の入力を受ける入力レバー90をさらに備える。
【選択図】図7
特許請求の範囲
【請求項1】
乗員の脚部からの入力を受ける入力部と、
前記入力部に入力された第1動力が伝達される車輪と、
出力した第2動力が前記車輪又は前記車輪とは異なる他の車輪に伝達される電動機と、
前記電動機を制御する制御部と、を備える車両であって、
前記制御部は、前記第1動力に対して所定の相関関係で相関する前記第2動力が前記電動機から出力されるよう前記電動機を制御するよう設けられ、
該車両は、前記所定の相関関係の相関度合いについての前記乗員からの要求又は指示の入力を受ける受付部をさらに備える、
車両。
続きを表示(約 1,200 文字)
【請求項2】
請求項1に記載の車両であって、
前記所定の相関関係は、比例関係であって、
前記制御部は、前記第1動力に対して比例する前記第2動力が前記電動機から出力されるよう設けられる、
車両。
【請求項3】
請求項2に記載の車両であって、
前記受付部は、前記比例関係の比例度合いについての前記乗員からの要求又は指示の入力を受けるよう設けられる、
車両。
【請求項4】
請求項1から3のいずれか1項に記載の車両であって、
前記受付部は、第1の位置と第2の位置との範囲を往復動することができるよう設けられる、
車両。
【請求項5】
請求項4に記載の車両であって、
前記受付部は、前記第1の位置と前記第2の位置との前記範囲の間において、無段階に位置することができるよう設けられる、
車両。
【請求項6】
請求項4に記載の車両であって、
前記制御部は、前記受付部が前記第2の位置に位置するときに、前記第1の位置に位置するときよりも前記第1動力に対する前記所定の相関関係の前記相関度合いが大きい前記第2動力が前記電動機から出力されるよう設けられ、
前記受付部は、前記第2の位置から前記第1の位置の方向に付勢されるよう設けられる、
車両。
【請求項7】
請求項6に記載の車両であって、
前記制御部は、前記受付部が前記第1の位置に位置するときに、前記所定の相関関係の前記相関度合いがゼロとなり、前記入力部にゼロではない前記第1動力が入力されていても前記電動機から前記第2動力が出力されないよう設けられる、
車両。
【請求項8】
請求項6に記載の車両であって、
前記制御部は、前記受付部が前記第2の位置に位置するときに、前記所定の相関関係の前記相関度合いが、前記車両が走行する走行路における法規に定められる最大量に基づいて定められる設定量となる前記第2動力が前記電動機から出力されるよう設けられる、
車両。
【請求項9】
請求項8に記載の車両であって、
前記制御部は、前記受付部が前記第2の位置に位置するときに、前記第1動力に対する前記所定の相関関係の前記相関度合いが、前記走行路における前記法規に定められる前記最大量となる前記第2動力が前記電動機から出力されるよう設けられる、
車両。
【請求項10】
請求項1から3のいずれか1項に記載の車両であって、
前記制御部は、前記受付部への入力に基づいて、前記第2動力の応答性、又は、前記第2動力が変化するときの応答性がさらに決定されるよう前記電動機を制御するよう設けられる、
車両。
(【請求項11】以降は省略されています)
発明の詳細な説明
【技術分野】
【0001】
本発明は、車両、制御方法、プログラム、記憶媒体、及び情報処理装置に関する。
続きを表示(約 1,800 文字)
【背景技術】
【0002】
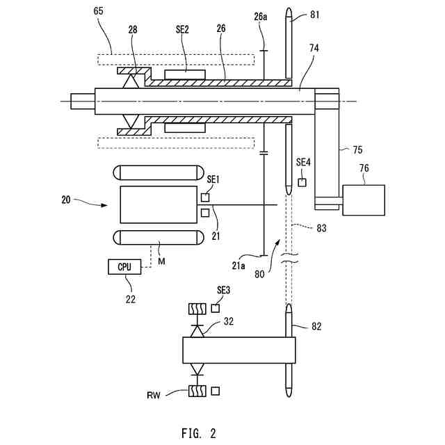
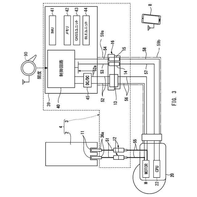
従来から、クランクペダルに入力された踏力をモータの動力でアシストする電動アシスト自転車が知られている。例えば、特許文献1には、アシスト装置(動力ユニット、制御回路、バッテリ)が取り付けられた電動自転車が開示されており、バッテリからの電力が動力ユニットのモータに供給されて、モータから動力が出力される。
【先行技術文献】
【特許文献】
【0003】
国際公開第2023/171800号
【発明の概要】
【発明が解決しようとする課題】
【0004】
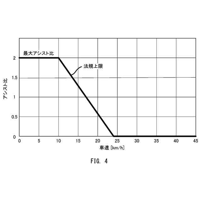
特許文献1のような電動アシスト自転車においては、車両状態や走行環境等に応じて、モータによる補助の度合いを乗員の意思に基づいて適切に設定できる技術が要望されている。
【0005】
本発明は、電動機による入力部に入力される動力への補助を、乗員の意思に基づいて適切に設定できる車両、制御方法、プログラム、記憶媒体、及び情報処理装置を提供する。
【課題を解決するための手段】
【0006】
本発明は、
乗員の脚部からの入力を受ける入力部と、
前記入力部に入力された第1動力が伝達される車輪と、
出力した第2動力が前記車輪又は前記車輪とは異なる他の車輪に伝達される電動機と、
前記電動機を制御する制御部と、を備える車両であって、
前記制御部は、前記第1動力に対して所定の相関関係で相関する前記第2動力が前記電動機から出力されるよう前記電動機を制御するよう設けられ、
該車両は、前記所定の相関関係の相関度合いについての前記乗員からの要求又は指示の入力を受ける受付部をさらに備える。
【0007】
また、本発明は、
乗員の脚部からの入力を受ける入力部と、
前記入力部に入力された第1動力が伝達される車輪と、
出力した第2動力が前記車輪又は前記車輪とは異なる他の車輪に伝達される電動機と、を備える車両の前記電動機を制御する制御方法であって、
前記第1動力と前記第2動力との間の所定の相関関係の相関度合いについての、前記乗員からの要求又は指示を受け付けるステップと、
前記相関度合いについての前記要求又は前記指示に基づいて、前記第1動力に対して前記所定の相関関係で相関する前記第2動力が前記電動機から出力されるよう前記電動機を制御するステップと、を有する。
【0008】
また、本発明は、
乗員の脚部からの入力を受ける入力部と、
前記入力部に入力された第1動力が伝達される車輪と、
出力した第2動力が前記車輪又は前記車輪とは異なる他の車輪に伝達される電動機と、を備える車両の前記電動機を制御するプログラムであって、
前記第1動力と前記第2動力との間の所定の相関関係の相関度合いについての、前記乗員からの要求又は指示を受け付けるステップと、
前記相関度合いについての前記要求又は前記指示に基づいて、前記第1動力に対して前記所定の相関関係で相関する前記第2動力が前記電動機から出力されるよう前記電動機を制御するステップと、をコンピュータに実行させる。
【0009】
また、本発明は、
前述したプログラムを記憶したコンピュータが読み取り可能な記憶媒体である。
【0010】
また、本発明は、
乗員の脚部からの入力を受ける入力部と、
前記入力部に入力された第1動力が伝達される車輪と、
出力した第2動力が前記車輪又は前記車輪とは異なる他の車輪に伝達される電動機と、を備える車両の前記電動機を制御する情報処理装置であって、
前記第1動力と前記第2動力との間の所定の相関関係の相関度合いについての、前記乗員からの要求又は指示の入力を受ける受付部と、
前記受付部が受け付けた前記相関度合いについての前記要求又は前記指示に基づいて、前記第1動力に対して前記所定の相関関係で相関する前記第2動力が前記電動機から出力されるよう前記電動機を制御する制御部と、を備える。
【発明の効果】
(【0011】以降は省略されています)
この特許をJ-PlatPat(特許庁公式サイト)で参照する
関連特許
本田技研工業株式会社
飛行体
4日前
本田技研工業株式会社
電解装置
今日
本田技研工業株式会社
回転電機
6日前
本田技研工業株式会社
灯火器構造
4日前
本田技研工業株式会社
冷却液タンク
11日前
本田技研工業株式会社
加水分解処理装置
4日前
本田技研工業株式会社
水素同位体分離システム
4日前
本田技研工業株式会社
積層体、積層体の製造方法
12日前
本田技研工業株式会社
軟磁性鋼板およびその製造方法
4日前
本田技研工業株式会社
有機物処理装置および有機物処理方法
4日前
本田技研工業株式会社
有機物処理装置および有機物処理方法
4日前
本田技研工業株式会社
電解システムの制御装置および電解システム
5日前
本田技研工業株式会社
音声認識装置、音声認識方法、及びプログラム
6日前
本田技研工業株式会社
三次元モデル生成装置及び三次元モデル評価システム
4日前
株式会社ダイセル
アルミニウム合金製摺動部材用潤滑剤
4日前
本田技研工業株式会社
有機物処理装置、有機物処理方法、および燃料ガスの製造方法
4日前
タイガースポリマー株式会社
二次電池用加圧袋およびその製造方法
4日前
個人
カート
5か月前
個人
走行装置
5か月前
個人
三輪バイク
1か月前
個人
台車
19日前
個人
乗り物
7か月前
個人
電動走行車両
5か月前
個人
自転車用歩数計
1か月前
個人
閂式ハンドル錠
5か月前
個人
発音装置
9か月前
個人
電動モビリティ
9か月前
個人
駐輪設備
3か月前
個人
ボギー・フレーム
3か月前
個人
“zen-go.”
4か月前
個人
自由方向乗車自転車
9か月前
個人
ルーフ付きトライク
3か月前
個人
三輪電動車両
1か月前
個人
自転車前輪固定装置
今日
個人
ルーフ付きトライク
4か月前
個人
車の室内高温防止屋根
1か月前
続きを見る
他の特許を見る