TOP
|
特許
|
意匠
|
商標
特許ウォッチ
Twitter
他の特許を見る
公開番号
2025152042
公報種別
公開特許公報(A)
公開日
2025-10-09
出願番号
2024053749
出願日
2024-03-28
発明の名称
V型エンジン
出願人
本田技研工業株式会社
代理人
弁理士法人クシブチ国際特許事務所
主分類
F02F
1/00 20060101AFI20251002BHJP(燃焼機関;熱ガスまたは燃焼生成物を利用する機関設備)
要約
【課題】V型エンジンをコンパクト化すること。
【解決手段】クランクピン10d上で隣り合う前後の気筒のコンロッド大端部17aが、クランクウェブ10cを介して隣り合うクランク軸10を有し、前後のシリンダ12F,12Rのエンジン側方の一方に、それぞれカムチェーン67,68が設けられ、各カムチェーン67,68を駆動するカムチェーンドライブスプロケット65,66は、エンジン側方に、同軸に配置されたカムチェーンドライブギア64で駆動され、カムチェーンドライブギア64は、アイドラー被駆動ギア63によって駆動され、アイドラー被駆動ギア63は、クランク軸10のタイミングギア61と噛み合うアイドラー駆動ギア62によって駆動されるV型エンジンにおいて、各ドライブスプロケット65,66の少なくとも一方は、クランクウェイト10e又はコンロッド大端部17aと、エンジン上下方向に重なる位置に配置される。
【選択図】図3
特許請求の範囲
【請求項1】
クランクピン(10d)上で隣り合う前後の気筒のコンロッド大端部(17a)が、クランクウェブ(10c)を介して隣り合うクランク軸(10)を有し、
前後のシリンダ(12F,12R)のエンジン側方の一方に、それぞれカムチェーン(67,68)が設けられ、
各カムチェーン(67,68)を駆動するカムチェーンドライブスプロケット(65,66)は、エンジン側方に、同軸に配置されたカムチェーンドライブギア(64)で駆動され、
前記カムチェーンドライブギア(64)は、アイドラー被駆動ギア(63)によって駆動され、前記アイドラー被駆動ギア(63)は、前記クランク軸(10)のタイミングギア(61)と噛み合うアイドラー駆動ギア(62)によって駆動されるV型エンジンにおいて、
前記カムチェーンドライブスプロケット(65,66)の少なくとも一方は、クランクウェイト(10e)又は前記コンロッド大端部(17a)と、エンジン上下方向に重なる位置に配置される
V型エンジン。
続きを表示(約 880 文字)
【請求項2】
前記アイドラー駆動ギア(62)と前記アイドラー被駆動ギア(63)は、同期して回転するとともに、前記アイドラー駆動ギア(62)と前記アイドラー被駆動ギア(63)を支持するアイドラーギア支持軸(31)とは相対回転し、
前記アイドラーギア支持軸(31)は、当該エンジンのクランクケース(11)に固定される
請求項1に記載のV型エンジン。
【請求項3】
前記アイドラー駆動ギア(62)には、バックラッシュ吸収機構(62s)が設けられる
請求項2に記載のV型エンジン。
【請求項4】
前記アイドラーギア支持軸(31)は、有底の中空状であり、底部を前記クランクケース(11)に当接して前記クランクケース(11)に固定されるとともに、内部から前記アイドラー駆動ギア(62)及び前記アイドラー被駆動ギア(63)の少なくともいずれかへ給油する給油孔(31h)を備える
請求項2に記載のV型エンジン。
【請求項5】
前記アイドラーギア支持軸(31)は、エンジン側面視で、前記クランク軸(10)と、前記クランク軸(10)と平行に設けられるメイン軸(21)との間に配置される
請求項2に記載のV型エンジン。
【請求項6】
前記クランク軸(10)の回転を当該エンジンのメイン軸(21)に伝達するプライマリドライブギア(41)を有し、
前記プライマリドライブギア(41)は、前記アイドラー被駆動ギア(63)よりもエンジン内側に配置される
請求項1に記載のV型エンジン。
【請求項7】
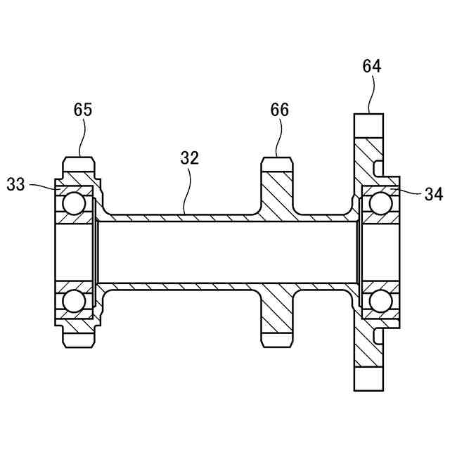
前記カムチェーンドライブスプロケット(65,66)と前記カムチェーンドライブギア(64)は、同軸かつ一体に設けられ、この一体の部材の両端に軸受(33,34)が圧入され、前記クランクケース(11)側の前記軸受(33)が圧入される部分の外周に、前記カムチェーンドライブスプロケット(65)が形成されている
請求項1に記載のV型エンジン。
発明の詳細な説明
【技術分野】
【0001】
本発明は、V型エンジンに関する。
続きを表示(約 2,300 文字)
【背景技術】
【0002】
前後のシリンダを備えるV型エンジンが知られている。V型エンジンには、前後のシリンダのエンジン側方の一方に、それぞれカムチェーンが設けられ、クランク軸の回転を、アイドラーギア支持軸に設けられたギア群を介してカム駆動スプロケットに伝達し、カム駆動スプロケットによりカムチェーンを駆動する構成がある(例えば、特許文献1参照)。
【先行技術文献】
【特許文献】
【0003】
特開2018-168818号公報
【発明の概要】
【発明が解決しようとする課題】
【0004】
クランクピンが前後2気筒で同位相の場合、コンロッド大端部が隣り合うため、カムチェーンドライブスプロケットのクランク軸方向のオフセット量は小さい。これに対し、前後の気筒で位相が異なる場合、すなわち、クランクピン上で隣り合う前後の気筒のコンロッド大端部が、クランクウェブを介して隣り合う構成の場合、前後のシリンダのクランク軸方向のオフセット量が大きくなり、カムチェーンドライブスプロケット及びカムチェーンがエンジン外側に突出し、シリンダヘッドの大型化を招くことが想定される。
本発明は、上述した事情に鑑みてなされたものであり、V型エンジンをコンパクト化することを目的とする。
【課題を解決するための手段】
【0005】
クランクピン上で隣り合う前後の気筒のコンロッド大端部が、クランクウェブを介して隣り合うクランク軸を有し、前後のシリンダのエンジン側方の一方に、それぞれカムチェーンが設けられ、各カムチェーンを駆動するカムチェーンドライブスプロケットは、エンジン側方に、同軸に配置されたカムチェーンドライブギアで駆動され、前記カムチェーンドライブギアは、アイドラー被駆動ギアによって駆動され、前記アイドラー被駆動ギアは、前記クランク軸のドライブギアと噛み合うアイドラー駆動ギアによって駆動されるV型エンジンにおいて、前記カムチェーンドライブスプロケットの少なくとも一方は、クランクウェイト又は前記コンロッド大端部とエンジン上下方向に重なる位置に配置されるV型エンジンを提供する。
【発明の効果】
【0006】
本発明によれば、V型エンジンをコンパクト化することができる。
【図面の簡単な説明】
【0007】
本発明の実施形態に係るエンジンの斜視図である。
エンジンをクランク軸、メイン軸及び前気筒を通る面で切断した断面図である。
アイドラーギア支持軸及びカムチェーン駆動軸の周辺構造を示す図である。
クランク軸の断面をアイドラーギア支持軸等と共に示す斜視図である。
アイドラーギア支持軸の断面をクランク軸等と共に示す斜視図である。
アイドラーギア支持軸を周辺構成と共に示す斜視図である。
カムチェーン駆動軸を周辺構成と共に示す図である。
【発明を実施するための形態】
【0008】
以下、図面を参照して本発明の実施の形態について説明する。なお、説明中、前後左右および上下といった方向の記載は、特に記載がなければ車体に対する方向と同一とする。また、各図に示す符号FRは車体前方を示し、符号UPは車体上方を示し、符号LHは車体左方を示す。
【0009】
[実施の形態]
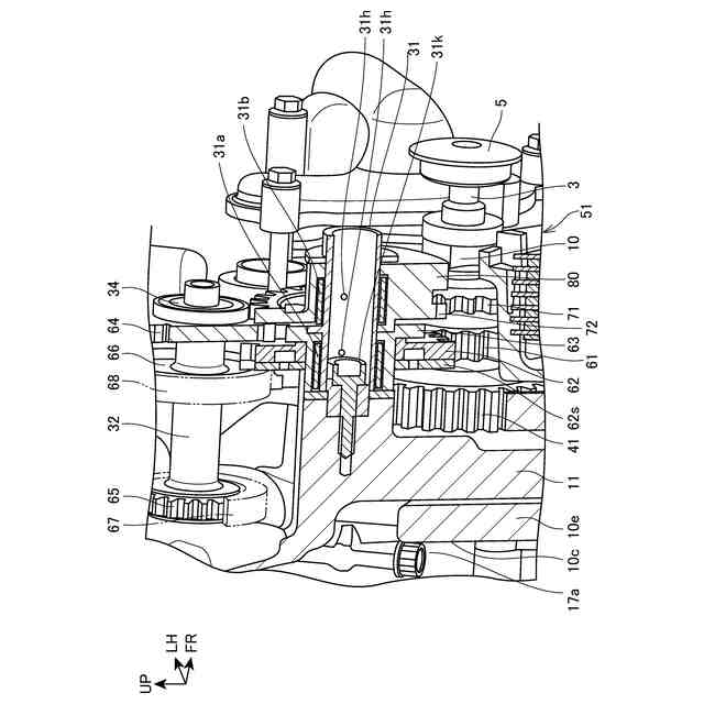
図1は、本発明の実施形態に係るエンジン1の斜視図である。図1に示すエンジン1は、このエンジン1を右側から覆うクランクケースカバー2を取り外した状態を示している。
エンジン1は、自動二輪車に搭載されるV型エンジンであり、内燃機関、及びパワーユニットということもできる。エンジン1は、クランク軸10を回転自在に支持するクランクケース11と、クランクケース11の上部から前傾して前上方に延びる前気筒(第1バンクとも称される)のシリンダ12Fと、クランクケース11の上部から後傾して後上方に延びる後気筒(第2バンクとも称される)のシリンダ12Rと、を備える。
各シリンダ12F,12Rは、シリンダブロック12aと、シリンダブロック12aの上面に連結されるシリンダヘッド12bと、シリンダヘッド12bの上面を塞ぐ不図示のヘッドカバーを備え、シリンダヘッド12bとヘッドカバーの間に動弁機構13が配置される。
【0010】
クランクケース11は、クランク軸10及び周辺構造を支持する中空ケースに形成され、左右分割式である。但し、クランクケース11は、エンジン1の仕様等に応じて適宜に形状や構造を変更してもよい。
クランクケース11には、車幅方向に沿わせてクランク軸10が回転自在に支持される。また、クランクケース11には、クランク軸10の後下方に、メイン軸21が回転自在に支持され、クランク軸12及びメイン軸21よりも下方にカウンタ軸22が回転自在に支持される。さらに、クランクケース11には、クランク軸10の後上方、かつクランクケース11右側に、アイドラーギア支持軸31が回転自在に支持され、アイドラーギア支持軸31の上方、かつクランクケース11右側に、カムチェーン駆動軸32が回転自在に支持される。クランク軸10、メイン軸21、カウンタ軸22、アイドラーギア支持軸31、及びカムチェーン駆動軸32は互いに平行である。
(【0011】以降は省略されています)
この特許をJ-PlatPat(特許庁公式サイト)で参照する
関連特許
本田技研工業株式会社
車両
25日前
本田技研工業株式会社
車両
25日前
本田技研工業株式会社
車両
24日前
本田技研工業株式会社
車両
24日前
本田技研工業株式会社
車両
17日前
本田技研工業株式会社
移動体
26日前
本田技研工業株式会社
飛行体
25日前
本田技研工業株式会社
固体電池
20日前
本田技研工業株式会社
二次電池
20日前
本田技研工業株式会社
固体電池
24日前
本田技研工業株式会社
制御装置
24日前
本田技研工業株式会社
排気装置
24日前
本田技研工業株式会社
電気機器
25日前
本田技研工業株式会社
触媒装置
20日前
本田技研工業株式会社
内燃機関
25日前
本田技研工業株式会社
排気装置
24日前
本田技研工業株式会社
収容装置
25日前
本田技研工業株式会社
清掃装置
25日前
本田技研工業株式会社
電気部品
25日前
本田技研工業株式会社
除草装置
24日前
本田技研工業株式会社
電気機器
25日前
本田技研工業株式会社
電気機器
26日前
本田技研工業株式会社
発電セル
24日前
本田技研工業株式会社
エンジン
25日前
本田技研工業株式会社
内燃機関
24日前
本田技研工業株式会社
排気装置
24日前
本田技研工業株式会社
電気機器
26日前
本田技研工業株式会社
固体電池
26日前
本田技研工業株式会社
電動船外機
20日前
本田技研工業株式会社
リアクトル
24日前
本田技研工業株式会社
樹脂成型品
25日前
本田技研工業株式会社
電極積層体
24日前
本田技研工業株式会社
全固体電池
26日前
本田技研工業株式会社
全固体電池
26日前
本田技研工業株式会社
全固体電池
20日前
本田技研工業株式会社
全固体電池
20日前
続きを見る
他の特許を見る