TOP
|
特許
|
意匠
|
商標
特許ウォッチ
Twitter
他の特許を見る
公開番号
2025148894
公報種別
公開特許公報(A)
公開日
2025-10-08
出願番号
2024049234
出願日
2024-03-26
発明の名称
移動体
出願人
本田技研工業株式会社
代理人
弁理士法人桐朋
主分類
B64C
9/02 20060101AFI20251001BHJP(航空機;飛行;宇宙工学)
要約
【課題】垂直離着陸可能な移動体において、着陸する際に格納状態から展開状態に切り替わり空気抵抗を増大する機能を備えた抵抗体構造を提供する。
【解決手段】移動体は、移動体本体12と、少なくとも格納状態から展開状態に切り替わることが可能な抵抗体構造30と、抵抗体構造30を格納状態に保持する保持構造50とを備える。抵抗体構造30は、係合凹部40を有する。保持構造50は、移動体本体12に支持された保持本体部52と、抵抗体構造30の格納状態で係合凹部40に係合する回転体54とを有する。抵抗体構造30に所定以上の力が加えられた際に、係合凹部40に対する回転体54の係合が解除され、抵抗体構造30が格納状態から展開状態へと切り替えられる。
【選択図】図2
特許請求の範囲
【請求項1】
移動体本体と、
互いに反対側の第1端部と第2端部とを有し、前記第1端部が前記移動体本体に対して回動可能に取り付けられ、少なくとも格納状態から展開状態に切り替わることが可能な抵抗体構造と、
前記抵抗体構造の前記第2端部に係合し、前記抵抗体構造を前記格納状態に保持する保持構造と、を備え、
前記抵抗体構造の前記第2端部は、前記第1端部に向かって窪む係合凹部を有し、
前記保持構造は、
前記移動体本体に支持された保持本体部と、
前記保持本体部に回転可能に支持され、前記抵抗体構造の前記格納状態で前記係合凹部に係合する回転体と、を有し、
前記抵抗体構造に所定以上の力が加えられた際に、前記係合凹部に対する前記回転体の係合が解除され、前記抵抗体構造が前記格納状態から前記展開状態へと切り替えられる、移動体。
続きを表示(約 1,000 文字)
【請求項2】
請求項1に記載の移動体において、
前記抵抗体構造の前記格納状態で、前記係合凹部は、前記係合凹部の底から開口に向かう方向において、前記移動体本体の内部に向かって傾斜する傾斜部を有し、
前記抵抗体構造の前記格納状態で、前記回転体は前記傾斜部に当接する、移動体。
【請求項3】
請求項1に記載の移動体において、
前記抵抗体構造に前記所定以上の力が加えられた際に、前記保持本体部が変形し、前記回転体が前記係合凹部から離脱する、移動体。
【請求項4】
請求項1に記載の移動体において、
前記保持本体部は、
前記移動体本体に回転可能に支持されたレバーと、
前記レバーが前記回転体を前記係合凹部に向かって押し付けるように、前記レバーを付勢する弾性部材と、を有する、移動体。
【請求項5】
請求項1に記載の移動体において、
前記保持本体部の一部は、前記移動体本体の内部に位置する、移動体。
【請求項6】
請求項5に記載の移動体において、
前記移動体本体は、前記移動体本体の外面に対して凹むとともに前記抵抗体構造の前記格納状態において前記抵抗体構造の少なくとも一部を収容する収容溝を有し、
前記収容溝は、前記収容溝を貫通した切欠部を有し、
前記保持構造は、前記切欠部を介して前記抵抗体構造を保持する、移動体。
【請求項7】
請求項6に記載の移動体において、
前記収容溝は、
前記収容溝の深さ方向の底に位置する底壁部と、
前記底壁部と前記外面とを繋ぎ、前記抵抗体構造の前記格納状態において前記抵抗体構造の外周面に向かい合う側壁と、を有し、
前記抵抗体構造の前記格納状態において、前記回転体は、前記収容溝の開口部と前記底壁部との間に位置する、移動体。
【請求項8】
請求項7に記載の移動体において、
前記切欠部は、前記底壁部と前記側壁とに跨がって設けられている、移動体。
【請求項9】
請求項1~8のいずれか1項に記載の移動体において、
前記抵抗体構造の前記第1端部に連結され、前記抵抗体構造を前記格納状態から前記展開状態に切り替えるアクチュエータを備える、移動体。
発明の詳細な説明
【技術分野】
【0001】
本発明は、移動体に関する。
続きを表示(約 1,700 文字)
【背景技術】
【0002】
近年、より多くの人々が手ごろで信頼できる持続可能且つ先進的なエネルギーへのアクセスを確保できるようにするため、移動体の分野を含め、様々な分野においてエネルギーの効率化に関する研究開発が行われている。例えば、特許文献1には、推進装置であるロータを有し、垂直離着陸可能な移動体(飛行体)が開示されている。ロータは、バッテリからの電力供給を受けた駆動源(モータ)によって回転駆動される。
【先行技術文献】
【特許文献】
【0003】
米国特許第10532815号明細書
【発明の概要】
【発明が解決しようとする課題】
【0004】
移動体を垂直離着陸可能とするためには、大きな推進システム(推進装置、駆動源及びバッテリ)が必要となるが、推進システムは軽量であることが望まれる。このような場合、例えば、着陸する際に格納状態から展開状態に切り替わり、空気抵抗を増大させるように機能する抵抗体構造を設けることが考えられる。しかしながら、格納状態を保持する保持構造として、複雑な構造を採用し、あるいは電力消費が必要な構造を採用すると、推進システムは小さくできる一方、保持構造の重量が大きくなることが想定される。このため、軽量な保持構造が望まれる。
【0005】
本発明は、上述した課題を解決することを目的とする。
【課題を解決するための手段】
【0006】
本発明の態様は、移動体本体と、互いに反対側の第1端部と第2端部とを有し、前記第1端部が前記移動体本体に対して回動可能に取り付けられ、少なくとも格納状態から展開状態に切り替わることが可能な抵抗体構造と、前記抵抗体構造の前記第2端部に係合し、前記抵抗体構造を前記格納状態に保持する保持構造と、を備え、前記抵抗体構造の前記第2端部は、前記第1端部に向かって窪む係合凹部を有し、前記保持構造は、前記移動体本体に支持された保持本体部と、前記保持本体部に回転可能に支持され、前記抵抗体構造の前記格納状態で前記係合凹部に係合する回転体と、を有し、前記抵抗体構造に所定以上の力が加えられた際に、前記係合凹部に対する前記回転体の係合が解除され、前記抵抗体構造が前記格納状態から前記展開状態へと切り替えられる、移動体である。
【発明の効果】
【0007】
本発明によれば、保持機構は、簡易な構成で抵抗体構造を格納状態に保持することができるため、保持構造を軽量化することができる。このため、抵抗体構造及び保持構造を移動体に設けることに伴う重量増加を抑制することができる。このことは、エネルギーの効率化に寄与する。
【図面の簡単な説明】
【0008】
図1は、本発明の実施形態に係る移動体の側面図である。
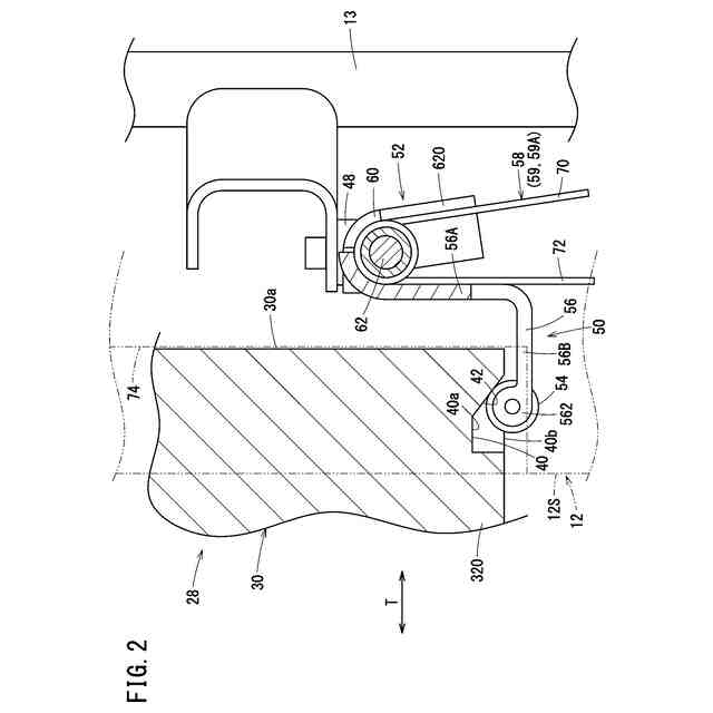
図2は、図1におけるA部の拡大図である。
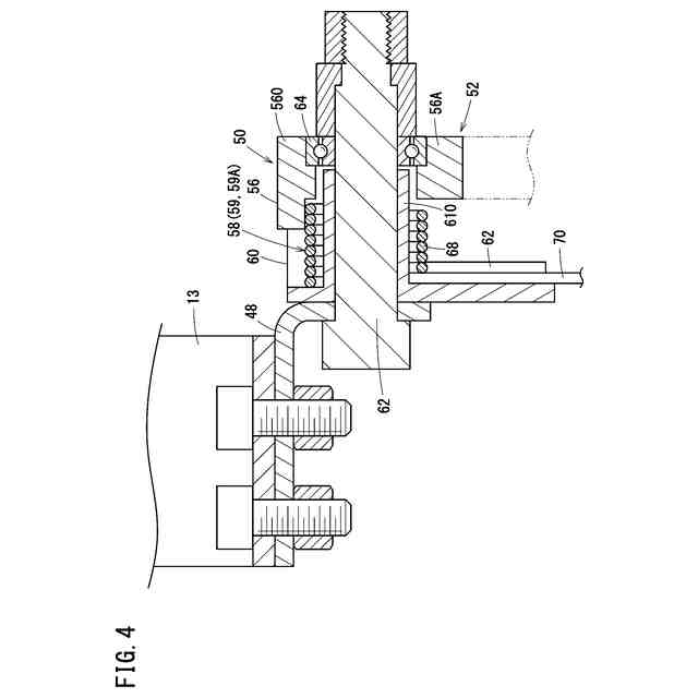
図3は、保持構造の斜視図である。
図4は、図3におけるIV-IV線に沿った断面図である。
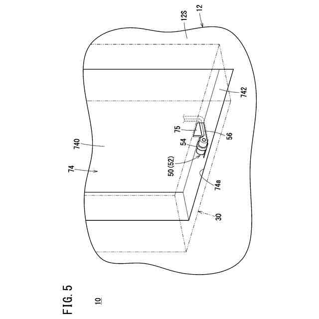
図5は、移動体本体に設けられた収容溝の斜視図である。
【発明を実施するための形態】
【0009】
図1に示すように、本発明の実施形態に係る移動体10は、航空機10Aとして構成されている。航空機10Aは、垂直離着陸可能に構成されている。なお、本発明の適用対象は、航空機10Aに限らず、航空機10A以外の移動体10(例えば、自動車)でもよい。
【0010】
移動体10は、移動体本体12と、推進装置14と、駆動源16と、バッテリ18と、制御装置20とを備える。移動体本体12は、移動体10の機体である。移動体本体12は、概ね円筒形状である。移動体本体12は、キャビン22を有する。キャビン22内には乗員が着座するためのシート24が配置されている。キャビン22にはドア26が設けられている。推進装置14は、移動体本体12の上部に配置されている。推進装置14は、ロータ15を有する。ロータ15は、プロペラである。ロータ15が回転することにより、上方への推進力が得られる。
(【0011】以降は省略されています)
この特許をJ-PlatPat(特許庁公式サイト)で参照する
関連特許
本田技研工業株式会社
車両
1か月前
本田技研工業株式会社
車両
1か月前
本田技研工業株式会社
車両
1か月前
本田技研工業株式会社
二次電池
1か月前
本田技研工業株式会社
発電セル
1か月前
本田技研工業株式会社
排気装置
1か月前
本田技研工業株式会社
制御装置
1か月前
本田技研工業株式会社
触媒装置
1か月前
本田技研工業株式会社
固体電池
1か月前
本田技研工業株式会社
固体電池
1か月前
本田技研工業株式会社
除草装置
1か月前
本田技研工業株式会社
内燃機関
1か月前
本田技研工業株式会社
排気装置
1か月前
本田技研工業株式会社
排気装置
1か月前
本田技研工業株式会社
リアクトル
1か月前
本田技研工業株式会社
電極積層体
1か月前
本田技研工業株式会社
鞍乗型車両
1か月前
本田技研工業株式会社
全固体電池
1か月前
本田技研工業株式会社
鞍乗型車両
1か月前
本田技研工業株式会社
鞍乗型車両
1か月前
本田技研工業株式会社
電動船外機
1か月前
本田技研工業株式会社
全固体電池
1か月前
本田技研工業株式会社
車両制御装置
1か月前
本田技研工業株式会社
電池製造装置
1か月前
本田技研工業株式会社
始動制御装置
1か月前
本田技研工業株式会社
燃料電池構造
1か月前
本田技研工業株式会社
車両制御装置
1か月前
本田技研工業株式会社
作業システム
1か月前
本田技研工業株式会社
鞍乗り型車両
1か月前
本田技研工業株式会社
始動制御装置
1か月前
本田技研工業株式会社
燃料電池装置
1か月前
本田技研工業株式会社
電池の処理方法
1か月前
本田技研工業株式会社
電池モジュール
1か月前
本田技研工業株式会社
差圧式電解装置
1か月前
本田技研工業株式会社
電池モジュール
1か月前
本田技研工業株式会社
燃料電池スタック
1か月前
続きを見る
他の特許を見る