TOP
|
特許
|
意匠
|
商標
特許ウォッチ
Twitter
他の特許を見る
公開番号
2025156096
公報種別
公開特許公報(A)
公開日
2025-10-14
出願番号
2025049390
出願日
2025-03-25
発明の名称
電池モジュール
出願人
本田技研工業株式会社
代理人
個人
,
個人
,
個人
主分類
H01M
10/6555 20140101AFI20251002BHJP(基本的電気素子)
要約
【課題】電池セルから発生した熱を効率的に逃がすことができる電池モジュールを提供する。
【解決手段】一方向に沿って交互に積層された電池セル30およびスペーサ40を含む積層体10と、スペーサ40の角部において、電池セル30とスペーサ40の積層方向に設けられた貫通孔と、貫通孔に挿通された棒状部材20と、を備え、スペーサ40は、前記積層方向に沿って電池セル30の両側面に接して配置され、スペーサ40は、前記積層方向と直交する方向の縁部に、前記積層方向と直交する方向に延びる空洞部を有し、空洞部の中に冷媒流路が設けられている、電池モジュール1。
【選択図】図1
特許請求の範囲
【請求項1】
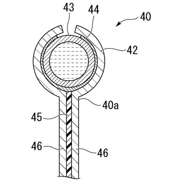
一方向に沿って交互に積層された電池セルおよびスペーサを含む積層体と、
前記スペーサの角部において前記電池セルと前記スペーサの積層方向に設けられた貫通孔と、前記貫通孔に挿通された棒状の部材と、を備え、
前記スペーサは、前記積層方向に沿って前記電池セルの両側面に接して配置され、
前記スペーサは、前記積層方向と直交する方向の縁部に、前記積層方向と直交する方向に延びる空洞部を有し、
前記空洞部の中に冷媒流路が設けられている、電池モジュール。
続きを表示(約 190 文字)
【請求項2】
前記空洞部と前記冷媒流路の間に伝熱フィラーが配置されている、請求項1に記載の電池モジュール。
【請求項3】
前記空洞部は、前記電池セルと対向しない位置に配置されている、請求項1に記載の電池モジュール。
【請求項4】
前記スペーサは、遮熱シートと、前記遮熱シートを挟み込む一対の伝熱板と、を有する、請求項1に記載の電池モジュール。
発明の詳細な説明
【技術分野】
【0001】
本発明は、電池モジュールに関する。
続きを表示(約 1,700 文字)
【背景技術】
【0002】
リチウム金属負極等を用いた電池は、充電時にセルが膨張することがある。特に、複数の電池セルが積層されてなる積層体を備える電池モジュールでは、その影響を考慮した設計がされている。
【0003】
電池の膨張を抑制した電池モジュールとしては、例えば、第1方向に沿って互いに積層された複数の電池セルを含む積層体と、前記第1方向に沿って前記積層体に拘束荷重を負荷すると共に、前記第1方向における前記積層体の両端側において前記積層体を被固定部材に対して固定するための一対の拘束固定機構と、前記一対の拘束固定機構の間に配置され、前記積層体を前記被固定部材に固定する固定部材と、を備え、前記拘束固定機構は、前記電池セルが前記拘束荷重に抗しつつ前記第1方向に沿ってスライド可能なように、前記積層体を前記被固定部材に固定し、前記拘束固定機構は、前記第1方向に沿って前記電池セルと共に配列され前記積層体に前記拘束荷重を負荷する拘束部と、ボルトにより前記被固定部材に固定されることによって前記積層体を前記被固定部材に固定する第2固定部と、を有し、前記第2固定部と前記ボルトとの間には、弾性部材が配置されており、前記第2固定部は、前記弾性部材の圧縮量に応じた力によって固定されるものが知られている(例えば、特許文献1参照)。
【先行技術文献】
【特許文献】
【0004】
特許第6794709号公報
【発明の概要】
【発明が解決しようとする課題】
【0005】
しかしながら、特許文献1の電池モジュールは、電池セルの膨張によって生じた撓みを抑制することができるものの、電池セルから発生した熱を効率的に逃がすことができなかった。充放電に伴うセルの発熱が大きくなると、電池の性能劣化につながるおそれがある。
【0006】
本発明は、上記事情に鑑みてなされたものであって、電池セルから発生した熱を効率的に逃がすことができる電池モジュールを提供することを目的とし、電池性能の安定化、製造工程における品質管理向上、延いてはエネルギーの効率化に寄与するものである。
【課題を解決するための手段】
【0007】
上記目的を達成するために、本発明は以下の手段を提供する。
[1]一方向に沿って交互に積層された電池セルおよびスペーサを含む積層体と、
前記スペーサの角部において前記電池セルと前記スペーサの積層方向に設けられた貫通孔と、前記貫通孔に挿通された棒状の部材と、を備え、
前記スペーサは、前記積層方向に沿って前記電池セルの両側面に接して配置され、
前記スペーサは、前記積層方向と直交する方向の縁部に、前記積層方向と直交する方向に延びる空洞部を有し、
前記空洞部の中に冷媒流路が設けられている、電池モジュール。
【0008】
スペーサの角部において電池セルとスペーサの積層方向に設けられた貫通孔と、その貫通孔に挿通された棒状の部材とを備えることにより、前記部材に沿って電池セルおよびスペーサを移動させることができる。また、スペーサは、前記積層方向に沿って、電池セルの両側面に接して配置され、スペーサは、前記積層方向と直交する方向の縁部に、前記積層方向と直交する方向に延びる空洞部を有し、空洞部の中に冷媒流路が設けられているため、電池セルからの熱がスペーサを介して冷媒流路内を流れる冷媒に伝わるため、電池セルから発生した熱を効率的に逃がすことができ、電池セルの大きな冷却効果を発揮することができる。
【0009】
[2]前記空洞部と前記冷媒流路の間に伝熱フィラーが配置されている、[1]に記載の電池モジュール。
【0010】
空洞部と冷媒流路の間に伝熱フィラーを配置することにより、伝熱フィラーを介して、空洞部と冷媒流路が密に接続され、電池セルからの熱がスペーサを介して冷媒流路に伝わるため、電池セルの大きな冷却効果を発揮することができる。
(【0011】以降は省略されています)
この特許をJ-PlatPat(特許庁公式サイト)で参照する
関連特許
本田技研工業株式会社
冷却液タンク
2日前
本田技研工業株式会社
蓄電システム
4日前
本田技研工業株式会社
差圧式電解装置
1か月前
本田技研工業株式会社
スポット溶接方法
24日前
本田技研工業株式会社
電動無段変速装置
1か月前
本田技研工業株式会社
回転電機のロータ
1か月前
本田技研工業株式会社
駆動装置ユニット
1か月前
本田技研工業株式会社
回転電機用ロータ
11日前
本田技研工業株式会社
金属シリコンの製造方法
11日前
本田技研工業株式会社
非接触電力伝送システム
4日前
本田技研工業株式会社
積層体、積層体の製造方法
3日前
本田技研工業株式会社
電力変換装置、および車両
3日前
本田技研工業株式会社
情報処理方法及びプログラム
23日前
本田技研工業株式会社
制御装置、および、制御方法
24日前
本田技研工業株式会社
情報処理装置、情報処理方法、およびプログラム
23日前
本田技研工業株式会社
移動体の制御装置、移動体の制御方法、およびプログラム
18日前
本田技研工業株式会社
作動装置
23日前
本田技研工業株式会社
制御装置
25日前
本田技研工業株式会社
車両、制御方法、プログラム、記憶媒体、及び情報処理装置
23日前
本田技研工業株式会社
電池の充電状態の補正方法、電池均等化方法、端末機器及び車両
10日前
本田技研工業株式会社
移動体支援装置および移動体システム
1か月前
本田技研工業株式会社
熱媒体組み合わせ最適化装置、熱媒体組み合わせ最適化方法、および、熱媒体組み合わせ最適化プログラム
11日前
東ソー株式会社
絶縁電線
1か月前
APB株式会社
蓄電セル
1か月前
個人
フレキシブル電気化学素子
1か月前
日新イオン機器株式会社
イオン源
1か月前
株式会社ユーシン
操作装置
1か月前
マクセル株式会社
電源装置
1か月前
ローム株式会社
半導体装置
1か月前
株式会社東芝
端子台
1か月前
株式会社ホロン
冷陰極電子源
1か月前
株式会社GSユアサ
蓄電装置
10日前
株式会社GSユアサ
蓄電装置
1か月前
太陽誘電株式会社
コイル部品
1か月前
株式会社GSユアサ
蓄電装置
1か月前
株式会社GSユアサ
蓄電装置
24日前
続きを見る
他の特許を見る