TOP
|
特許
|
意匠
|
商標
特許ウォッチ
Twitter
他の特許を見る
10個以上の画像は省略されています。
公開番号
2025148639
公報種別
公開特許公報(A)
公開日
2025-10-08
出願番号
2024048863
出願日
2024-03-26
発明の名称
電気機器
出願人
本田技研工業株式会社
代理人
個人
,
個人
,
個人
主分類
H02M
7/12 20060101AFI20251001BHJP(電力の発電,変換,配電)
要約
【課題】交流充電の効率を向上させることができる電気機器を提供する。
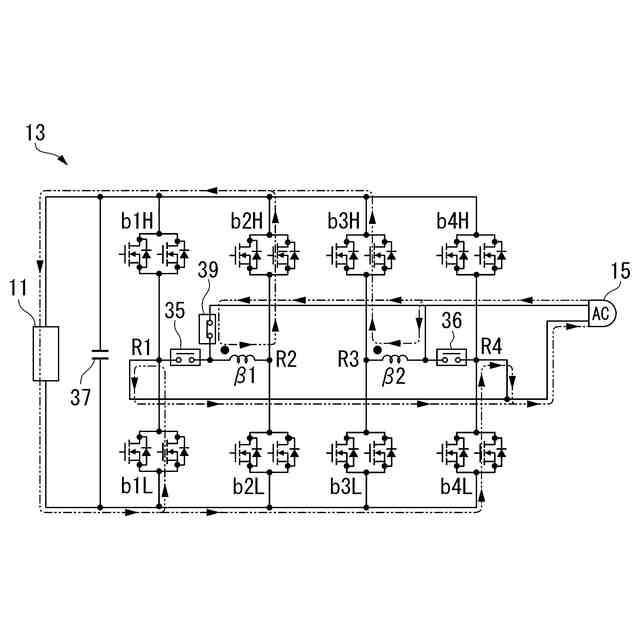
【解決手段】電気機器10は、回転電機と、電力制御ユニット10aと、交流電源接続部15とを備える。回転電機は、β相第1コイル33(β1)及びβ相第2コイル34(β2)を備える。電力制御ユニット10aは、各β相コイルβ1,β2の各両端に接続される第3フルブリッジ回路13a及び第4フルブリッジ回路13bと、各β相コイルβ1,β2の各一端と各フルブリッジ回路13a,13bの各々との間に接続される第3断接器35及び第4断接器36とを備える。交流電源接続部15は、第3断接器35及び第4断接器36の各々の両端に接続される。電力制御ユニット10aは、外部交流電源の電力が所定電力Pth未満の場合に各β相コイルβ1,β2を直列的に接続し、外部交流電源の電力が所定電力Pth以上の場合に各β相コイルβ1,β2を並列的に接続する。
【選択図】図1
特許請求の範囲
【請求項1】
蓄電装置と、
第1コイル及び第2コイルを備える回転電機と、
前記蓄電装置及び前記回転電機に接続されて、前記蓄電装置及び前記回転電機の各々の電力授受を制御する電力制御ユニットと、
前記電力制御ユニットを外部電源に接続する電源接続部材と
を備え、
前記電力制御ユニットは、
前記第1コイルの両端に接続される第1フルブリッジ回路と、
前記第2コイルの両端に接続される第2フルブリッジ回路と、
前記第1コイルの一端と前記第1フルブリッジ回路との間に接続される第1断接器と、
前記第2コイルの一端と前記第2フルブリッジ回路との間に接続される第2断接器と
を備え、
前記電源接続部材は、前記第1断接器及び前記第2断接器の各々の両端に接続され、
前記電力制御ユニットは、前記外部電源の電力が所定電力未満の場合に前記第1コイル及び前記第2コイルを直列的に接続し、前記外部電源の電力が前記所定電力以上の場合に前記第1コイル及び前記第2コイルを並列的に接続する
電気機器。
続きを表示(約 390 文字)
【請求項2】
前記電源接続部材と前記第1断接器又は前記第2断接器との間に接続される第3断接器を備え、
前記第3断接器は、前記外部電源の電力が前記所定電力未満の場合に切断状態に設定されるとともに、前記外部電源の電力が前記所定電力以上の場合に接続状態に設定される
請求項1に記載の電気機器。
【請求項3】
前記回転電機は、
前記第1コイル及び前記第2コイルによって共有されるスロットが形成されるステータコアを備え、
前記電力制御ユニットは、
前記第1コイル及び前記第2コイルを並列的に接続する場合に、磁気結合される前記第1コイル及び前記第2コイルの互いの磁束が相殺されるように、前記外部電源から供給される電流の前記第1コイル及び前記第2コイルでの流れ方向を設定する
請求項1又は請求項2に記載の電気機器。
発明の詳細な説明
【技術分野】
【0001】
本発明は、電気機器に関する。
続きを表示(約 2,200 文字)
【背景技術】
【0002】
近年、より多くの人々が手ごろで信頼でき、持続可能かつ先進的なエネルギーへのアクセスを確保できるようにするため、エネルギーの効率化に貢献する二次電池を搭載するモビリティでの充給電に関する研究開発が行われている。
従来、例えば、モータの複数相のステータ巻線と、スイッチング素子による複数相のブリッジ回路との組み合わせによって、外部電源から供給される交流電力を直流電力に変換する電動車両が知られている(例えば、特許文献1参照)。
【先行技術文献】
【特許文献】
【0003】
特開2012-70613号公報
【発明の概要】
【発明が解決しようとする課題】
【0004】
ところで、二次電池を搭載するモビリティでの充給電に関する技術において、外部電源による交流充電の効率を向上させることが課題である。例えば、上記従来技術の電動車両のように、モータのステータ巻線を、交流電力を直流電力に変換する回路(力率改善回路等)のリアクトルとして用いる場合、相対的に小さなインダクタンスによって電流のひずみ等が増大して、充電効率が低下するおそれがある。
【0005】
本願は、上記課題の解決のため、交流充電の効率の向上の達成を目的とする。そして、延いてはエネルギーの効率化に寄与するものである。
【課題を解決するための手段】
【0006】
上記課題を解決して係る目的を達成するために、本発明は以下の態様を採用した。
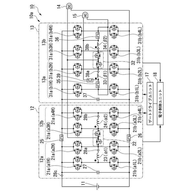
(1):本発明の一態様に係る電気機器(例えば、実施形態での電気機器10)は、蓄電装置(例えば、実施形態での蓄電装置11)と、第1コイル(例えば、実施形態でのβ相第1コイル33(β1))及び第2コイル(例えば、実施形態でのβ相第2コイル34(β2))を備える回転電機(例えば、実施形態での回転電機16(M))と、前記蓄電装置及び前記回転電機に接続されて、前記蓄電装置及び前記回転電機の各々の電力授受を制御する電力制御ユニット(例えば、実施形態での電力制御ユニット10a)と、前記電力制御ユニットを外部電源(例えば、実施形態での外部交流電源)に接続する電源接続部材(例えば、実施形態での交流電源接続部15)とを備え、前記電力制御ユニットは、前記第1コイルの両端に接続される第1フルブリッジ回路(例えば、実施形態での第3フルブリッジ回路13a)と、前記第2コイルの両端に接続される第2フルブリッジ回路(例えば、実施形態での第4フルブリッジ回路13b)と、前記第1コイルの一端と前記第1フルブリッジ回路との間に接続される第1断接器(例えば、実施形態での第3断接器35)と、前記第2コイルの一端と前記第2フルブリッジ回路との間に接続される第2断接器(例えば、実施形態での第4断接器36)とを備え、前記電源接続部材は、前記第1断接器及び前記第2断接器の各々の両端に接続され、前記電力制御ユニットは、前記外部電源の電力が所定電力(例えば、実施形態での所定電力Pth)未満の場合に前記第1コイル及び前記第2コイルを直列的に接続し、前記外部電源の電力が前記所定電力以上の場合に前記第1コイル及び前記第2コイルを並列的に接続する。
【0007】
(2):上記(1)に記載の電気機器は、前記電源接続部材と前記第1断接器又は前記第2断接器との間に接続される第3断接器(例えば、実施形態での第5断接器39)を備え、前記第3断接器は、前記外部電源の電力が前記所定電力未満の場合に切断状態に設定されるとともに、前記外部電源の電力が前記所定電力以上の場合に接続状態に設定されてもよい。
【0008】
(3):上記(1)又は(2)に記載の電気機器では、前記回転電機は、前記第1コイル及び前記第2コイルによって共有されるスロット(例えば、実施形態でのスロット43)が形成されるステータコア(例えば、実施形態でのステータコア42)を備え、前記電力制御ユニットは、前記第1コイル及び前記第2コイルを並列的に接続する場合に、磁気結合される前記第1コイル及び前記第2コイルの互いの磁束が相殺されるように、前記外部電源から供給される電流の前記第1コイル及び前記第2コイルでの流れ方向を設定してもよい。
【発明の効果】
【0009】
上記(1)によれば、各コイルに流れる電流のリップル及びひずみ等による効率の低下が大きくなる低出力領域では、各コイルを直列的に接続することによってインダクタンスを増大させ、電流のリップル及びひずみ等を抑制することができる。各コイルを直列的に接続する状態で電流の増大に伴って銅損及び鉄損が増大する高出力領域では、各コイルを並列的に接続することによってインダクタンスを低下させ、損失を抑制することができる。
【0010】
上記(2)の場合、第3断接器を備えることによって各コイルの直列と並列とを容易に切り換えることができ、部品点数の増大を抑制することができる。第1コイル及び第2コイルは、各フルブリッジ回路に接続されるオープンエンドのコイルであることにより、例えばオープンエンドではない場合等に比べて、充電電圧に対して各コイルに印加される電圧を大きくすることができ、充電速度を増大させることができる。
(【0011】以降は省略されています)
この特許をJ-PlatPat(特許庁公式サイト)で参照する
関連特許
本田技研工業株式会社
車両
1か月前
本田技研工業株式会社
車両
29日前
本田技研工業株式会社
車両
22日前
本田技研工業株式会社
車両
1か月前
本田技研工業株式会社
車両
29日前
本田技研工業株式会社
飛行体
1か月前
本田技研工業株式会社
移動体
1か月前
本田技研工業株式会社
切断装置
1か月前
本田技研工業株式会社
会話装置
1か月前
本田技研工業株式会社
制御装置
29日前
本田技研工業株式会社
エンジン
1か月前
本田技研工業株式会社
排気装置
29日前
本田技研工業株式会社
触媒装置
25日前
本田技研工業株式会社
二次電池
25日前
本田技研工業株式会社
ステータ
1か月前
本田技研工業株式会社
内燃機関
1か月前
本田技研工業株式会社
電気機器
1か月前
本田技研工業株式会社
排気装置
29日前
本田技研工業株式会社
電気機器
1か月前
本田技研工業株式会社
電気機器
1か月前
本田技研工業株式会社
発電セル
29日前
本田技研工業株式会社
電気機器
1か月前
本田技研工業株式会社
除草装置
29日前
本田技研工業株式会社
排気装置
29日前
本田技研工業株式会社
電気部品
1か月前
本田技研工業株式会社
清掃装置
1か月前
本田技研工業株式会社
収容装置
1か月前
本田技研工業株式会社
内燃機関
29日前
本田技研工業株式会社
固体電池
29日前
本田技研工業株式会社
固体電池
1か月前
本田技研工業株式会社
固体電池
25日前
本田技研工業株式会社
全固体電池
25日前
本田技研工業株式会社
全固体電池
1か月前
本田技研工業株式会社
電極積層体
29日前
本田技研工業株式会社
樹脂成型品
1か月前
本田技研工業株式会社
鞍乗型車両
29日前
続きを見る
他の特許を見る