TOP
|
特許
|
意匠
|
商標
特許ウォッチ
Twitter
他の特許を見る
10個以上の画像は省略されています。
公開番号
2025151827
公報種別
公開特許公報(A)
公開日
2025-10-09
出願番号
2024053420
出願日
2024-03-28
発明の名称
作業システム
出願人
本田技研工業株式会社
代理人
弁理士法人桐朋
主分類
G06F
3/01 20060101AFI20251002BHJP(計算;計数)
要約
【解決手段】作業システム10は、ユーザUによって遠隔操作される作業用移動体14によって作業が行われ得る作業システム10であって、作業用移動体14の周囲の現実空間に対応する仮想空間画像200bを生成する画像生成部60と、ユーザUに装着されるとともに、画像生成部60によって生成される仮想空間画像200bをユーザに提供するヘッドマウントディスプレイ18と、を備え、画像生成部60は、作業用移動体14の位置及び向きに応じた仮想空間画像200bを生成する。
【選択図】図1
特許請求の範囲
【請求項1】
ユーザによって遠隔操作される作業用移動体によって作業が行われ得る作業システムであって、
前記作業用移動体の周囲の現実空間に対応する仮想空間画像を生成する画像生成部と、
前記ユーザに装着されるとともに、前記画像生成部によって生成される前記仮想空間画像を前記ユーザに提供するヘッドマウントディスプレイと、
を備え、
前記画像生成部は、前記作業用移動体の位置及び向きに応じた前記仮想空間画像を生成する、作業システム。
続きを表示(約 1,400 文字)
【請求項2】
請求項1に記載の作業システムにおいて、
前記画像生成部は、作業優先度合に応じて作業対象エリアの誘目性を高めた前記仮想空間画像を生成する、作業システム。
【請求項3】
請求項1に記載の作業システムにおいて、
前記作業用移動体の作業状況を判定する判定部を備え、
前記画像生成部は、前記判定部により判定された前記作業状況に応じて、前記仮想空間画像を変化させる、作業システム。
【請求項4】
請求項3に記載の作業システムにおいて、
音響信号を生成する音響生成部と、
前記音響生成部により生成された前記音響信号に応じた音響を前記ユーザに提供する音響出力部と、
を更に備え、
前記音響生成部は、前記判定部により判定された前記作業状況に応じて、前記音響信号を変化させる、作業システム。
【請求項5】
請求項1に記載の作業システムにおいて、
前記画像生成部は、前記作業用移動体上に視点が配された場合に対応する前記仮想空間画像である第1仮想空間画像と、前記作業用移動体外に視点が配された場合に対応する前記仮想空間画像である第2仮想空間画像とを生成可能であり、
前記第2仮想空間画像を生成する場合には、前記画像生成部は、前記第2仮想空間画像内の前記作業用移動体に対して、前記作業用移動体に対応する仮想物体を設定する、作業システム。
【請求項6】
請求項1に記載の作業システムにおいて、
前記画像生成部は、前記ユーザが前記作業用移動体を操作した時間を合計した合計時間と、前記ユーザが前記作業用移動体を移動させた距離を合計した合計距離と、前記ユーザによる作業特性と、前記ユーザによる操作特性とのうちの少なくとも1つに応じて、前記仮想空間画像を変化させる、作業システム。
【請求項7】
請求項1に記載の作業システムにおいて、
音響信号を生成する音響生成部と、
前記音響生成部により生成された前記音響信号に応じた音響を前記ユーザに提供する音響出力部と、
を更に備え、
前記音響生成部は、前記ユーザが前記作業用移動体を操作した時間を合計した合計時間と、前記ユーザが前記作業用移動体を移動させた距離を合計した合計距離と、前記ユーザによる作業特性と、前記ユーザによる操作特性とのうちの少なくとも1つに応じて、前記音響信号を変化させる、作業システム。
【請求項8】
請求項1に記載の作業システムにおいて、
前記ユーザによる前記遠隔操作によって前記作業用移動体が行った作業に応じて、前記ユーザにポイントを付与するポイント付与部を更に備える、作業システム。
【請求項9】
請求項1に記載の作業システムにおいて、
前記作業用移動体が障害物に接触するか否かを予測する予測部と、
前記作業用移動体と前記障害物とが接触することが前記予測部によって予測された場合に、前記作業用移動体と前記障害物との接触を回避するように前記作業用移動体を制御する移動体制御部と、
を更に備える、作業システム。
【請求項10】
請求項9に記載の作業システムにおいて、
前記移動体制御部は、前記作業用移動体と前記障害物との接触が回避できない場合に、前記作業用移動体に備えられるエアバッグを展開させる、作業システム。
(【請求項11】以降は省略されています)
発明の詳細な説明
【技術分野】
【0001】
本開示は、作業システムに関する。
続きを表示(約 1,700 文字)
【背景技術】
【0002】
特許文献1には、仮想空間表示システムが開示される。このシステムにおいて、自動運転される車両の搭乗者は、ヘッドマウントディスプレイを装着する。ヘッドマウントディスプレイは、車両の搭乗者に対して車両の周囲の実環境とは異なる仮想空間画像の表示を行う。
【先行技術文献】
【特許文献】
【0003】
特許第6232649号公報
【発明の概要】
【発明が解決しようとする課題】
【0004】
特許文献1は、仮想空間画像を単に表示することを開示しているに過ぎない。近時では良好な作業システムの提供が望まれる。
【0005】
本発明は、上述した課題を解決することを目的とする。
【課題を解決するための手段】
【0006】
本開示の態様は、ユーザによって遠隔操作される作業用移動体によって作業が行われ得る作業システムであって、前記作業用移動体の周囲の現実空間に対応する仮想空間画像を生成する画像生成部と、前記ユーザに装着されるとともに、前記画像生成部によって生成される前記仮想空間画像を前記ユーザに提供するヘッドマウントディスプレイと、を備え、前記画像生成部は、前記作業用移動体の位置及び向きに応じた前記仮想空間画像を生成する、作業システムである。
【発明の効果】
【0007】
本発明によれば、良好な作業システムを提供することができる。
【図面の簡単な説明】
【0008】
図1は、第1実施形態に係る作業システムの概略構成図である。
図2は、第1実施形態に係るコントローラの機能ブロック図である。
図3は、第1実施形態に係る作業用移動体の機能ブロック図である。
図4は、第1実施形態に係る管理装置の機能ブロック図である。
図5は、第1実施形態に係るヘッドマウントディスプレイの機能ブロック図である。
図6は、作業用移動体の操作に関するシーケンス図である。
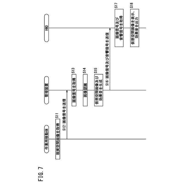
図7は、仮想空間画像の表示に関するシーケンス図である。
図8Aは、現実空間画像を示す図である。図8Bは、仮想空間画像を示す図である。
図9は、第2実施形態に係る管理装置の機能ブロック図である。
図10は、第3実施形態に係る管理装置の機能ブロック図である。
図11は、第5実施形態に係る管理装置の機能ブロック図である。
図12は、第6実施形態に係る管理装置の機能ブロック図である。
図13は、第7実施形態に係る作業用移動体の機能ブロック図である。
図14は、第8実施形態に係る通信システムの概略構成図である。
【発明を実施するための形態】
【0009】
遠隔操作可能な軽作業用の作業用移動体(例えば自走式掃除機、自走式芝刈り機等)が開発されている。ユーザは、コントローラで作業用移動体を遠隔操作することによって作業を行う。この作業に仮想空間画像を用いることにより、ユーザが楽しみながら作業を行うことができる。以下でその具体的な実施形態を説明する。
【0010】
[1 第1実施形態]
[1-1 作業システム10の構成]
図1は、第1実施形態に係る作業システム10の概略構成図である。作業システム10は、コントローラ12と、作業用移動体14と、管理装置16と、ヘッドマウントディスプレイ18とを備える。作業用移動体14は、移動しながら所定の作業(掃除、芝刈り等)を行う。ユーザUは、コントローラ12を使用して作業用移動体14を遠隔操作する。ユーザUは、作業用移動体14の遠隔操作中にヘッドマウントディスプレイ18を装着し得る。ヘッドマウントディスプレイ18は、ユーザUに対して、作業用移動体14の位置及び向きに応じた仮想空間画像を提供する。これにより、ユーザUは、仮想空間を体験しながら、現実空間における作業を行うことができる。
(【0011】以降は省略されています)
この特許をJ-PlatPat(特許庁公式サイト)で参照する
関連特許
本田技研工業株式会社
飛行体
4日前
本田技研工業株式会社
回転電機
6日前
本田技研工業株式会社
電解装置
今日
本田技研工業株式会社
灯火器構造
4日前
本田技研工業株式会社
蓄電システム
13日前
本田技研工業株式会社
冷却液タンク
11日前
本田技研工業株式会社
スポット溶接方法
1か月前
本田技研工業株式会社
回転電機用ロータ
20日前
本田技研工業株式会社
回転電機のロータ
1か月前
本田技研工業株式会社
加水分解処理装置
4日前
本田技研工業株式会社
非接触電力伝送システム
13日前
本田技研工業株式会社
水素同位体分離システム
4日前
本田技研工業株式会社
金属シリコンの製造方法
20日前
本田技研工業株式会社
積層体、積層体の製造方法
12日前
本田技研工業株式会社
電力変換装置、および車両
12日前
本田技研工業株式会社
制御装置、および、制御方法
1か月前
本田技研工業株式会社
情報処理方法及びプログラム
1か月前
本田技研工業株式会社
軟磁性鋼板およびその製造方法
4日前
本田技研工業株式会社
有機物処理装置および有機物処理方法
4日前
本田技研工業株式会社
有機物処理装置および有機物処理方法
4日前
本田技研工業株式会社
電解システムの制御装置および電解システム
5日前
本田技研工業株式会社
音声認識装置、音声認識方法、及びプログラム
6日前
本田技研工業株式会社
情報処理装置、情報処理方法、およびプログラム
1か月前
本田技研工業株式会社
三次元モデル生成装置及び三次元モデル評価システム
4日前
株式会社ダイセル
アルミニウム合金製摺動部材用潤滑剤
4日前
本田技研工業株式会社
移動体の制御装置、移動体の制御方法、およびプログラム
27日前
本田技研工業株式会社
作動装置
1か月前
本田技研工業株式会社
制御装置
1か月前
本田技研工業株式会社
車両、制御方法、プログラム、記憶媒体、及び情報処理装置
1か月前
本田技研工業株式会社
有機物処理装置、有機物処理方法、および燃料ガスの製造方法
4日前
本田技研工業株式会社
電池の充電状態の補正方法、電池均等化方法、端末機器及び車両
19日前
タイガースポリマー株式会社
二次電池用加圧袋およびその製造方法
4日前
本田技研工業株式会社
熱媒体組み合わせ最適化装置、熱媒体組み合わせ最適化方法、および、熱媒体組み合わせ最適化プログラム
20日前
個人
詐欺保険
1か月前
個人
縁伊達ポイン
1か月前
個人
5掛けポイント
1か月前
続きを見る
他の特許を見る