TOP
|
特許
|
意匠
|
商標
特許ウォッチ
Twitter
他の特許を見る
10個以上の画像は省略されています。
公開番号
2025177103
公報種別
公開特許公報(A)
公開日
2025-12-05
出願番号
2024083636
出願日
2024-05-22
発明の名称
有機物処理装置、有機物処理方法、および燃料ガスの製造方法
出願人
本田技研工業株式会社
代理人
個人
,
個人
,
個人
主分類
B09B
3/45 20220101AFI20251128BHJP(固体廃棄物の処理;汚染土壌の再生)
要約
【課題】より効率良く有機性廃棄物を処理することができる有機物処理装置、有機物処理方法、および燃料ガスの製造方法を提供すること。
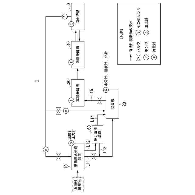
【解決手段】有機物を燃料ガスに転換する装置であって、前記有機物と水とが混合した高温高圧の条件下で前記有機物を加水分解処理する加水分解処理装置と、前記加水分解処理装置によって加水分解処理された有機物を液体比率が閾値未満である第1処理物と、液体比率が前記閾値以上である第2処理物とに分離する固液分離装置と、前記第1処理物を第1の温度条件の下で発酵させることにより前記燃料ガスを生成する第1発酵槽と、前記第2処理物を第2の温度条件の下で発酵させることにより前記燃料ガスを生成する第2発酵槽と、を備える有機物処理装置。
【選択図】図1
特許請求の範囲
【請求項1】
有機物を燃料ガスに転換する装置であって、
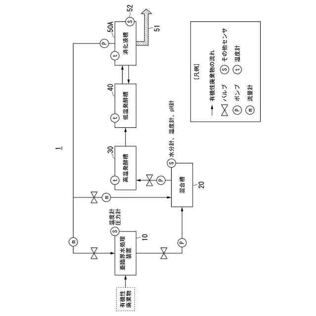
前記有機物と水とが混合した高温高圧の条件下で前記有機物を加水分解処理する加水分解処理装置と、
前記加水分解処理装置によって加水分解処理された有機物を液体比率が閾値未満である第1処理物と、液体比率が前記閾値以上である第2処理物とに分離する固液分離装置と、
前記第1処理物を第1の温度条件の下で発酵させることにより前記燃料ガスを生成する第1発酵槽と、
前記第2処理物を第2の温度条件の下で発酵させることにより前記燃料ガスを生成する第2発酵槽と、
を備える有機物処理装置。
続きを表示(約 690 文字)
【請求項2】
前記第2の温度条件とは、前記第1の温度条件よりも低い温度条件である、
請求項1記載の有機物処理装置。
【請求項3】
前記第1の温度条件は、70℃以上であることである、
請求項1記載の有機物処理装置。
【請求項4】
前記第2の温度条件は、65℃以下であることである、
請求項1記載の有機物処理装置。
【請求項5】
前記燃料ガスはメタンを含む、
請求項1記載の有機物処理装置。
【請求項6】
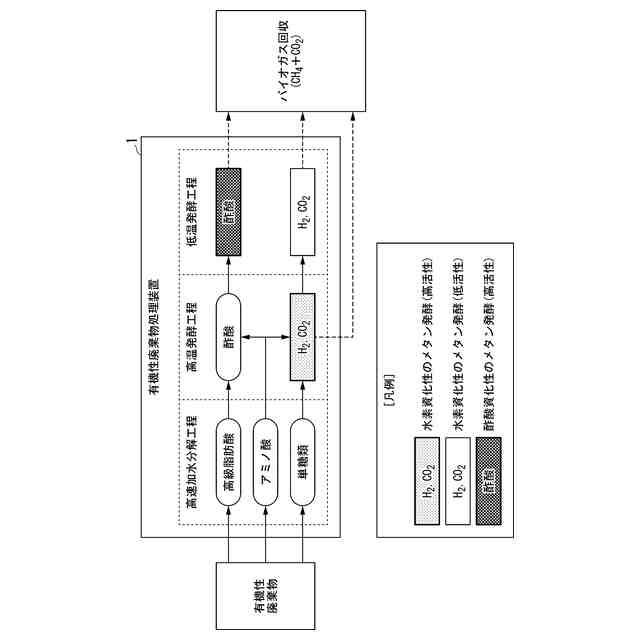
前記第1発酵槽において、水素を反応物としてメタンを生成する反応を生じさせる、
請求項5に記載の有機物処理装置。
【請求項7】
前記第2発酵槽において、有機酸を反応物としてメタンを生成する反応を生じさせる、
請求項5に記載の有機物処理装置。
【請求項8】
前記発酵は、嫌気性発酵である、
請求項1に記載の有機物処理装置。
【請求項9】
前記第2発酵槽の消化液を前記加水分解処理装置に返送する、
請求項1記載の有機物処理装置。
【請求項10】
前記第2処理物と前記消化液との間で熱交換する熱交換装置をさらに備え、
前記熱交換装置は、前記固液分離装置から前記第2発酵槽に前記第2処理物を移送する場合と、前記第2発酵槽から前記加水分解処理装置に前記消化液を返送する場合とにおいて熱交換を行う、
請求項9記載の有機物処理装置。
(【請求項11】以降は省略されています)
発明の詳細な説明
【技術分野】
【0001】
本発明は、有機物処理装置、有機物処理方法、および燃料ガスの製造方法に関する。
続きを表示(約 1,300 文字)
【背景技術】
【0002】
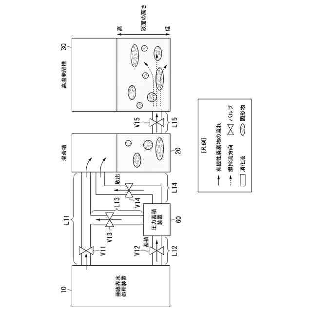
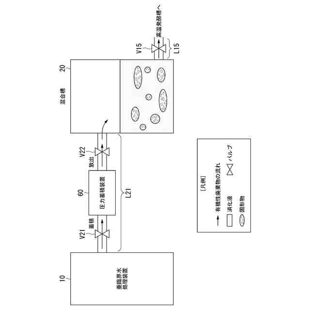
従来、亜臨界水処理装置を用いて有機性廃棄物を低分子量化し、低分子量化した有機性廃棄物から有害物質を加圧浮上分離する有機性廃棄物処理システムがある(特許文献1)。
【先行技術文献】
【特許文献】
【0003】
特開2021-070005号公報
【発明の概要】
【発明が解決しようとする課題】
【0004】
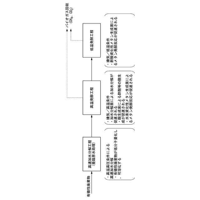
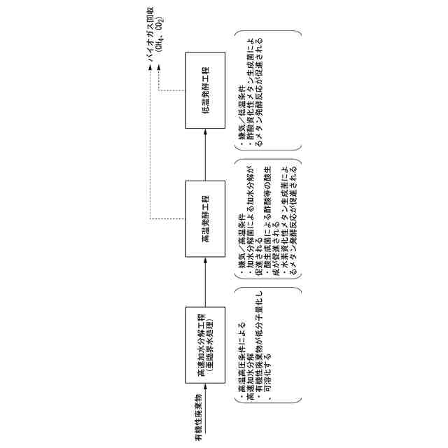
しかしながら、従来技術では、亜臨界水処理の温度設定の難易度が高く、有機性廃棄物を効率よく処理することができない場合があった。例えば、亜臨界水処理の設定温度を高くすると、亜臨界水処理の効率が向上する一方で有機物の炭化が進み、バイオガスの生成に使用できなくなる。また、例えば、亜臨界水処理の設定温度を低くすると、有機物の炭化を抑制することができる一方で亜臨界水処理の効率が低下する。この場合、有機性廃棄物が十分に低分子量化されず、亜臨界水処理後の発酵工程において発酵効率が低下してバイオガスの生成効率が低下する。また、従来技術では、亜臨界水処理によって処理された後の処理物の状態に関わらず、処理物をまとめて一括で発酵槽に移送して発酵させていたため、発酵条件を最適化できず効率が悪い場合があった。具体的には、発酵槽の温度が低いと有機性廃棄物の亜臨界水処理の効率が低下することがあった。
【0005】
本発明は、このような事情を考慮してなされたものであり、より効率良く有機性廃棄物を処理することができる有機物処理装置、有機物処理方法、および燃料ガスの製造方法を提供することを目的の一つとする。
【課題を解決するための手段】
【0006】
この発明に係る有機物処理装置、有機物処理方法、および燃料ガスの製造方法は、以下の構成を採用した。
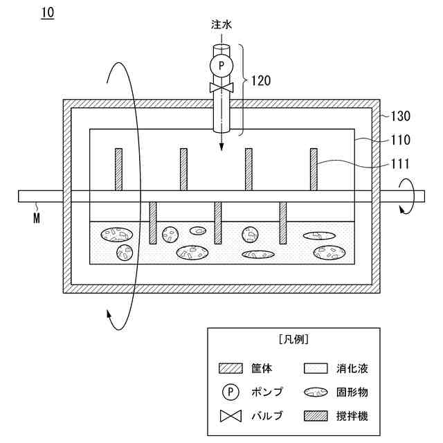
(1):この発明の一態様に係る有機物処理装置は、有機物を燃料ガスに転換する装置であって、前記有機物と水とが混合した高温高圧の条件下で前記有機物を加水分解処理する加水分解処理装置と、前記加水分解処理装置によって加水分解処理された有機物を液体比率が閾値未満である第1処理物と、液体比率が前記閾値以上である第2処理物とに分離する固液分離装置と、前記第1処理物を第1の温度条件の下で発酵させることにより前記燃料ガスを生成する第1発酵槽と、前記第2処理物を第2の温度条件の下で発酵させることにより前記燃料ガスを生成する第2発酵槽と、を備える有機物処理装置である。
【0007】
(2):上記(1)の態様において、前記第2の温度条件とは、前記第1の温度条件よりも低い温度条件である。
【0008】
(3):上記(1)の態様において、前記第1の温度条件は、70℃以上であることである。
【0009】
(4):上記(1)の態様において、前記第2の温度条件は、65℃以下であることである。
【0010】
(5):上記(1)の態様において、前記燃料ガスはメタンを含むものである。
(【0011】以降は省略されています)
この特許をJ-PlatPat(特許庁公式サイト)で参照する
関連特許
本田技研工業株式会社
車両
1か月前
本田技研工業株式会社
飛行体
1日前
本田技研工業株式会社
回転電機
3日前
本田技研工業株式会社
電動船外機
1か月前
本田技研工業株式会社
灯火器構造
1日前
本田技研工業株式会社
冷却液タンク
8日前
本田技研工業株式会社
蓄電システム
10日前
本田技研工業株式会社
差圧式電解装置
1か月前
本田技研工業株式会社
電池モジュール
1か月前
本田技研工業株式会社
電池モジュール
1か月前
本田技研工業株式会社
回転電機のロータ
1か月前
本田技研工業株式会社
回転電機用ロータ
17日前
本田技研工業株式会社
電動無段変速装置
1か月前
本田技研工業株式会社
駆動装置ユニット
1か月前
本田技研工業株式会社
スポット溶接方法
1か月前
本田技研工業株式会社
加水分解処理装置
1日前
本田技研工業株式会社
再生正極の製造方法
1か月前
本田技研工業株式会社
二酸化炭素回収装置
1か月前
本田技研工業株式会社
固体電池の製造方法
1か月前
本田技研工業株式会社
非接触電力伝送システム
10日前
本田技研工業株式会社
水素同位体分離システム
1日前
本田技研工業株式会社
金属シリコンの製造方法
17日前
本田技研工業株式会社
積層体、積層体の製造方法
9日前
本田技研工業株式会社
電力変換装置、および車両
9日前
本田技研工業株式会社
給電システムおよび給電方法
1か月前
本田技研工業株式会社
電気化学式水素昇圧システム
1か月前
本田技研工業株式会社
制御装置、および、制御方法
1か月前
本田技研工業株式会社
情報処理方法及びプログラム
29日前
本田技研工業株式会社
軟磁性鋼板およびその製造方法
1日前
本田技研工業株式会社
有機物処理装置および有機物処理方法
1日前
本田技研工業株式会社
有機物処理装置および有機物処理方法
1日前
本田技研工業株式会社
負極、固体電池及び積層体の製造方法
1か月前
本田技研工業株式会社
正極、固体電池及び固体電池の製造方法
1か月前
本田技研工業株式会社
リチウム金属二次電池のエージング方法
1か月前
本田技研工業株式会社
電解システムの制御装置および電解システム
2日前
本田技研工業株式会社
リチウム金属二次電池用負極とその製造方法
1か月前
続きを見る
他の特許を見る