TOP
|
特許
|
意匠
|
商標
特許ウォッチ
Twitter
他の特許を見る
10個以上の画像は省略されています。
公開番号
2025155787
公報種別
公開特許公報(A)
公開日
2025-10-14
出願番号
2024224152
出願日
2024-12-19
発明の名称
二酸化炭素回収装置
出願人
本田技研工業株式会社
代理人
個人
,
個人
主分類
B01D
53/14 20060101AFI20251002BHJP(物理的または化学的方法または装置一般)
要約
【課題】吸着材を保持する吸着材保持部の着脱作業を効率化できるとともに高い熱効率を実現できる二酸化炭素回収装置を提供すること。
【解決手段】二酸化炭素回収装置1は、吸着材12を保持する熱交換器(吸着材保持部)70と、熱交換器70をスライド挿入可能な第1収容部81及び第2収容部82を有する支持プレート(支持部材)80と、熱交換器70に配置され、熱交換器70が第1収容部81及び第2収容部82にスライド挿入されるに伴って追従変形するシール部75と、を備え、熱交換器70は、シール部75を介して支持プレート80に支持される。
【選択図】図5
特許請求の範囲
【請求項1】
吸着材を保持する吸着材保持部と、
前記吸着材保持部をスライド挿入可能な収容部を有する支持部材と、
前記吸着材保持部に配置され、前記吸着材保持部の前記収容部へのスライド挿入に伴って追従変形可能なシール部と、
を備え、
前記吸着材保持部は、前記シール部を介して前記支持部材に支持される、
を備える二酸化炭素回収装置。
続きを表示(約 1,000 文字)
【請求項2】
前記シール部は、発泡性材料で構成される、
請求項1に記載の二酸化炭素回収装置。
【請求項3】
前記収容部は、
前記吸着材保持部を収容する第1収容部と、
前記第1収容部の隣に位置し、前記第1収容部に収容される前記吸着材保持部とは異なる前記吸着材保持部を収容する第2収容部と、
を有し、
前記第1収容部に収容された前記吸着材保持部と前記第2収容部に収容された前記吸着材保持部の間に差し込まれ、前記吸着材保持部のそれぞれの前記シール部を押圧するガイド部材を更に備える、
請求項1又は2に記載の二酸化炭素回収装置。
【請求項4】
前記第1収容部は、前記吸着材保持部の挿入方向の先端側が基端側よりも前記第2収容部に近づくように傾斜し、
前記第2収容部は、前記挿入方向の先端側が基端側よりも前記第1収容部に近づくように傾斜し、
前記ガイド部材は、前記挿入方向の先端がくさび形状に形成される、
請求項3に記載の二酸化炭素回収装置。
【請求項5】
熱媒体が流通するヘッダと、
前記吸着材保持部の内部と前記ヘッダの内部を連通し、前記熱媒体を前記吸着材保持部に流通させるパイプと、
前記吸着材保持部と前記パイプの間に配置される断熱材と、
を備える、
請求項1又は2に記載の二酸化炭素回収装置。
【請求項6】
前記支持部材が固定される筐体と、
前記筐体の外側に配置され、熱媒体が流通するヘッダと、
前記筐体を貫通して前記吸着材保持部の内部と前記ヘッダの内部を連通する筒状部と、
前記筒状部に配置され、前記ヘッダと前記筐体の間に位置するフランジ部と、
前記フランジ部と前記筐体の間及び前記フランジ部と前記ヘッダの間の少なくとも何れか一方に配置される断熱材と、
を備える、
請求項1又は2に記載の二酸化炭素回収装置。
【請求項7】
前記吸着材保持部は、表面の少なくとも一部に、断熱材が配置されている、
請求項1又は2に記載の二酸化炭素回収装置。
【請求項8】
前記吸着材保持部は、前記吸着材が接触する部位を除く表面の全てに、断熱材が配置されている、
請求項7に記載の二酸化炭素回収装置。
発明の詳細な説明
【技術分野】
【0001】
本発明は、二酸化炭素回収装置に関する。
続きを表示(約 1,600 文字)
【背景技術】
【0002】
従来、大気等の二酸化炭素を含む気体から二酸化炭素を回収する技術が知られている。この種の技術が記載されるものとして例えば特許文献1がある。例えば、特許文献1には、二酸化炭素を吸着する吸着材を、吸着材保持部材に複数層配置することが示されている。特許文献2には、ガス状二酸化炭素をガス混合物から、ガス状二酸化炭素を吸着する吸着剤を用いた循環式吸着/脱着によって、分離する方法が記載されている。
【先行技術文献】
【特許文献】
【0003】
米国特許出願公開第2019/0255480号明細書
特表2017-528318号公報
【発明の概要】
【発明が解決しようとする課題】
【0004】
吸着材の加熱や冷却を行う熱交換器を吸着材保持部として利用する構成では、吸着材の交換のためには熱交換器を筐体から取り外す必要がある。熱交換器を取り外す作業は、熱交換器だけではなく他の組付部品の取り外しを行う必要がある。また、吸着材を配置した熱交換器を上下方向に複数収容する構成の場合、熱交換器を筐体にセットする作業も下から一段ずつ積み上げる必要がある。このように、熱交換器の着脱作業は非常に手間のかかるものであった。
【0005】
また、熱交換器は、構造上、アルミ部品をロウ付けて行うことがあり、寸法公差が大きくなってしまう。寸法誤差が大きくなれば、筐体と熱交換器の間に生じる隙間が大きくなってしまう。隙間は吸着材の通過風量の低下を招く要因となってしまい、二酸化炭素回収率の低下をもたらす可能性もある。
【0006】
本発明は、吸着材を保持する吸着材保持部の着脱作業を効率化できるとともに高い熱効率を実現できる二酸化炭素回収装置を提供することを目的とする。
【課題を解決するための手段】
【0007】
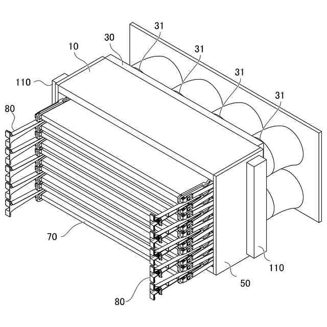
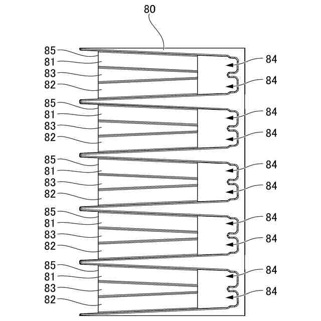
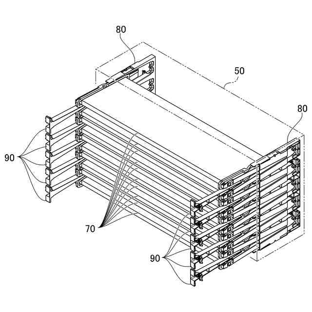
(1)本発明は、吸着材(例えば、後述する吸着材12)を保持する吸着材保持部(例えば、後述する熱交換器70)と、前記吸着材保持部をスライド挿入可能な収容部(例えば、後述する第1収容部81及び第2収容部82)を有する支持部材(例えば、後述する支持プレート80)と、前記吸着材保持部に配置され、前記吸着材保持部の前記収容部へのスライド挿入に伴って追従変形するシール部(例えば、後述するシール部75)と、を備え、前記吸着材保持部は、前記シール部を介して前記支持部材に支持される、二酸化炭素回収装置(例えば、後述する二酸化炭素回収装置1)である。
【0008】
(2)上記(1)に記載の二酸化炭素回収装置において、前記シール部は、発泡性材料で構成されてもよい。
【0009】
(3)上記(1)又は(2)に記載の二酸化炭素回収装置において、前記収容部は、前記吸着材保持部を収容する第1収容部と、前記第1収容部(例えば、後述する第1収容部81)の隣に位置し、前記第1収容部に収容される前記吸着材保持部とは異なる前記吸着材保持部を収容する第2収容部(例えば、後述する第2収容部82)と、を有し、前記第1収容部に収容された前記吸着材保持部と前記第2収容部に収容された前記吸着材保持部の間に差し込まれ、前記吸着材保持部のそれぞれの前記シール部(例えば、後述するシール部75)を押圧するガイド部材(例えば、後述するガイド部材90)を更に備えてもよい。
【0010】
(4)上記(3)に記載の二酸化炭素回収装置において、前記第1収容部は、前記吸着材保持部の挿入方向の先端側が基端側よりも前記第2収容部に近づくように傾斜し、前記第2収容部は、前記挿入方向の先端側が基端側よりも前記第1収容部に近づくように傾斜し、前記ガイド部材は、前記挿入方向の先端がくさび形状に形成されてもよい。
(【0011】以降は省略されています)
この特許をJ-PlatPat(特許庁公式サイト)で参照する
関連特許
本田技研工業株式会社
車両
1か月前
本田技研工業株式会社
冷却液タンク
2日前
本田技研工業株式会社
蓄電システム
4日前
本田技研工業株式会社
差圧式電解装置
1か月前
本田技研工業株式会社
回転電機用ロータ
11日前
本田技研工業株式会社
駆動装置ユニット
1か月前
本田技研工業株式会社
電動無段変速装置
1か月前
本田技研工業株式会社
回転電機のロータ
1か月前
本田技研工業株式会社
スポット溶接方法
24日前
本田技研工業株式会社
再生正極の製造方法
1か月前
本田技研工業株式会社
非接触電力伝送システム
4日前
本田技研工業株式会社
金属シリコンの製造方法
11日前
本田技研工業株式会社
積層体、積層体の製造方法
3日前
本田技研工業株式会社
電力変換装置、および車両
3日前
本田技研工業株式会社
給電システムおよび給電方法
1か月前
本田技研工業株式会社
制御装置、および、制御方法
24日前
本田技研工業株式会社
情報処理方法及びプログラム
23日前
本田技研工業株式会社
負極、固体電池及び積層体の製造方法
1か月前
本田技研工業株式会社
正極、固体電池及び固体電池の製造方法
1か月前
本田技研工業株式会社
二酸化炭素回収装置及び二酸化炭素回収方法
1か月前
本田技研工業株式会社
情報処理装置、情報処理方法、およびプログラム
23日前
本田技研工業株式会社
制御装置
25日前
本田技研工業株式会社
作動装置
23日前
本田技研工業株式会社
学習装置、推定装置、学習方法、推定方法及びプログラム
1か月前
本田技研工業株式会社
移動体の制御装置、移動体の制御方法、およびプログラム
18日前
本田技研工業株式会社
車両、制御方法、プログラム、記憶媒体、及び情報処理装置
23日前
本田技研工業株式会社
電池の充電状態の補正方法、電池均等化方法、端末機器及び車両
10日前
本田技研工業株式会社
移動体支援装置および移動体システム
1か月前
本田技研工業株式会社
移動体制御システム、情報処理装置、移動体制御システムのための方法、機械学習モデルを生成する方法
1か月前
本田技研工業株式会社
熱媒体組み合わせ最適化装置、熱媒体組み合わせ最適化方法、および、熱媒体組み合わせ最適化プログラム
11日前
株式会社西部技研
除湿装置
1か月前
株式会社日本触媒
ドロー溶質
1か月前
プライミクス株式会社
攪拌装置
10日前
日本バイリーン株式会社
フィルタ
24日前
サンノプコ株式会社
消泡剤
1か月前
東レ株式会社
遠心ポッティング方法
1か月前
続きを見る
他の特許を見る