TOP
|
特許
|
意匠
|
商標
特許ウォッチ
Twitter
他の特許を見る
公開番号
2025176837
公報種別
公開特許公報(A)
公開日
2025-12-05
出願番号
2024083188
出願日
2024-05-22
発明の名称
飛行体
出願人
本田技研工業株式会社
代理人
弁理士法人桐朋
主分類
B64C
3/58 20060101AFI20251128BHJP(航空機;飛行;宇宙工学)
要約
【解決手段】飛行体10は、胴体12と、胴体12から側方に延設されるとともに巡航時に揚力を発生させ得る翼部14と、推力を発生させ得る推力発生部16と、を備え、翼部14は、胴体12に固定された固定翼部22と、固定翼部22から前後方向前方に展開可能な展開翼部24とを備え、前後方向前方に展開翼部24が展開された状態である展開状態における翼部14の平面面積S2は、展開翼部24が固定翼部22に重ね合わせられた状態である重畳状態における翼部14の平面面積S1より大きい。
【選択図】図4
特許請求の範囲
【請求項1】
胴体と、
前記胴体から側方に延設されるとともに巡航時に揚力を発生させ得る翼部と、
推力を発生させ得る推力発生部と、
を備え、
前記翼部は、前記胴体に固定された固定翼部と、前記固定翼部から前後方向前方に展開可能な展開翼部とを備え、
前後方向前方に前記展開翼部が展開された状態である展開状態における前記翼部の翼平面形の面積は、前記展開翼部が前記固定翼部に重ね合わせられた状態である重畳状態における前記翼部の翼平面形の面積より大きい、飛行体。
続きを表示(約 790 文字)
【請求項2】
請求項1に記載の飛行体において、
前記翼部が前記重畳状態であるときの前記飛行体の重心と前記重畳状態における前記翼部の風圧中心とは、側方視において重なり、前記翼部が前記展開状態であるときの前記飛行体の重心と前記展開状態における前記翼部の風圧中心とは、側方視において重なる、飛行体。
【請求項3】
請求項1に記載の飛行体において、
前記展開状態では、前記展開翼部の少なくとも一部が、前記固定翼部の前縁よりも前後方向前方に位置し得る、飛行体。
【請求項4】
請求項1に記載の飛行体において、
前記翼部は、前記飛行体が水平方向に飛行する際に前記重畳状態とされ、前記飛行体が降下する際に前記展開状態とされる、飛行体。
【請求項5】
請求項1に記載の飛行体において、
前記展開翼部は、第1展開翼部と第2展開翼部とを含み、
前記第1展開翼部と前記第2展開翼部とがなす角度と、前記固定翼部と前記第2展開翼部とがなす角度とが同等である、飛行体。
【請求項6】
請求項1に記載の飛行体において、
前記飛行体が降下する際、前記固定翼部の前縁の鉛直方向における高さ位置は、前記固定翼部の後縁の鉛直方向における高さ位置より低い、飛行体。
【請求項7】
請求項1に記載の飛行体において、
前記展開状態において、前記飛行体の重心から前記固定翼部の後縁までの距離と、前記飛行体の前記重心から前記展開翼部の先端までの距離とが同等である、飛行体。
【請求項8】
請求項1に記載の飛行体において、
前記展開翼部は、前記胴体の幅方向に沿って延びる回転軸を中心にして回転することにより前記固定翼部から前後方向前方に展開可能である、飛行体。
発明の詳細な説明
【技術分野】
【0001】
本開示は、飛行体に関する。
続きを表示(約 1,100 文字)
【背景技術】
【0002】
特開2021-062794号公報には、様々な用途に利用される無人航空機(UAV:Unmanned Aerial Vehicle)が開示される。
【先行技術文献】
【特許文献】
【0003】
特開2021-062794号公報
【発明の概要】
【発明が解決しようとする課題】
【0004】
好適に飛行し得る飛行体が望まれる。
【0005】
本開示は、上述した課題を解決することを目的とする。
【課題を解決するための手段】
【0006】
本開示の態様は、胴体と、前記胴体から側方に延設されるとともに巡航時に揚力を発生させ得る翼部と、推力を発生させ得る推力発生部と、を備え、前記翼部は、前記胴体に固定された固定翼部と、前記固定翼部から前後方向前方に展開可能な展開翼部とを備え、前後方向前方に前記展開翼部が展開された状態である展開状態における前記翼部の翼平面形の面積は、前記展開翼部が前記固定翼部に重ね合わせられた状態である重畳状態における前記翼部の翼平面形の面積より大きい、飛行体である。
【発明の効果】
【0007】
本開示によれば、好適に飛行し得る飛行体を提供することができる。
【図面の簡単な説明】
【0008】
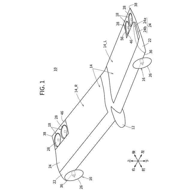
図1は、本実施形態に係る飛行体の概略斜視図である。
図2は、本実施形態に係る飛行体の概略斜視図である。
図3は、翼部の概略構成図である。
図4は、翼部の概略構成図である。
図5は、飛行体が水平方向に飛行している場合の翼部の状態を示す図である。
図6は、飛行体が降下している場合の翼部の状態を示す図である。
【発明を実施するための形態】
【0009】
飛行体の飛行形態として、目的地上空まで水平方向に飛行した後に、目的地上空で地上に対して垂直に近い角度で降下させる場合がある。飛行体を垂直に近い角度で降下させるためには、飛行体の降下速度を抑制することが好ましい。以下で説明する本開示は、飛行体の鉛直方向下方への降下速度を抑制することを可能とする。
【0010】
[1 飛行体10の全体構成]
図1及び図2は、本実施形態に係る飛行体10の概略斜視図である。図1は、固定翼部22と展開翼部24とが重畳された状態の飛行体10を示す。図2は、展開翼部24が固定翼部22から展開された状態の飛行体10を示す。図1に示す斜視図と図2に示す斜視図とでは、飛行体10を見る角度が相違する。
(【0011】以降は省略されています)
この特許をJ-PlatPat(特許庁公式サイト)で参照する
関連特許
本田技研工業株式会社
飛行体
1日前
本田技研工業株式会社
回転電機
3日前
本田技研工業株式会社
灯火器構造
1日前
本田技研工業株式会社
冷却液タンク
8日前
本田技研工業株式会社
蓄電システム
10日前
本田技研工業株式会社
回転電機用ロータ
17日前
本田技研工業株式会社
加水分解処理装置
1日前
本田技研工業株式会社
非接触電力伝送システム
10日前
本田技研工業株式会社
水素同位体分離システム
1日前
本田技研工業株式会社
電力変換装置、および車両
9日前
本田技研工業株式会社
積層体、積層体の製造方法
9日前
本田技研工業株式会社
軟磁性鋼板およびその製造方法
1日前
本田技研工業株式会社
有機物処理装置および有機物処理方法
1日前
本田技研工業株式会社
有機物処理装置および有機物処理方法
1日前
本田技研工業株式会社
電解システムの制御装置および電解システム
2日前
本田技研工業株式会社
音声認識装置、音声認識方法、及びプログラム
3日前
本田技研工業株式会社
三次元モデル生成装置及び三次元モデル評価システム
1日前
株式会社ダイセル
アルミニウム合金製摺動部材用潤滑剤
1日前
本田技研工業株式会社
有機物処理装置、有機物処理方法、および燃料ガスの製造方法
1日前
本田技研工業株式会社
電池の充電状態の補正方法、電池均等化方法、端末機器及び車両
16日前
タイガースポリマー株式会社
二次電池用加圧袋およびその製造方法
1日前
本田技研工業株式会社
熱媒体組み合わせ最適化装置、熱媒体組み合わせ最適化方法、および、熱媒体組み合わせ最適化プログラム
17日前
個人
飛行体
17日前
個人
人工台風
4か月前
個人
ドローン
8か月前
個人
着火ドローン
6か月前
個人
救難消防飛行艇
6か月前
個人
AERO JET
1か月前
個人
ドローンシステム
10か月前
東レ株式会社
中空回転翼
5か月前
個人
動力原付きグライダー
2か月前
個人
無人空中移動体
1か月前
個人
飛行自動車vol.2
24日前
個人
導風板付き垂直離着陸機
4か月前
個人
陸海空用の乗り物
7か月前
個人
連続回転可能な飛行機翼
6か月前
続きを見る
他の特許を見る