TOP
|
特許
|
意匠
|
商標
特許ウォッチ
Twitter
他の特許を見る
公開番号
2025178745
公報種別
公開特許公報(A)
公開日
2025-12-09
出願番号
2024085532
出願日
2024-05-27
発明の名称
電解装置
出願人
本田技研工業株式会社
代理人
弁理士法人桐朋
主分類
C25B
9/70 20210101AFI20251202BHJP(電気分解または電気泳動方法;そのための装置)
要約
【解決手段】電解装置10は、水を電気分解する水電解スタック16と、水電解スタックから排出される水から水素ガスを分離する気液分離器14と、気液分離器によって分離された水素ガスを昇圧する水素昇圧スタック22と、を備え、気液分離器は、水を貯留する貯留槽40を有し、貯留槽が許容できる水位の最大値である最大貯留水位100が予め定められており、水素昇圧スタックは、最大貯留水位よりも上方に位置する。
【選択図】図1
特許請求の範囲
【請求項1】
水を電気分解する水電解スタックと、
前記水電解スタックから排出される水から水素ガスを分離する気液分離器と、
前記気液分離器によって分離された水素ガスを昇圧する水素昇圧スタックと、
を備え、
前記気液分離器は、水を貯留する貯留槽を有し、
前記貯留槽が許容できる水位の最大値である最大貯留水位が予め定められており、
前記水素昇圧スタックは、前記最大貯留水位よりも上方に位置する、電解装置。
続きを表示(約 960 文字)
【請求項2】
請求項1に記載の電解装置であって、
前記水素昇圧スタックには、
前記水素昇圧スタックの内部に水素ガスを導入させるための水素ガス入口部と、
前記水素昇圧スタックの内部から未反応の水素ガスを導出させるための水素ガス出口部と、
が設けられ、
前記水素ガス入口部および前記水素ガス出口部は、前記最大貯留水位よりも上方に位置する、電解装置。
【請求項3】
請求項2に記載の電解装置であって、
前記気液分離器には、前記水素ガス出口部から導出された未反応の水素ガスと水とを前記気液分離器の内部に戻すための水素ガス戻りポートが設けられ、
前記水素ガス戻りポートは、前記最大貯留水位よりも上方に位置する、電解装置。
【請求項4】
請求項1に記載の電解装置であって、
前記電解装置には仰俯角の最大許容値である最大仰俯角が予め定められており、
前記貯留槽に前記最大貯留水位まで水が満たされた前記電解装置を前記最大仰俯角まで傾けた場合であっても、前記貯留槽に備えられた水素流路口の鉛直方向における高さ位置は、前記貯留槽の前記最大貯留水位よりも高い、電解装置。
【請求項5】
請求項1に記載の電解装置であって、
前記気液分離器と前記水素昇圧スタックとの間の距離は、前記気液分離器と前記水電解スタックとの間の距離よりも短い、電解装置。
【請求項6】
請求項1に記載の電解装置であって、
前記気液分離器と前記水素昇圧スタックとを接続する配管は、前記電解装置が傾けられていない状態で、前記気液分離器から前記水素昇圧スタックに向かって下降することなく上昇する、電解装置。
【請求項7】
請求項1に記載の電解装置であって、
前記気液分離器の少なくとも一部は、前記水素昇圧スタックの下方に位置する、電解装置。
【請求項8】
請求項1に記載の電解装置であって、
前記電解装置が傾けられていない状態で、前記水電解スタックの上端の鉛直方向における高さ位置は、前記水素昇圧スタックの上端の鉛直方向における高さ位置よりも低い、電解装置。
発明の詳細な説明
【技術分野】
【0001】
本開示は、電解装置に関する。
続きを表示(約 1,200 文字)
【背景技術】
【0002】
近年、より多くの人々が手ごろで信頼でき、持続可能かつ先進的なエネルギーへのアクセスを確保できるようにするため、エネルギーの効率化に貢献する電解装置に関する研究開発が行われている。
【0003】
特開2022-029892号公報には、水を電気分解する水電解スタックと、水電解スタックから排出される水から水素ガスを分離する気液分離器と、気液分離器によって分離された水素ガスを昇圧する水素昇圧スタックとを備える電解装置が開示されている。
【先行技術文献】
【特許文献】
【0004】
特開2022-029892号公報
【発明の概要】
【発明が解決しようとする課題】
【0005】
より良好な電解装置が待望されている。
【0006】
本開示は、上述した課題を解決することを目的とする。
【課題を解決するための手段】
【0007】
本開示の態様は、水を電気分解する水電解スタックと、前記水電解スタックから排出される水から水素ガスを分離する気液分離器と、前記気液分離器によって分離された水素ガスを昇圧する水素昇圧スタックと、を備え、前記気液分離器は、水を貯留する貯留槽を有し、前記貯留槽が許容できる水位の最大値である最大貯留水位が予め定められており、前記水素昇圧スタックは、前記最大貯留水位よりも上方に位置する、電解装置である。
【発明の効果】
【0008】
本開示によれば、より良好な電解装置を得ることができる。
【図面の簡単な説明】
【0009】
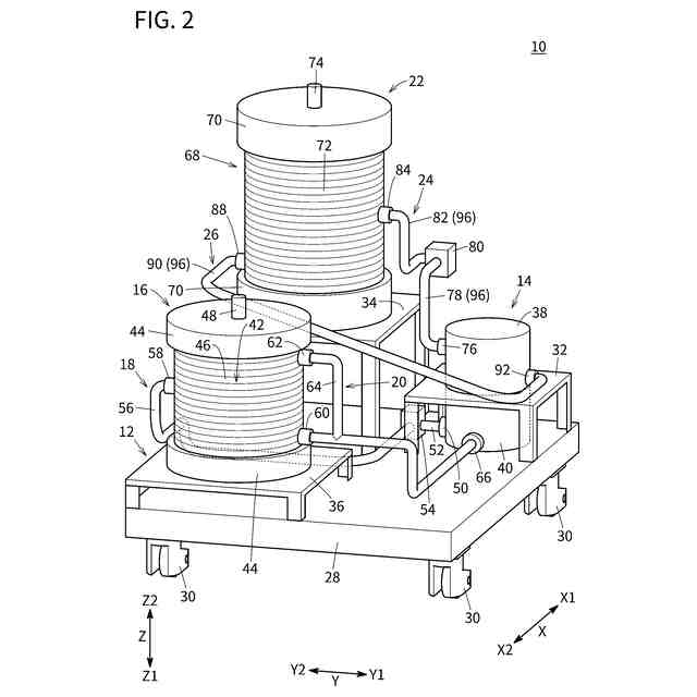
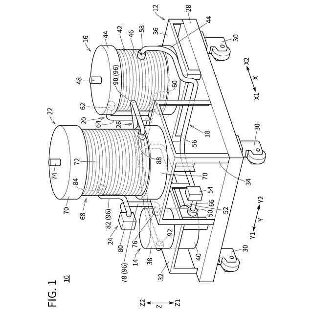
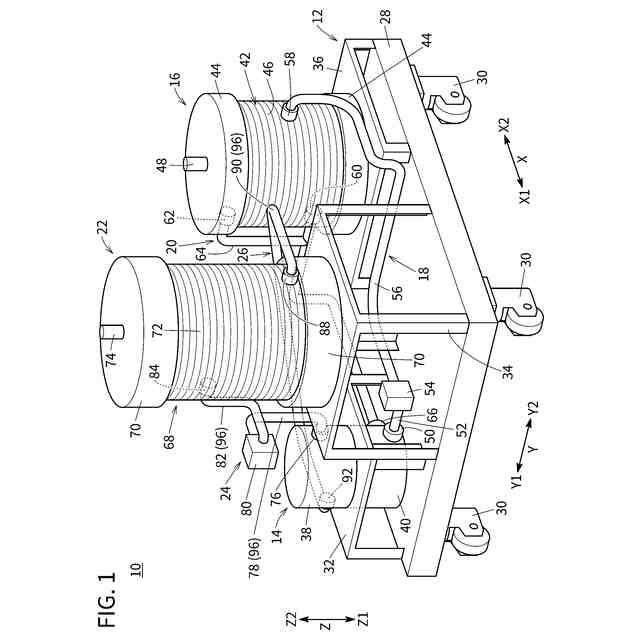
図1は、電解装置の斜視図である。
図2は、電解装置の斜視図である。
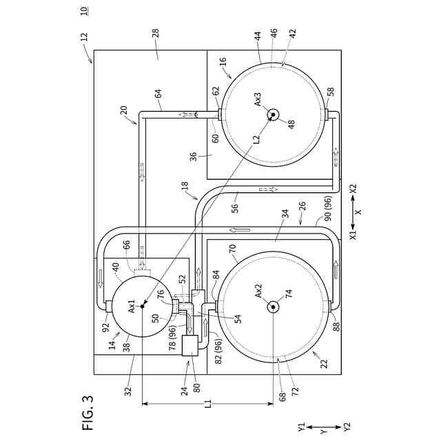
図3は、電解装置を上方から見た平面図である。
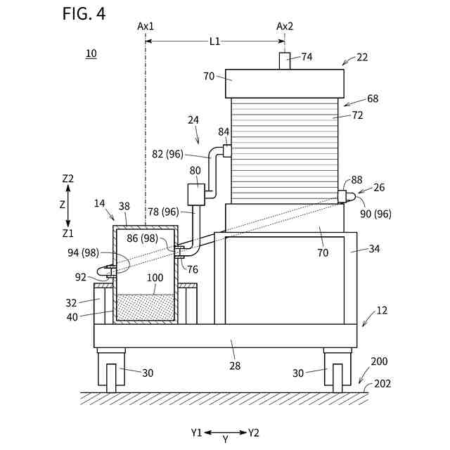
図4は、電解装置の一部省略断面説明図である。
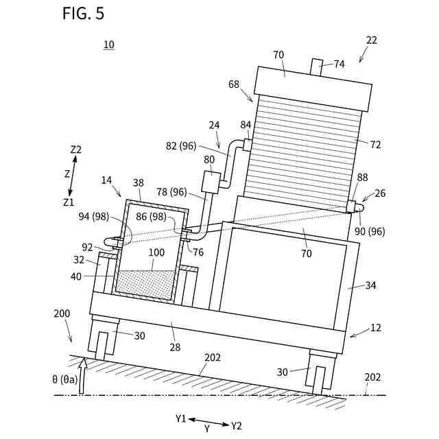
図5は、電解装置の傾斜状態の説明図である。
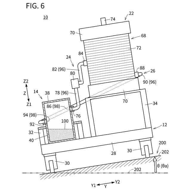
図6は、電解装置の傾斜状態の説明図である。
図7は、変形例に係る電解装置の一部省略断面説明図である。
【発明を実施するための形態】
【0010】
電解装置の気液分離器は、水を貯留する貯留槽を有する。このような電解装置を移動体に搭載した場合、電解装置は水平面に対して傾斜することがある。電解装置が水平面に対して傾斜すると、貯留槽に貯留されている水(液水)が水素昇圧スタックに流入することがある。この場合、水素昇圧スタックの内部に水が滞留し、水素昇圧スタックによって水素ガスを効率よく昇圧できないことがある。本開示では、貯留槽に貯留されている水の水素昇圧スタックへの流入を抑制するとともに水素ガスを効率よく昇圧することができる電解装置を提供し得る。
(【0011】以降は省略されています)
この特許をJ-PlatPat(特許庁公式サイト)で参照する
関連特許
本田技研工業株式会社
車両
1か月前
本田技研工業株式会社
飛行体
4日前
本田技研工業株式会社
電解装置
今日
本田技研工業株式会社
回転電機
6日前
本田技研工業株式会社
電動船外機
1か月前
本田技研工業株式会社
灯火器構造
4日前
本田技研工業株式会社
冷却液タンク
11日前
本田技研工業株式会社
蓄電システム
13日前
本田技研工業株式会社
差圧式電解装置
1か月前
本田技研工業株式会社
電池モジュール
1か月前
本田技研工業株式会社
電池モジュール
1か月前
本田技研工業株式会社
電動無段変速装置
1か月前
本田技研工業株式会社
スポット溶接方法
1か月前
本田技研工業株式会社
駆動装置ユニット
1か月前
本田技研工業株式会社
回転電機用ロータ
20日前
本田技研工業株式会社
回転電機のロータ
1か月前
本田技研工業株式会社
加水分解処理装置
4日前
本田技研工業株式会社
再生正極の製造方法
1か月前
本田技研工業株式会社
二酸化炭素回収装置
1か月前
本田技研工業株式会社
非接触電力伝送システム
13日前
本田技研工業株式会社
水素同位体分離システム
4日前
本田技研工業株式会社
金属シリコンの製造方法
20日前
本田技研工業株式会社
積層体、積層体の製造方法
12日前
本田技研工業株式会社
電力変換装置、および車両
12日前
本田技研工業株式会社
情報処理方法及びプログラム
1か月前
本田技研工業株式会社
給電システムおよび給電方法
1か月前
本田技研工業株式会社
制御装置、および、制御方法
1か月前
本田技研工業株式会社
電気化学式水素昇圧システム
1か月前
本田技研工業株式会社
軟磁性鋼板およびその製造方法
4日前
本田技研工業株式会社
有機物処理装置および有機物処理方法
4日前
本田技研工業株式会社
有機物処理装置および有機物処理方法
4日前
本田技研工業株式会社
負極、固体電池及び積層体の製造方法
1か月前
本田技研工業株式会社
正極、固体電池及び固体電池の製造方法
1か月前
本田技研工業株式会社
リチウム金属二次電池のエージング方法
1か月前
本田技研工業株式会社
リチウム金属二次電池用負極とその製造方法
1か月前
本田技研工業株式会社
二酸化炭素回収装置及び二酸化炭素回収方法
1か月前
続きを見る
他の特許を見る