TOP
|
特許
|
意匠
|
商標
特許ウォッチ
Twitter
他の特許を見る
10個以上の画像は省略されています。
公開番号
2025151987
公報種別
公開特許公報(A)
公開日
2025-10-09
出願番号
2024053668
出願日
2024-03-28
発明の名称
鞍乗り型車両
出願人
本田技研工業株式会社
代理人
個人
,
個人
,
個人
主分類
B62J
45/00 20200101AFI20251002BHJP(鉄道以外の路面車両)
要約
【課題】給電ユニットの端子差込部に対する蓋部材の被着を解除した状態のときに、搭乗者の目に付きにくい部位において、蓋部材の振れ動きを確実に規制することができる鞍乗り型車両を提供する。
【解決手段】鞍乗り型車両は、情報表示ユニット30、給電ユニット、蓋部材42を備えている。情報表示ユニット30は、車両の状態を表示する表示面31aを有する。給電ユニットは、外部機器の接続端子が挿脱可能な端子差込部41を有する。蓋部材42は、端子差込部41に対して脱着可能とされている。給電ユニットは、情報表示ユニット30の表示面31aと相反方向を向く背面の側に、当該背面の少なくとも一部との間に隙間を挟んで配置される。蓋部材42は、端子差込部41に被着される被着状態と、情報表示ユニット30と給電ユニットの間の隙間に固定される固定状態と、に遷移可能とされている。
【選択図】図2
特許請求の範囲
【請求項1】
車両の状態を表示する表示面(31a)を有する情報表示ユニット(30)と、
外部機器の接続端子が挿脱可能な端子差込部(41)を有する給電ユニット(40)と、
前記端子差込部(41)に対して脱着可能な蓋部材(42)と、を備える鞍乗り型車両において、
前記給電ユニット(40)は、前記情報表示ユニット(30)の前記表示面(31a)と相反方向を向く背面(31b)の側に、当該背面(31b)の少なくとも一部との間に隙間(39)を挟んで配置され、
前記蓋部材(42)は、前記端子差込部(41)に被着される被着状態と、前記情報表示ユニット(30)と前記給電ユニット(40)の間の前記隙間(39)に固定される固定状態と、に遷移可能であることを特徴とする鞍乗り型車両。
続きを表示(約 2,000 文字)
【請求項2】
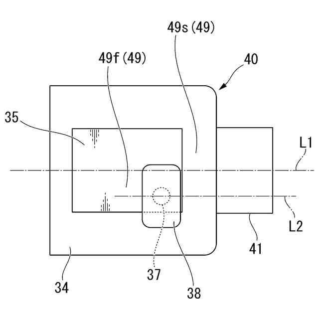
前記給電ユニット(40)は、前記情報表示ユニット(30)の前記背面と対向する位置に、前記蓋部材(42)を前記隙間の固定位置に案内可能な摺動案内面(49)を備えているとともに、前記摺動案内面(49)と交差する面に、前記端子差込部(41)を備えていることを特徴とする請求項1に記載の鞍乗り型車両。
【請求項3】
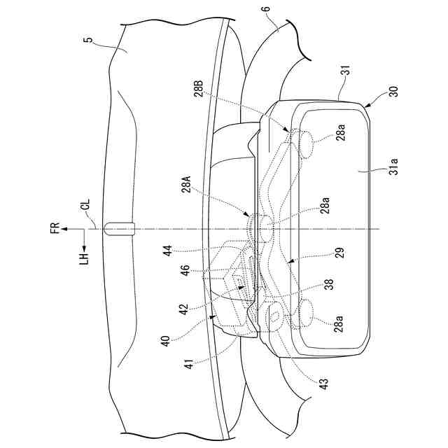
前記情報表示ユニット(30)を前記背面(31b)の側で車体に固定する固定ステー(28A)をさらに備え、
前記蓋部材(42)は、前記固定状態において、車幅方向の中心(CL)を基準として車幅方向の同側に配置される前記固定ステー(28A)の外側の側辺に対し、少なくとも一部が車幅方向外側に離間していることを特徴とする請求項2に記載の鞍乗り型車両。
【請求項4】
前記蓋部材(42)は、前記端子差込部(41)に被着される蓋本体部(43)を有し、
前記固定状態において、前記蓋本体部(43)は、前記隙間(39)に収容され、前記蓋本体部(43)の頂部壁(43b)と前記背面(31b)との間の離間距離(T1)は、前記背面(31b)と前記固定ステー(28A)との間の離間距離(T2)よりも小さく、前記蓋本体部(43)の下面部(43c)と前記給電ユニット(40)との間の離間距離(T3)は、前記給電ユニット(40)と前記固定ステー(28A)との間の離間距離(T4)よりも小さいことを特徴とする請求項3に記載の鞍乗り型車両。
【請求項5】
前記蓋部材(42)は、前記固定状態において、前記蓋本体部(43)の被着方向視での中心が前記端子差込部(41)の挿脱中心軸線(L1)に対して前記固定ステーから離間する側にオフセットして固定されることを特徴とする請求項4に記載の鞍乗り型車両。
【請求項6】
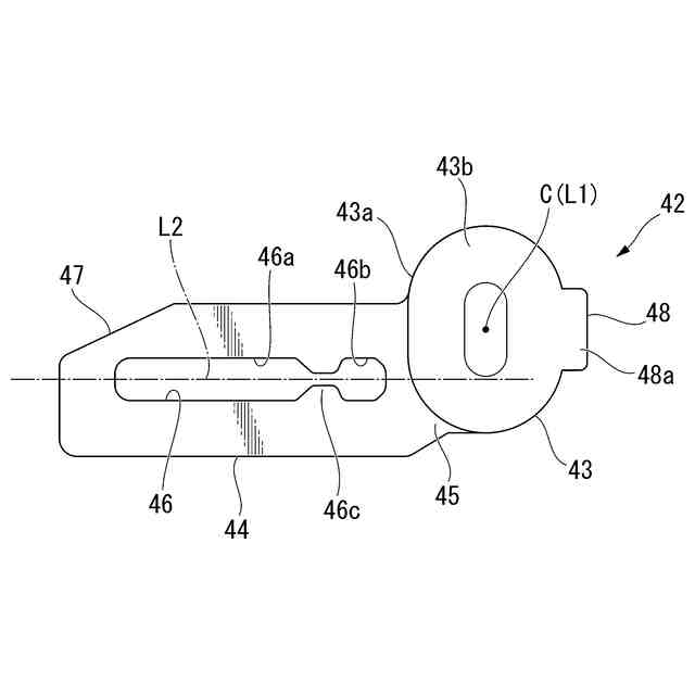
前記給電ユニット(40)は、前記摺動案内面(49)に支持突起(37)が突設され、
前記蓋部材(42)は、
前記蓋本体部(43)と、
前記蓋本体部(43)に撓み変形可能に連結された舌片部(44)と、を備え、
前記舌片部(44)には、
当該舌片部(44)の長手方向に沿って延び、前記支持突起(37)に摺動及び回動可能に係合されるガイド孔(46)と、
当該舌片部(44)の前記蓋本体部(43)との連結部(45)と逆側で、かつ前記固定ステー(28A)に近接する側の隅部に設けられた切欠き面(47)と、を備え、
前記切欠き面(47)は、前記固定状態において、前記固定ステー(28A)と当接することを特徴とする請求項5に記載の鞍乗り型車両。
【請求項7】
前記舌片部(44)の前記ガイド孔(46)は、前記蓋部材(42)が前記被着状態であるときに、その延出方向の中心軸線(L2)が、前記端子差込部(41)の前記挿脱中心軸線(L1)と略平行で、かつ、前記挿脱中心軸線(L1)に対して前記固定ステー(28A)から離間する側にオフセットするように形成されていることを特徴とする請求項6に記載の鞍乗り型車両。
【請求項8】
前記固定ステー(28A)と前記情報表示ユニット(30)との間に前記固定ステー(28A)に固定される被せ部材(29)をさらに備え、
前記蓋本体部(43)の被着側厚み(H1)は、前記舌片部(44)の前記摺動案内面(49)と直交する方向の厚み(H2)よりも厚く設定され、
前記固定状態において、前記蓋本体部(43)が前記被せ部材(29)に当接し、かつ、前記舌片部(44)が前記固定ステー(28A)に当接することを特徴とする請求項6に記載の鞍乗り型車両。
【請求項9】
前記舌片部(44)の前記ガイド孔(46)は、
前記蓋部材(42)が前記被着状態から前記固定状態に遷移するまでの間に、前記支持突起(37)と係合される第1孔領域(46a)と、
前記蓋部材(42)が前記固定状態に遷移したときに、前記支持突起(37)と係合される第2孔領域(46b)と、
前記第1孔領域(46a)と前記第2孔領域(46b)の間にあって、当該ガイド孔(46)の延出方向と交差する方向の幅が他の部位よりも狭いくびれ部(46c)と、を備え、
前記蓋部材(42)が前記被着状態から前記固定状態に遷移するときに、前記支持突起(37)が前記くびれ部(46c)を乗り越えて前記第2孔領域(46b)に係合されることを特徴とする請求項6に記載の鞍乗り型車両。
【請求項10】
前記蓋本体部(43)の前記舌片部(44)との連結部(45)と相反する位置の側面には、指掛け用の凸部(48)が形成されていることを特徴とする請求項6に記載の鞍乗り型車両。
発明の詳細な説明
【技術分野】
【0001】
本発明は、鞍乗り型車両に関するものである。
続きを表示(約 1,900 文字)
【背景技術】
【0002】
自動二輪車等の鞍乗り型車両では、操舵用のハンドルの車幅方向の略中央領域に、走行速度や燃料残量、走行距離等の様々な車両の状態を表示する情報表示パネル(情報表示ユニット)が設置されている。近年、この種の鞍乗り型車両において、情報表示パネルの表示面の背面側にUSBチャージャ等の給電ユニットを配置し、運転者の手の届き易い位置において、スマートフォン等の外部機器に充電を行えるようにすることが望まれている。
【0003】
USBチャージャ等の給電ユニットは、外部機器の接続端子を接続するための端子差込部を有する。端子差込部は、外部機器の接続端子が取り外されると、接続口が直接外部に開口することになるため、接続端子が取り外された後に開口部分を別部材によって閉塞することが望ましい。
【0004】
端子差込部を有する機器の技術としては、端子差込部の外側を覆う蓋部材(カバー部材)に撓み変形可能な舌片部を設け、その舌片部を筐体に引き出し可能に連結したものが案出されている(例えば、特許文献1参照)。
この機器の蓋部材は、端子差込部に外部機器の接続端子を接続する場合には、舌片部をヒンジ支点として外側に開かれ、端子差込部に外部機器の接続端子を接続しない場合には、端子差込部の外側を覆うように閉じられる。
【先行技術文献】
【特許文献】
【0005】
特開2010-238660号公報
【発明の概要】
【発明が解決しようとする課題】
【0006】
自動二輪車等の鞍乗り型車両は、車両駆動部の振動や走行振動が常に入力されることに加え、車両の加減速や転舵等によって車体に大きな荷重が入力される頻度が高い。このため、特許文献1に記載の蓋部材の技術を上記の鞍乗り型車両にそのまま適用した場合には、端子差込部に外部機器の接続端子を接続したときに、舌片部を介して支持された蓋部材の蓋本体部が振れ動き易くなる。この場合、蓋本体部が周囲の機器に当接して当接音を発生する恐れがあり、舌片部を振動しにくい部材にする等の対策が必要である。
【0007】
そこで本発明は、給電ユニットの端子差込部に対する蓋部材の被着を解除した状態のときに、搭乗者の目に付きにくい部位において、蓋部材の振れ動きを確実に規制することができる鞍乗り型車両を提供しようとするものである。
【課題を解決するための手段】
【0008】
上記課題の解決手段として、本発明の第1態様の鞍乗り型車両は、車両の状態を表示する表示面(31a)を有する情報表示ユニット(30)と、外部機器の接続端子が挿脱可能な端子差込部(41)を有する給電ユニット(40)と、前記端子差込部(41)に対して脱着可能な蓋部材(42)と、を備える鞍乗り型車両において、前記給電ユニット(40)は、前記情報表示ユニット(30)の前記表示面(31a)と相反方向を向く背面(31b)の側に、当該背面(31b)の少なくとも一部との間に隙間(39)を挟んで配置され、前記蓋部材(42)は、前記端子差込部(41)に被着される被着状態と、前記情報表示ユニット(30)と前記給電ユニット(40)の間の前記隙間(39)に固定される固定状態と、に遷移可能であることを特徴とする。
【0009】
本態様の鞍乗り型車両では、蓋部材が端子差込部に被着されないときには、蓋部材が情報表示ユニットと給電ユニットの間の隙間に固定されるため、蓋部材が安定状態に維持され、外部から振動や衝撃を受けた場合にも蓋部材の振れが小さくなる。
また、蓋部材が端子差込部に被着されないときには、情報表示ユニットの表示面の背面側で蓋部材が固定されるため、情報表示ユニットの表示面を目視する利用者から蓋部材が見えにくくなり、外観が良好になる。また、給電ユニットが情報表示ユニットの背面の側に位置されるため、外部機器の接続端子が給電ユニットの端子差込部に差し込まれて使用されるときにあっても端子差込部に雨滴等が直接当たりにくくなる。
【0010】
本発明の第2態様の鞍乗り型車両は、第1態様において、給電ユニット(40)は、情報表示ユニット(30)の背面と対向する位置に、蓋部材(42)を隙間(39)の固定位置に案内可能な摺動案内面(49)を備えているとともに、摺動案内面(49)と交差する面に、端子差込部(41)を備えていることを特徴とする。
(【0011】以降は省略されています)
この特許をJ-PlatPat(特許庁公式サイト)で参照する
関連特許
本田技研工業株式会社
装置
16日前
本田技研工業株式会社
車両
2日前
本田技研工業株式会社
車両
1か月前
本田技研工業株式会社
車両
17日前
本田技研工業株式会社
車両
2日前
本田技研工業株式会社
車両
3日前
本田技研工業株式会社
車両
3日前
本田技研工業株式会社
モータ
13日前
本田技研工業株式会社
飛行体
3日前
本田技研工業株式会社
移動体
4日前
本田技研工業株式会社
エンジン
3日前
本田技研工業株式会社
ステータ
9日前
本田技研工業株式会社
電気機器
3日前
本田技研工業株式会社
保管装置
11日前
本田技研工業株式会社
除草装置
2日前
本田技研工業株式会社
保持装置
10日前
本田技研工業株式会社
排気装置
2日前
本田技研工業株式会社
保管装置
11日前
本田技研工業株式会社
固体電池
11日前
本田技研工業株式会社
受電装置
11日前
本田技研工業株式会社
固体電池
2日前
本田技研工業株式会社
電気機器
4日前
本田技研工業株式会社
排気装置
2日前
本田技研工業株式会社
バッテリ
10日前
本田技研工業株式会社
内燃機関
2日前
本田技研工業株式会社
バッテリ
10日前
本田技研工業株式会社
内燃機関
16日前
本田技研工業株式会社
内燃機関
16日前
本田技研工業株式会社
通知装置
16日前
本田技研工業株式会社
電解装置
24日前
本田技研工業株式会社
会話装置
9日前
本田技研工業株式会社
制御装置
2日前
本田技研工業株式会社
ロボット
1か月前
本田技研工業株式会社
電気部品
3日前
本田技研工業株式会社
固体電池
4日前
本田技研工業株式会社
電気機器
4日前
続きを見る
他の特許を見る