TOP
|
特許
|
意匠
|
商標
特許ウォッチ
Twitter
他の特許を見る
公開番号
2025154963
公報種別
公開特許公報(A)
公開日
2025-10-10
出願番号
2024058280
出願日
2024-03-29
発明の名称
能動型振動騒音制御装置
出願人
本田技研工業株式会社
代理人
弁理士法人磯野国際特許商標事務所
主分類
G10K
11/178 20060101AFI20251002BHJP(楽器;音響)
要約
【課題】周期性騒音成分が小さい場合でも外乱の混入を正確に判定して安定的に騒音を低減できる。
【解決手段】騒音制御装置100は、騒音を打ち消すための打消音を出力するスピーカ12a-12dと、騒音および打消音から誤差信号eを生成する誤差マイク13a-13dと、騒音に相当する参照信号rから打消音yを生成する制御フィルタと、を備えている。また、騒音制御装置100は、誤差信号eを用いて外乱の有無を判定する外乱判定部を備えている。そして、外乱判定部は、複数入力される参照信号rのそれぞれと、誤差信号eと、の相関関数を足し合わせて全体の相関を計算し、全体の相関に基づいて外乱の有無を判定する。
【選択図】図1
特許請求の範囲
【請求項1】
騒音を打ち消すための打消音を出力するスピーカと、
前記騒音および前記打消音から誤差信号を生成する誤差マイクと、
前記騒音に相当する参照信号から前記打消音を生成する制御フィルタと、
前記誤差信号を用いて外乱の有無を判定する外乱判定部と、を備え、
前記外乱判定部は、複数入力される前記参照信号のそれぞれと、前記誤差信号と、の相関関数を足し合わせて全体の相関を計算し、
前記全体の相関に基づいて外乱の有無を判定する、ことを特徴とする能動型振動騒音制御装置。
続きを表示(約 1,600 文字)
【請求項2】
前記外乱判定部は、複数入力される前記参照信号のうち少なくとも一対の前記参照信号の相関を求め、
前記全体の相関から求められた前記参照信号の相関を取り除く、ことを特徴とする請求項1記載の能動型振動騒音制御装置。
【請求項3】
前記誤差マイクは複数設けられ、
前記外乱判定部は、それぞれの前記誤差マイクで生成された誤差信号から前記全体の相関に基づいて外乱の有無を判定し、
前記参照信号のうち一対の相関の値を、それぞれの前記誤差マイクの判定の際に共通の相関の値として用いる、ことを特徴とする請求項2記載の能動型振動騒音制御装置。
【請求項4】
前記外乱判定部は、前記全体の相関に基づく値が予め設定された第1閾値より小さくかつ、前記全体の相関に基づく値の差分が予め設定された第2閾値より大きい際に外乱有りと判定する、ことを特徴とする請求項1記載の能動型振動騒音制御装置。
【請求項5】
前記外乱判定部は、エアコンの風量を制御するエアコンブロア電圧を外乱の判定に用いるとともに、
前記制御フィルタは、前記全体の相関に基づく値が予め設定された第1閾値より小さくかつ、前記エアコンブロア電圧から得られる前記エアコンの風量の値が予め設定された第3閾値より大きい際に外乱が生じていると判定する、ことを特徴とする請求項1記載の能動型振動騒音制御装置。
【請求項6】
前記外乱判定部は、窓の開閉を制御する窓制御信号を外乱の判定に用いるとともに、
前記全体の相関に基づく値が予め設定された第1閾値より小さくかつ、前記窓の開閉状態が開であることを窓制御信号により検知すると、外乱有りと判定する、ことを特徴とする請求項1記載の能動型振動騒音制御装置。
【請求項7】
前記外乱判定部で判定された外乱の有無に応じて前記制御フィルタの動作を設定する制御動作設定部と、
前記誤差マイクと同じ車室内に設けられる参照用マイクと、を備え、
前記制御フィルタは、前記参照用マイクの検出値を前記参照信号として前記打消音を生成可能であり、
前記制御動作設定部は、前記外乱判定部により外乱があると判定された場合は、前記参照用マイクの検出値による打消音の生成を停止する、ことを特徴とする請求項1記載の能動型振動騒音制御装置。
【請求項8】
前記制御動作設定部は、前記外乱判定部により外乱があると判定された場合、前記制御フィルタによる学習を停止すると共に、前記学習を停止する前の前記制御フィルタまたは、学習とは無関係の固定フィルタに切替えて前記打消音の出力を継続するとともに、参照信号を参照用マイクの検出値から加速度センサの検出値に切り替える、ことを特徴とする請求項7記載の能動型振動騒音制御装置。
【請求項9】
騒音を打ち消すための打消音を出力するスピーカと、
前記騒音および前記打消音から誤差信号を生成する誤差マイクと、
前記騒音に相当する参照信号から前記打消音を生成する制御フィルタと、
前記誤差信号を用いて外乱の有無を判定する外乱判定部と、を備え、
前記外乱判定部は、複数入力される前記参照信号のそれぞれと、前記誤差信号と、の相関関数を足し合わせて全体の相関を計算する際、前記参照信号と前記誤差信号とが同符号の場合は、前記相関関数を所定の数値とし、前記参照信号と前記誤差信号とが同符号でない場合は、前記相関関数を前記所定の数値と絶対値が同じく、符号が逆の値として、複数入力される前記参照信号のそれぞれと前記誤差信号との相関関数を足し合わせた全体の相関関数に基づいて外乱の有無を判定する、ことを特徴とする能動型振動騒音制御装置。
発明の詳細な説明
【技術分野】
【0001】
本発明は、能動型振動騒音制御装置に関する。
続きを表示(約 2,300 文字)
【背景技術】
【0002】
従来の能動型振動騒音制御装置は、騒音を打ち消すための打消音を出力する打消音出力装置と、騒音に基づいて騒音信号を生成する騒音信号生成装置と、騒音信号に基づいて打消音出力装置を制御する制御装置と、を備えている。
制御装置は、騒音信号が時系列に蓄積されたバッファデータを取得し、バッファデータを分割することで複数の分割データを生成し、複数の分割データに基づいてバッファデータの相関値を算出している。そして、相関値に基づいてバッファデータに混入する外乱の有無を検出し、バッファデータに混入する外乱の有無に応じて打消音出力装置に対する制御を切り替えている(例えば特許文献参照)。
【先行技術文献】
【特許文献】
【0003】
特開2023-144502
【発明の概要】
【発明が解決しようとする課題】
【0004】
ところで、周期性騒音成分が小さい場合(例えば、電動車両やハイブリッド車の電動走行モードでエンジン音がない場合など)がある。このような場合、ロードノイズや空力騒音が支配的で室内騒音がランダム性の強い音となるため、自己相関が必然的に小さくなっている。
このため、従来の能動型振動騒音制御装置のように外乱の混入を相関値の減少で判断しようとしても、正確に判定できない。
したがって、従来のものでは、外乱の有無により、室内騒音を低減させる打消音のオンオフまたは増減させる制御が困難であった。また、騒音を増幅させてしまう虞れもあり騒音の低減効果が安定しない。このため、さらなる改良が求められている。
本案は、周期性騒音成分が小さい場合でも外乱の混入を正確に判定して安定的に騒音を低減できる能動型振動騒音制御装置を提供することを課題している。
【課題を解決するための手段】
【0005】
前記課題を解決するため、本発明の能動型振動騒音制御装置は、騒音を打ち消すための打消音を出力するスピーカと、騒音および打消音から誤差信号を生成する誤差マイクと、を備えている。能動型振動騒音制御装置は、騒音に相当する参照信号から打消音を生成する制御フィルタと、誤差信号を用いて外乱の有無を判定する外乱判定部と、を備える。外乱判定部は、複数入力される参照信号のそれぞれと、誤差信号と、の相関関数を足し合わせて全体の相関を計算し、全体の相関に基づいて外乱の有無を判定する、ことを特徴とする。
【発明の効果】
【0006】
本発明によれば、周期性騒音成分が小さい場合でも外乱の混入を正確に判定して安定的に騒音を低減できる、能動型振動騒音制御装置が提供される。
【図面の簡単な説明】
【0007】
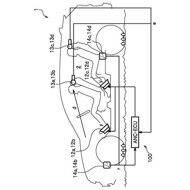
第一実施形態の能動型振動騒音制御装置を適用した車両の構成を説明する模式的な側面図である。
第一実施形態の能動型振動騒音制御装置を適用した車両の模式的な平面図である。
第一実施形態の能動型振動騒音制御装置で、一つの誤差マイクを用いて機能を説明するブロック図である。
第一実施形態の能動型振動騒音制御装置で、複数の誤差マイクを用いる構成を示すブロック図である。
第一実施形態の外乱判定部による制御を説明するフローチャートである。
外乱判定部による制御にエアコンの風量を用いたフローチャートである。
外乱判定部による制御に窓の開閉状態を用いたフローチャートである。
第二実施形態の能動型振動騒音制御装置で、参照用マイクを加えた構成を示すブロック図である。
第二実施形態の能動型振動騒音制御装置で、外乱の有無の判定結果を制御フィルタの制御に用いるフローチャートである。
【発明を実施するための形態】
【0008】
以下は、本発明の実施形態について、適宜図面を参照しながら説明するものである。同一の構成要素には同一の符号を付し、重複する説明を省略する。なお、本明細書中において、各種符号に併記される「^」(ハット)は、同定値または推定値を示す。「^」は、図中では、各種符号の上に付されているが、本文中では、各種符号の後に付されている。
[第一実施形態]
図1は、第一実施形態に係る能動型振動騒音制御装置(以下、「騒音制御装置」あるいは「ANC-ECU」とも略称する)100が適用された車両1を示している。車両1の説明において、同一の要素には同一の番号を付し、重複する説明は省略する。また、方向を説明する場合は、車両1の運転者から見た前後左右上下(xyz)に基づいて説明する。なお、車幅方向と左右方向は同義である。
【0009】
騒音制御装置100は、車両1の車室2内で発生する騒音dを低減するためのANC装置(Active Noise Control Device)である。より詳細には、騒音制御装置100は、騒音dとは逆位相の打消音yを生成し、生成した打消音yを騒音dと干渉させる。これにより、騒音制御装置100は、低減対象となる騒音dを低減させることができる。
【0010】
例えば、騒音制御装置100の低減対象となる騒音dは、路面からの力による車輪の振動に起因するロードノイズである。なお、騒音制御装置100の低減対象となる騒音dは、ロードノイズ以外の騒音(例えば、内燃機関や電動モータ等の駆動源の振動に起因する駆動系騒音または風切り音など)であっても良い。
(【0011】以降は省略されています)
この特許をJ-PlatPat(特許庁公式サイト)で参照する
関連特許
本田技研工業株式会社
車両
1か月前
本田技研工業株式会社
車両
1か月前
本田技研工業株式会社
車両
1か月前
本田技研工業株式会社
固体電池
1か月前
本田技研工業株式会社
触媒装置
1か月前
本田技研工業株式会社
排気装置
1か月前
本田技研工業株式会社
制御装置
1か月前
本田技研工業株式会社
発電セル
1か月前
本田技研工業株式会社
排気装置
1か月前
本田技研工業株式会社
排気装置
1か月前
本田技研工業株式会社
固体電池
1か月前
本田技研工業株式会社
内燃機関
1か月前
本田技研工業株式会社
除草装置
1か月前
本田技研工業株式会社
二次電池
1か月前
本田技研工業株式会社
リアクトル
1か月前
本田技研工業株式会社
全固体電池
1か月前
本田技研工業株式会社
鞍乗型車両
1か月前
本田技研工業株式会社
電動船外機
1か月前
本田技研工業株式会社
全固体電池
1か月前
本田技研工業株式会社
鞍乗型車両
1か月前
本田技研工業株式会社
電極積層体
1か月前
本田技研工業株式会社
鞍乗型車両
1か月前
本田技研工業株式会社
作業システム
1か月前
本田技研工業株式会社
始動制御装置
1か月前
本田技研工業株式会社
鞍乗り型車両
1か月前
本田技研工業株式会社
始動制御装置
1か月前
本田技研工業株式会社
冷却液タンク
2日前
本田技研工業株式会社
燃料電池構造
1か月前
本田技研工業株式会社
燃料電池装置
1か月前
本田技研工業株式会社
電池製造装置
1か月前
本田技研工業株式会社
車両制御装置
1か月前
本田技研工業株式会社
車両制御装置
1か月前
本田技研工業株式会社
蓄電システム
4日前
本田技研工業株式会社
電池の処理方法
1か月前
本田技研工業株式会社
差圧式電解装置
1か月前
本田技研工業株式会社
電池モジュール
1か月前
続きを見る
他の特許を見る