TOP
|
特許
|
意匠
|
商標
特許ウォッチ
Twitter
他の特許を見る
公開番号
2025161699
公報種別
公開特許公報(A)
公開日
2025-10-24
出願番号
2024150389
出願日
2024-08-30
発明の名称
音響調整装置
出願人
固昌通訊股ふん有限公司
,
Cotron Corporation
代理人
個人
主分類
G10K
15/04 20060101AFI20251017BHJP(楽器;音響)
要約
【課題】長期間に亘って好ましい脳波の誘導効果を発生させる音響調整装置を提供する。
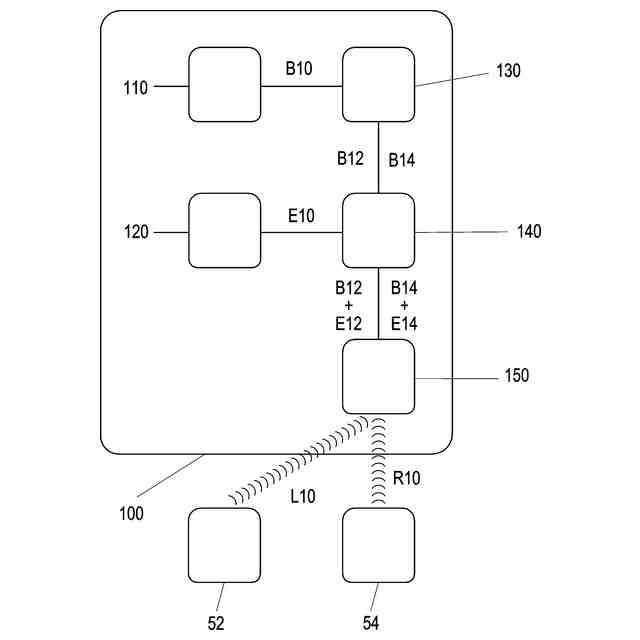
【解決手段】音響調整装置100において、外部音源受信器120は、外部から左耳外部オーディオE12と右耳外部オーディオE14を含むバイノーラルオーディオである外部オーディオE10を受信する。周波数調整器130は、背景音源110が生成するモノラルオーディオである雨音のような背景オーディオB10を受信し、それを左耳背景オーディオB12と右耳背景オーディオB14に分離し、かつ、左耳背景オーディオの第1の周波数と右耳背景オーディオの第2の周波数に周波数差値を設定する。ミキサ140は、外部オーディオと左耳背景オーディオを左耳オーディオL10に混合し、かつ、外部オーディオと右耳背景オーディオを右耳オーディオに混合する。出力ポート150は、左耳オーディオを左耳スピーカ52に出力し、かつ、右耳オーディオを右耳スピーカに出力する。
【選択図】図1
特許請求の範囲
【請求項1】
背景オーディオを提供するために用いられ、前記背景オーディオは、モノラルオーディオである、背景音源と、
外部から外部オーディオを受信するために用いられる外部音源受信器と、
前記背景オーディオを受信し、それを左耳背景オーディオと右耳背景オーディオに調整するために用いられ、前記左耳背景オーディオの第1の周波数と前記右耳背景オーディオの第2の周波数は周波数差値を有する、周波数調整器と、
前記外部オーディオと前記左耳背景オーディオを左耳オーディオに混合するために用いられ、前記外部オーディオと前記右耳背景オーディオを右耳オーディオに混合するために用いられるミキサと、
前記左耳オーディオを左耳スピーカに出力するために用いられ、前記右耳オーディオを右耳スピーカに出力するために用いられる出力ポートと、
を備える、音響調整装置。
続きを表示(約 560 文字)
【請求項2】
前記ミキサは混合時に、前記左耳オーディオにおける前記左耳背景オーディオの音量を調整することと、前記右耳オーディオにおける前記右耳背景オーディオの音量を調整することと、をさらに含む、
請求項1に記載の音響調整装置。
【請求項3】
前記外部音源受信器は無線受信機である、
請求項1に記載の音響調整装置。
【請求項4】
前記外部オーディオは、左耳外部オーディオと右耳外部オーディオを含むバイノーラルオーディオであり、前記ミキサは、前記左耳外部オーディオと前記左耳背景オーディオを前記左耳オーディオに混合するために用いられ、前記ミキサは、前記右耳外部オーディオと前記右耳背景オーディオを前記右耳オーディオに混合するために用いられる、
請求項1に記載の音響調整装置。
【請求項5】
前記背景音源は、アルゴリズムを使用して、前記背景オーディオを生成する、
請求項1に記載の音響調整装置。
【請求項6】
前記背景オーディオは雨音オーディオである、
請求項5に記載の音響調整装置。
【請求項7】
前記背景オーディオは事前に録音され、前記背景音源に記憶される、
請求項1に記載の音響調整装置。
発明の詳細な説明
【技術分野】
【0001】
本発明は調整装置に関し、特に音響調整装置に関する。
続きを表示(約 1,200 文字)
【背景技術】
【0002】
科学技術の急速な進歩とオーディオビジュアルコンテンツの隆盛に伴い、人々は、周囲の人に迷惑をかけずに音楽を聴いたり、オーディオビジュアルコンテンツを楽しんだりするためにヘッドフォンを使用することが増えている。しかしながら、ヘッドフォンの使用体験をどのように向上させるかは、ヘッドフォン業界が常に取り組んでいる部分である。
【発明の概要】
【発明が解決しようとする課題】
【0003】
本発明は、使用者にバイノーラルビート(binaural beats)を知覚させることができる音響調整装置を提供する。
【課題を解決するための手段】
【0004】
本発明の音響調整装置は、背景音源と、外部音源受信器と、周波数調整器と、ミキサと、出力ポートと、を備える。背景音源は、背景オーディオを提供するために用いられる。背景オーディオは、モノラルオーディオである。外部音源受信器は、外部から外部オーディオを受信するために用いられる。周波数調整器は、背景オーディオを受信し、それを左耳背景オーディオと右耳背景オーディオに調整するために用いられる。左耳背景オーディオの第1の周波数と右耳背景オーディオの第2の周波数は周波数差値を有する。ミキサは、外部オーディオと左耳背景オーディオを左耳オーディオに混合するために用いられ、外部オーディオと右耳背景オーディオを右耳オーディオに混合するために用いられる。出力ポートは、左耳オーディオを左耳スピーカに出力するために用いられ、右耳オーディオを右耳スピーカに出力するために用いられる。
【0005】
上記音響調整装置の一実施形態において、ミキサは混合時に、左耳オーディオにおける左耳背景オーディオの音量を調整することと、右耳オーディオにおける右耳背景オーディオの音量を調整することと、をさらに含む。
【0006】
上記音響調整装置の一実施形態において、外部音源受信器は無線受信機である。
【0007】
上記音響調整装置の一実施形態において、外部オーディオは、左耳外部オーディオと右耳外部オーディオを含むバイノーラルオーディオである。ミキサは、左耳外部オーディオと左耳背景オーディオを左耳オーディオに混合するために用いられ、ミキサは、右耳外部オーディオと右耳背景オーディオを右耳オーディオに混合するために用いられる。
【0008】
上記音響調整装置の一実施形態において、背景音源は、アルゴリズムを使用して、背景オーディオを生成する。
【0009】
上記音響調整装置の一実施形態において、背景オーディオは雨音オーディオである。
【0010】
上記音響調整装置の一実施形態において、背景オーディオは事前に録音され、背景音源に記憶される。
【発明の効果】
(【0011】以降は省略されています)
この特許をJ-PlatPat(特許庁公式サイト)で参照する
関連特許
個人
木管楽器
20日前
個人
管楽器用リガチャ-
6日前
DIC株式会社
吸音材及び吸音部品
今日
株式会社SinasSP
自動騒音低減装置
11日前
日本軽金属株式会社
遮音壁
18日前
トヨタ自動車株式会社
判定装置
13日前
カシオ計算機株式会社
発音装置、発音方法及びプログラム
13日前
株式会社第一興商
カラオケ装置
18日前
株式会社第一興商
カラオケ装置
24日前
ブラザー工業株式会社
カラオケ装置及びカラオケプログラム
18日前
日本電気株式会社
放送用システムおよび字幕作成方法
20日前
シャープ株式会社
電子機器および電子機器の制御方法
18日前
カシオ計算機株式会社
電子鍵盤楽器
24日前
大建工業株式会社
吸音体及び音環境調整構造
13日前
ブラザー工業株式会社
音声録音装置、及び、音声録音用プログラム
17日前
ブラザー工業株式会社
カラオケ用プログラム、及び、カラオケ装置
17日前
株式会社JVCケンウッド
収音装置、収音方法、およびプログラム
13日前
カシオ計算機株式会社
電子楽器、電子楽器の制御方法及びプログラム
24日前
有限会社ツバサ
エレキギターおよび保護フィルム付きの樹脂プレート
11日前
株式会社河合楽器製作所
鍵盤楽器の鍵盤装置
19日前
株式会社河合楽器製作所
鍵盤楽器の鍵盤装置
19日前
トヨタ自動車株式会社
運転者認知機能改善システム
24日前
株式会社リコー
対話装置、対話システム、対話方法及びプログラム
17日前
株式会社NTTドコモ
情報処理装置及び情報処理方法
18日前
株式会社SUBARU
乗物用遮音構造体、及び車両
10日前
株式会社河合楽器製作所
鍵盤楽器の楽音制御装置
19日前
株式会社河合楽器製作所
鍵盤楽器の楽音制御方法
19日前
株式会社河合楽器製作所
鍵盤楽器の楽音制御方法
19日前
大阪瓦斯株式会社
音声情報出力システムおよび音声情報出力装置
18日前
株式会社プレシジョン
プログラム、情報処理装置及び方法
24日前
本田技研工業株式会社
能動型振動騒音低減装置
18日前
本田技研工業株式会社
能動型振動騒音制御装置
17日前
本田技研工業株式会社
能動型振動騒音制御装置
17日前
本田技研工業株式会社
能動型振動騒音低減装置
18日前
カシオ計算機株式会社
情報処理装置、方法およびプログラム
24日前
株式会社クラウン・パッケージ
音発生具及び音発生具を形成するブランクシート
17日前
続きを見る
他の特許を見る