TOP
|
特許
|
意匠
|
商標
特許ウォッチ
Twitter
他の特許を見る
公開番号
2025179803
公報種別
公開特許公報(A)
公開日
2025-12-10
出願番号
2025066520
出願日
2025-04-14
発明の名称
共鳴装置及び共鳴装置ユニット
出願人
個人
代理人
個人
主分類
G10H
3/26 20060101AFI20251203BHJP(楽器;音響)
要約
【課題】音叉やシンギングボウルが発した音を長時間持続させることができる共鳴装置及び共鳴装置ユニットを提供する。
【解決手段】本発明の共鳴装置1は、振動して音を発する発音体60と、音を拾って電気信号に変換するマイクロフォン30と、マイクロフォンが変換した電気信号を増幅するアンプ40と、増幅された電気信号を機械的振動として出力する振動スピーカー50とを備える。振動スピーカーは発音体に設置される。本発明の共鳴装置によれば音叉やシンギングボウルが発した音を長時間持続させることができる。
【選択図】図1
特許請求の範囲
【請求項1】
振動して音を発する発音体と、前記音を拾って電気信号に変換するマイクロフォンと、前記マイクロフォンが変換した前記電気信号を増幅するアンプと、増幅された前記電気信号を機械的振動として出力する振動スピーカーとを備えており、
前記振動スピーカーが前記発音体に設置されることを特徴とする共鳴装置。
続きを表示(約 360 文字)
【請求項2】
前記発音体が共鳴箱と前記共鳴箱に設置される音叉で構成され、
前記振動スピーカーが前記共鳴箱に設置されることを特徴とする請求項1に記載の共鳴装置。
【請求項3】
前記発音体がクリスタルシンギングボウルで構成され、
前記振動スピーカーが前記クリスタルシンギングボウルに設置されることを特徴とする請求項1に記載の共鳴装置。
【請求項4】
前記マイクロフォンがエレクトレットコンデンサーマイクロフォンであることを特徴とする請求項1~3のいずれか一項に記載の共鳴装置。
【請求項5】
請求項1~3のいずれか一項に記載の共鳴装置を複数備えており、
各共鳴装置が備える前記発音体の固有振動数が同一か又は異なることを特徴とする共鳴装置ユニット。
発明の詳細な説明
【技術分野】
【0001】
本発明は、音叉やシンギングボウルが発した音を長時間持続させることができる共鳴装置及び共鳴装置ユニットに関する。
続きを表示(約 1,600 文字)
【背景技術】
【0002】
音叉を利用する振動発生装置や、音叉と共鳴箱を利用する共鳴装置が種々知られている。
例えば、電磁石を利用して強制的に音叉を振動させ続けることができる電磁音叉が知られている。
また、特許文献1には共鳴箱上に固有振動数が異なる複数の音叉を並べた音叉構造体が開示されており、この音叉構造体を使用することで正確な生音を使用した音感のトレーニングを行うことができる。
【0003】
また、音叉ではなく音叉型水晶振動子を用いるものとして、特許文献2には固有振動数が異なる複数の音叉型水晶振動子、音叉型水晶振動子を発信させる発信回路等、発信動作を制御するキーボード、スピーカー等を備える電子楽器が開示されている。この電子楽器によればキーボードの操作によって任意の音叉を振動させてスピーカーから音を出力させることができる。
【先行技術文献】
【特許文献】
【0004】
実用新案登録第3093634号公報
特開平2-146598号公報
【発明の概要】
【発明が解決しようとする課題】
【0005】
電磁音叉を使用すれば音叉が発した音を長時間持続させることができるが、電磁石の磁力に反応させるべく音叉の二股部分に加工が必要であり、これにより音叉の固有振動数が変化するおそれがある。
【0006】
本発明はこのような問題に鑑み、音叉やシンギングボウルが発した音を長時間持続させることができる共鳴装置及び共鳴装置ユニットを提供することを課題とする。
【課題を解決するための手段】
【0007】
本発明の共鳴装置は、振動して音を発する発音体と、前記音を拾って電気信号に変換するマイクロフォンと、前記マイクロフォンが変換した前記電気信号を増幅するアンプと、増幅された前記電気信号を機械的振動として出力する振動スピーカーとを備えており、前記振動スピーカーが前記発音体に設置されることを特徴とする。
また、前記発音体が共鳴箱と前記共鳴箱に設置される音叉で構成され、前記振動スピーカーが前記共鳴箱に設置されることを特徴とする。
また、前記発音体がクリスタルシンギングボウルで構成され、前記振動スピーカーが前記クリスタルシンギングボウルに設置されることを特徴とする。
また、前記マイクロフォンがエレクトレットコンデンサーマイクロフォンであることを特徴とする。
本発明の共鳴装置ユニットは、上記共鳴装置を複数備えており、各共鳴装置が備える前記発音体の固有振動数が同一か又は異なることを特徴とする。
【発明の効果】
【0008】
本発明の共鳴装置によれば音叉やシンギングボウルが発した音を長時間持続させることができる。
本発明の共鳴装置ユニットによれば複数の振動数の音を同時に長時間持続させることができる。
【図面の簡単な説明】
【0009】
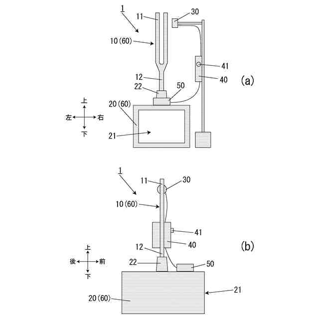
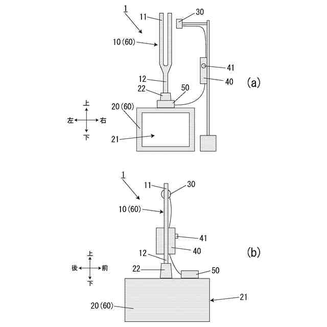
第1の実施の形態の共鳴装置の正面図(a)及び左側面図(b)
共鳴装置を模式的に表した平面図(a)及び(b)
第2の実施の形態の共鳴装置の斜視図(a)、平面図(b)及び(c)
共鳴装置ユニットを模式的に表した平面図
共鳴装置ユニットの変形例を模式的に表した平面図
【発明を実施するための形態】
【0010】
[第1の実施の形態]
本発明の共鳴装置の第1の実施の形態について説明する。
共鳴装置は音叉が発した音を長時間持続させることができる装置である。図1に示すように共鳴装置1は発音体60(音叉10、共鳴箱20)、マイクロフォン30、アンプ40及び振動スピーカー50から概略構成される。
(【0011】以降は省略されています)
この特許をJ-PlatPat(特許庁公式サイト)で参照する
関連特許
個人
共鳴装置及び共鳴装置ユニット
1日前
豊田合成株式会社
車両の音出力装置
1日前
個人
和音記号表示システム、和音記号表示プログラム及び音出力システム
1日前
LINEヤフー株式会社
プログラム、情報処理方法、情報処理装置
1日前
ソノス・インコーポレイテッド
生成メディアコンテンツの再生
2日前
コーニンクレッカ フィリップス エヌ ヴェ
オーディオ符号化のための装置及び方法
2日前
国立研究開発法人農業・食品産業技術総合研究機構
植物の根頭がんしゅ病防除剤及び植物の根頭がんしゅ病防除方法
1日前
他の特許を見る