TOP
|
特許
|
意匠
|
商標
特許ウォッチ
Twitter
他の特許を見る
10個以上の画像は省略されています。
公開番号
2025179548
公報種別
公開特許公報(A)
公開日
2025-12-10
出願番号
2024086379
出願日
2024-05-28
発明の名称
車両の音出力装置
出願人
豊田合成株式会社
代理人
個人
,
個人
主分類
G10K
9/12 20060101AFI20251203BHJP(楽器;音響)
要約
【課題】車両が接近していることを気付かせる対象を増やしつつ、車両から遠ざかった箇所にも音波を到達させる。
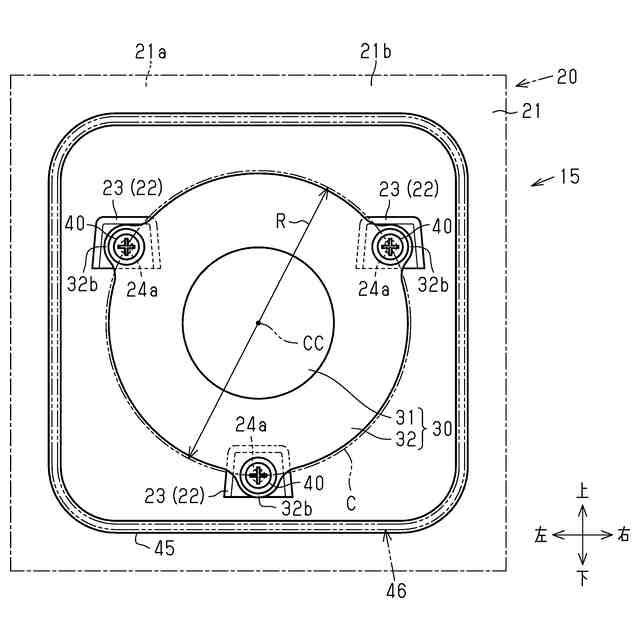
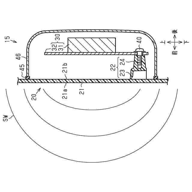
【解決手段】音出力装置15は、外装部材本体21と、通電により振動する振動装置30と、それらを連結する複数の連結部22とを備える。この音出力装置15では、各連結部22を介して伝播される振動装置30の振動により外装部材本体21を振動させることで、外装部材本体21の振動に伴い発生する音波を前方に放射する。複数の連結部22は、外装部材本体21の後面21b上に位置する仮想円Cの円周上に配置される。仮想円Cの直径Rは、振動装置30が低周波数帯で振動するときには、外装部材本体21を、仮想円Cの円中心CCを音源とする点音源にする値であり、かつ振動装置30が高周波数帯で振動するときには、外装部材本体21を面音源にする値に設定されている。
【選択図】図2
特許請求の範囲
【請求項1】
車両の外装部材の骨格部分を構成する外装部材本体と、
前記車両の外内方向における前記外装部材本体の内方に配置され、かつ通電により振動する振動装置と、
前記外内方向における前記外装部材本体の内面からそれぞれ内方へ突出するとともに、前記外装部材本体及び前記振動装置を連結する複数の連結部と、を備え、
各連結部を介して伝播される前記振動装置の振動により前記外装部材本体を振動させることで、前記外装部材本体の振動に伴い発生する音波を車外に放射する、車両の音出力装置であって、
複数の前記連結部は、前記外装部材本体の前記内面上に位置する仮想円の円周上に配置されており、
前記仮想円の直径は、前記振動装置が低周波数帯で振動するときには、前記外装部材本体を、前記仮想円の円中心を音源とする点音源にする値であり、かつ前記振動装置が前記低周波数帯よりも高い高周波数帯で振動するときには、前記外装部材本体を面音源にする値に設定されている、車両の音出力装置。
続きを表示(約 290 文字)
【請求項2】
前記振動装置は、前記低周波数帯では100Hz以上、かつ2000Hz以下の周波数で振動し、
前記振動装置は、前記高周波数帯では2000Hzよりも高い周波数で振動し、
前記仮想円の前記直径は、50mm以上、かつ250mm以下に設定されている、請求項1に記載の車両の音出力装置。
【請求項3】
前記振動装置に対する通電を制御する制御装置をさらに備え、
前記制御装置は、前記振動装置を振動させるときには、前記車両に搭載された車両用ランプを、前記振動装置の振動に連動させて点灯させる、請求項1又は請求項2に記載の車両の音出力装置。
発明の詳細な説明
【技術分野】
【0001】
本発明は、車両の音出力装置に関する。
続きを表示(約 1,700 文字)
【背景技術】
【0002】
特許文献1には、走行している車両の前方で動物が道路を急に横切ろうとした場合に、動物の車両との接触を回避するための車載システムが記載されている。この車載システムでは、車両の近くの動物を検出すると、25000Hz以上の周波数の音波を放射体から放射させることで、車両が接近していることを動物に気付かせる。車両の接近に気付いた動物は、不安で恐怖を感じるため、音源(放射体)から逃げようとする。このようにして、動物を立ち去らせることで、動物の車両との接触を回避することが可能である。
【先行技術文献】
【特許文献】
【0003】
特表2006-502729号公報
【発明の概要】
【発明が解決しようとする課題】
【0004】
ところが、上記車載システムでは、25000Hz以上の周波数の音波しか放射できないため、車両の接近を気付かせることのできる対象が動物に限られる。
また、音波の放射体として、車載スピーカーが用いられた場合には、スピーカーが点音源であることから、次の問題がある。それは、スピーカーから放射された音波が球面状に拡散するため、音波の届く距離が短い。遠くの動物には音波が届きにくい。車両の接近を気付かせることができるのは、車両の近くの動物に限られてしまう。
【課題を解決するための手段】
【0005】
上記課題を解決するための車両の音出力装置の各態様を記載する。
[態様1]車両の外装部材の骨格部分を構成する外装部材本体と、前記車両の外内方向における前記外装部材本体の内方に配置され、かつ通電により振動する振動装置と、前記外内方向における前記外装部材本体の内面からそれぞれ内方へ突出するとともに、前記外装部材本体及び前記振動装置を連結する複数の連結部と、を備え、各連結部を介して伝播される前記振動装置の振動により前記外装部材本体を振動させることで、前記外装部材本体の振動に伴い発生する音波を車外に放射する、車両の音出力装置であって、複数の前記連結部は、前記外装部材本体の前記内面上に位置する仮想円の円周上に配置されており、前記仮想円の直径は、前記振動装置が低周波数帯で振動するときには、前記外装部材本体を、前記仮想円の円中心を音源とする点音源にする値であり、かつ前記振動装置が前記低周波数帯よりも高い高周波数帯で振動するときには、前記外装部材本体を面音源にする値に設定されている、車両の音出力装置。
【0006】
上記の構成によれば、振動装置が低周波数帯で振動されると、外装部材本体は、仮想円の円中心を音源とする点音源になる。このとき、振動装置の振動は、各連結部を介して外装部材本体に伝播される。複数の連結部のそれぞれから伝播される振動が、外装部材本体の内面上に位置する仮想円の円中心で重なり合って強め合う。仮想円の円中心を中心として、外装部材本体が振動する。
【0007】
人に対する警告に有効な低周波数帯の音波が、外装部材本体における仮想円の円中心から車両の外内方向における外方に放射される。低周波数帯の音波が車両の周囲の人に届くことにより、その人は、車両が接近していることに気付かされる。
【0008】
上記振動により発生する音波は球面状に拡散しながら伝播するため、到達距離が短い。従って、車両が住宅地、市街地等を走行する際に、音波が遠くまで届きにくい。車両から遠い箇所では音波が聞こえにくく、騒音となりにくい。
【0009】
これに対し、振動装置が高周波数帯で振動されると、外装部材本体は面音源になる。振動装置の振動は、各連結部を介して外装部材本体に伝播される。複数の連結部のそれぞれから伝播される振動が、仮想円の円中心等、特定の箇所で重なり合いにくく、外装部材本体が振動する。
【0010】
動物に対する警告に有効な高周波数帯の音波が、外装部材本体から車両の外内方向における外方に放射される。高周波数帯の音波が動物に届くことにより、その動物は、車両が接近していることに気付かされる。
(【0011】以降は省略されています)
この特許をJ-PlatPat(特許庁公式サイト)で参照する
関連特許
他の特許を見る