TOP
|
特許
|
意匠
|
商標
特許ウォッチ
Twitter
他の特許を見る
10個以上の画像は省略されています。
公開番号
2025179760
公報種別
公開特許公報(A)
公開日
2025-12-10
出願番号
2024086706
出願日
2024-05-28
発明の名称
プログラム、情報処理方法、情報処理装置
出願人
LINEヤフー株式会社
代理人
弁理士法人よつ葉国際特許事務所
,
個人
,
個人
主分類
G10K
15/02 20060101AFI20251203BHJP(楽器;音響)
要約
【課題】プレイリストの生成に関する利便性を向上させる。
【解決手段】情報処理装置によって実行されるプログラムは、プレイリストを生成するための第1情報を取得することと、第1情報に基づいて、プレイリストに含める複数の楽曲を選定することと、プレイリストに含まれる複数の楽曲のうちの所定の楽曲の特徴と、第1情報とに基づいて、所定の楽曲に関する楽曲情報を生成することとを情報処理装置に実行させる。
【選択図】図1-1
特許請求の範囲
【請求項1】
情報処理装置によって実行されるプログラムであって、
プレイリストを生成するための第1情報を取得することと、
前記第1情報に基づいて、前記プレイリストに含める複数の楽曲を選定することと、
前記プレイリストに含まれる前記複数の楽曲のうちの所定の楽曲の特徴と、前記第1情報とに基づいて、前記所定の楽曲に関する楽曲情報を生成することと、
が前記情報処理装置によって実行される、
プログラム。
続きを表示(約 920 文字)
【請求項2】
請求項1に記載のプログラムであって、
前記第1情報は、前記プレイリストを生成するユーザによって入力されたプロンプトである、
プログラム。
【請求項3】
請求項2に記載のプログラムであって、
前記プロンプトの入力は音声またはテキストによる入力である、
プログラム。
【請求項4】
請求項1に記載のプログラムであって、
前記第1情報は、プレイリスト生成の条件に関するユーザの選択に基づいて自動生成されたプロンプトである、
プログラム。
【請求項5】
請求項1に記載のプログラムであって、
前記楽曲情報は、前記所定の楽曲の特徴を説明する文章に関する情報を含む、
プログラム。
【請求項6】
請求項2または請求項4に記載のプログラムであって、
第1プロンプトに基づき選定された第1プレイリストの第1楽曲に対する第1楽曲情報は、前記第1プロンプトとは異なる第2プロンプトに基づき選定された第2プレイリストの前記第1楽曲に対する第2楽曲情報と異なる、
プログラム。
【請求項7】
請求項6に記載のプログラムであって、
前記第1楽曲情報は、所定選定理由と第1選定理由とを含み、
前記第2楽曲情報は、前記所定選定理由と、前記第1選定理由とは異なる第2選定理由とを含む。
【請求項8】
請求項1に記載のプログラムであって、
前記選定することと、前記生成することとは、言語モデルによって実行される、
プログラム。
【請求項9】
請求項1に記載のプログラムであって、
前記選定することは、レコメンドシステムによって実行され、
前記生成することは、言語モデルによって実行される、
プログラム。
【請求項10】
請求項1に記載のプログラムであって、
前記プレイリストのタイトルを生成することをさらに実行する、
プログラム。
(【請求項11】以降は省略されています)
発明の詳細な説明
【技術分野】
【0001】
本開示は、プログラム、情報処理方法、情報処理装置等に関する。
続きを表示(約 2,700 文字)
【背景技術】
【0002】
複数の楽曲で構成されるプレイリストを自動生成する場合、ユーザは、楽曲がどのような理由でプレイリストに組み込まれたかを知りたいという需要がある。
例えば、特許文献1には、楽曲を指定することで、その楽曲についての紹介文データを楽曲紹介文データベースから取得して出力する楽曲紹介文生成装置が開示されている。
しかしながら、特許文献1に開示された手法では、プレイリストにかかわらず同一の曲については同じ楽曲紹介文が出力される。そのため、プレイリストと楽曲との関係をユーザが理解できない場合がある。
【先行技術文献】
【特許文献】
【0003】
特許5034599号
【発明の概要】
【発明が解決しようとする課題】
【0004】
本発明は上述のような技術背景のもとになされたものであり、その目的は、プレイリストと楽曲との関係をユーザが理解できるようにすることにある。
【課題を解決するための手段】
【0005】
本発明の第1の態様によると、情報処理装置によって実行されるプログラムは、プレイリストを生成するための第1情報を取得することと、第1情報に基づいて、プレイリストに含める複数の楽曲を選定することと、プレイリストに含まれる複数の楽曲のうちの所定の楽曲の特徴と、第1情報とに基づいて、所定の楽曲に関する楽曲情報を生成することとを情報処理装置に実行させる。
本発明の第2の態様によると、情報処理装置の情報処理方法は、プレイリストを生成するための第1情報を取得することと、第1情報に基づいて、プレイリストに含める複数の楽曲を選定することと、プレイリストに含まれる複数の楽曲のうちの所定の楽曲の特徴と、第1情報とに基づいて、所定の楽曲に関する楽曲情報を生成することとを含む。
本発明の第3の態様によると、情報処理装置は、プレイリストを生成するための第1情報を取得し、第1情報に基づいて、プレイリストに含める複数の楽曲を選定し、プレイリストに含まれる複数の楽曲のうちの所定の楽曲の特徴と、第1情報とに基づいて、所定の楽曲に関する楽曲情報を生成する、制御部を備える。
本発明の第4の態様によると、情報処理装置によって実行されるプログラムは、
既存のプレイリストに関する第1情報と、プレイリストに含まれる所定の楽曲の特徴とに基づいて、所定の楽曲に関する楽曲情報を生成することを情報処理装置に実行させる。
本発明の第5の態様によると、情報処理装置の情報処理方法は、
既存のプレイリストに関する第1情報と、プレイリストに含まれる所定の楽曲の特徴とに基づいて、所定の楽曲に関する楽曲情報を生成すること、を含む。
本発明の第6の態様によると、情報処理装置は、既存のプレイリストに関する第1情報と、プレイリストに含まれる所定の楽曲の特徴とに基づいて、所定の楽曲に関する楽曲情報を生成する制御部を備える。
【図面の簡単な説明】
【0006】
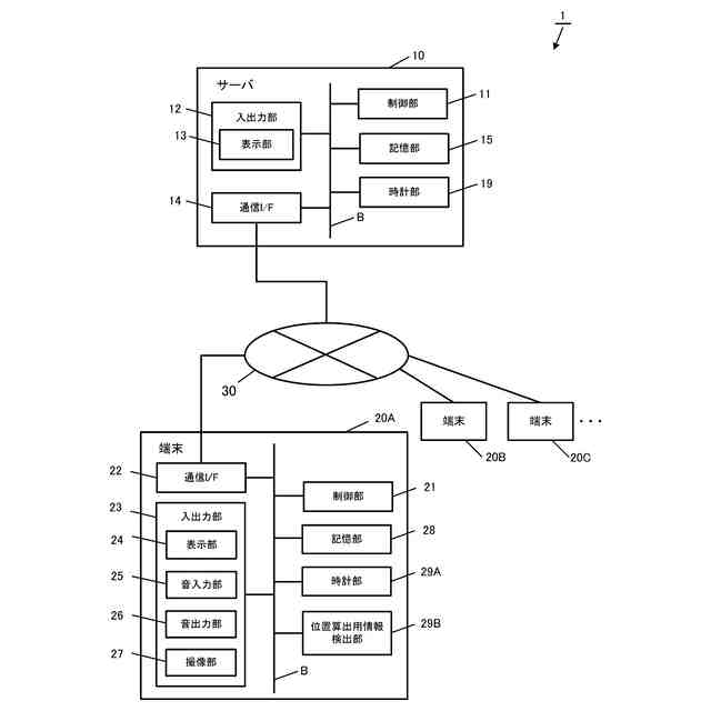
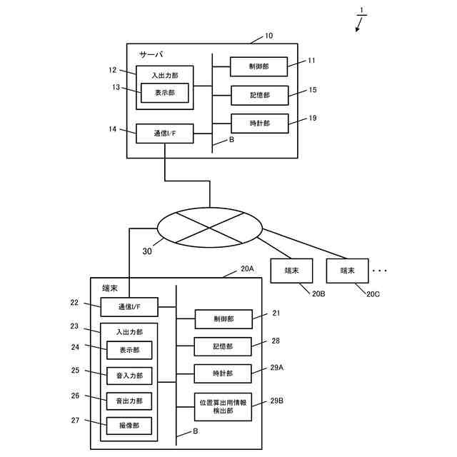
第1実施例に係る通信システムのシステム構成の一例を示す図。
第1実施例に係るサーバの制御部によって実現される機能の一例を示す図。
第1実施例に係るサーバの記憶部に記憶される情報の一例を示す図。
第1実施例に係るアカウント登録データの一例を示す図。
第1実施例に係る楽曲登録データの一例を示す図。
第1実施例に係る端末の制御部によって実現される機能の一例を示す図。
第1実施例に係る端末の記憶部に記憶される情報の一例を示す図。
第1実施例に係る端末の表示部に表示される画面の一例を示す図。
第1実施例に係る端末の表示部に表示される画面の一例を示す図。
第1実施例に係る端末の表示部に表示される画面の一例を示す図。
第1実施例に係る端末の表示部に表示される画面の一例を示す図。
第1実施例に係る端末の表示部に表示される画面の一例を示す図。
第1実施例に係る端末の表示部に表示される画面の一例を示す図。
第1実施例に係る端末の表示部に表示される画面の一例を示す図。
第1実施例に係る各装置が実行する処理の流れの一例を示すフローチャート。
第2実施例に係る端末の表示部に表示される画面の一例を示す図。
第2実施例に係る端末の表示部に表示される画面の一例を示す図。
第2実施例に係る端末の表示部に表示される画面の一例を示す図。
第2実施例に係る各装置が実行する処理の流れの一例を示すフローチャート。
第3実施例に係るサーバの記憶部に記憶される情報の一例を示す図。
第3実施例に係るアカウント管理データの一例を示す図。
第3実施例に係る端末の表示部に表示される画面の一例を示す図。
第3実施例に係る端末の表示部に表示される画面の一例を示す図。
第3実施例に係る端末の表示部に表示される画面の一例を示す図。
第3実施例に係る端末の表示部に表示される画面の一例を示す図。
第3実施例に係る各装置が実行する処理の流れの一例を示すフローチャート。
【発明を実施するための形態】
【0007】
<法的事項の遵守>
本明細書に記載の開示は、通信の秘密など、本開示の実施に必要な実施国の法的事項遵守を前提とすることに留意されたい。
【0008】
<実施形態>
本明細書では、分かり易いように「例として」や「例えば」と記載する箇所があるが、該当箇所ばかりでなく、以下説明する実施形態の全体について、その記載内容に限定されるものではないことに留意されたい。
【0009】
本開示に係るプログラム等を実施するための実施形態について、図面を参照して説明する。
【0010】
本願請求項に係る発明の端末(本願発明の端末)の生産は、例として、ユーザが所有(所持)している端末で、本明細書に記載したプログラム(例として、アプリケーションプログラム)等が受信されることによって(または受信されて端末に記憶されることによって)、本端末において、本願請求項に係る発明の機能が実現可能となる状態が作り出される(本願請求項に係る発明が実行可能になる状態が作り出される)という概念を含んでもよい。
(【0011】以降は省略されています)
この特許をJ-PlatPat(特許庁公式サイト)で参照する
関連特許
個人
ギター
7日前
個人
遮音材
1か月前
個人
歌唱補助器具
1か月前
横浜ゴム株式会社
音響材
28日前
個人
音声出力装置
1か月前
三井化学株式会社
防音構造体
8日前
個人
共鳴装置及び共鳴装置ユニット
2日前
三井化学株式会社
防音構造体
8日前
豊田合成株式会社
車両の音出力装置
2日前
大和ハウス工業株式会社
音低減設備
1か月前
DIC株式会社
吸音材及び吸音部品
1か月前
個人
管楽器用音質改善留め具
22日前
NOK株式会社
吸音構造体
1か月前
横浜ゴム株式会社
多層空洞音響材
1か月前
株式会社デンソー
音低減装置
7日前
矢崎総業株式会社
車両用対話システム
1か月前
国立大学法人大阪大学
音声分析方法および音声分析装置
1日前
株式会社第一興商
カラオケ装置
1か月前
三井化学株式会社
防音構造体および自動車の防音構造
8日前
ヤマハ株式会社
鍵盤装置
15日前
ヤマハ株式会社
音処理装置及び音処理方法
22日前
有限会社 宮脇工房
モーター挙動音発生装置
1か月前
株式会社デンソー
制御装置、制御方法、及び制御プログラム
28日前
パイオニア株式会社
事故検知装置、事故検知方法および事故検知プログラム
1日前
株式会社第一興商
カラオケ装置、カラオケシステム
7日前
株式会社第一興商
カラオケ装置、カラオケシステム
1か月前
株式会社第一興商
カラオケ装置、カラオケシステム
14日前
株式会社コルグ
楽音信号変換装置、楽音信号変換方法、プログラム
1か月前
固昌通訊股ふん有限公司
音響調整装置
1か月前
個人
和音記号表示システム、和音記号表示プログラム及び音出力システム
2日前
本田技研工業株式会社
音声認識装置、音声認識方法、及びプログラム
9日前
トヨタ自動車株式会社
ブレーキインジケータシステム
7日前
株式会社東芝
発話言語理解のためのシステムおよび方法
1か月前
安克創新科技股フン有限公司
通話ノイズキャンセリング方法及びイヤホン
1か月前
株式会社枚方技研
方向付き楽器固定具
1か月前
株式会社デンソー
制御装置、ロボットシステム、制御方法、及び制御プログラム
1か月前
続きを見る
他の特許を見る