TOP
|
特許
|
意匠
|
商標
特許ウォッチ
Twitter
他の特許を見る
10個以上の画像は省略されています。
公開番号
2025176557
公報種別
公開特許公報(A)
公開日
2025-12-04
出願番号
2024082796
出願日
2024-05-21
発明の名称
防音構造体
出願人
三井化学株式会社
代理人
個人
,
個人
主分類
G10K
11/16 20060101AFI20251127BHJP(楽器;音響)
要約
【課題】十分な遮音性が得られ、曲面または凹凸を有する自動車のパネルまたはパネルに載置される自動車部材に容易に安定的に載置できる薄型で軽量の防音構造体を提供する。
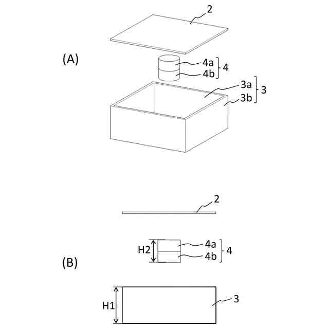
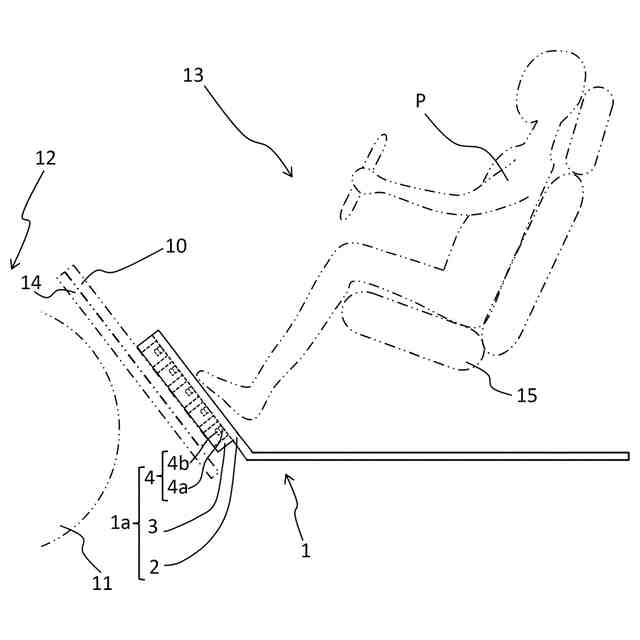
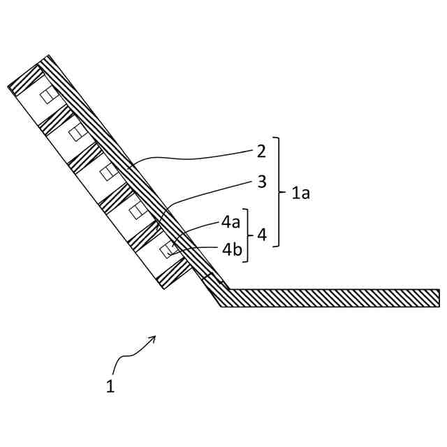
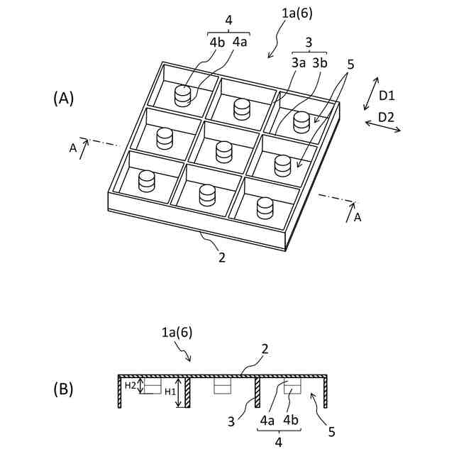
【解決手段】防音構造体1aが、自動車の前輪タイヤ11が収容される空間12と車室13とを区切る位置の一部に配置され、弾性を有する膜部2と、膜部2に立設されており弾性を有する支持壁部3と、膜部2に立設されている錘部4を有する。膜部2は支持壁部3によって複数の区画に分けられ、全ての区画または一部の区画の内部に錘部4が位置している。1つの区画に1つの錘部4が配置されている。支持壁部3の、膜部2に直交する方向に延びる高さは、錘部4の、膜部2に直交する方向に延びる高さよりも大きい。錘部4の各々が、弾性を有するばね部4aと、ばね部4aよりも質量が大きい質量部4bとを有するばねマス共振器を構成している。
【選択図】図2
特許請求の範囲
【請求項1】
自動車の、前輪タイヤが収容される空間と車室とを区切る位置の少なくとも一部に配置されており、
弾性を有する膜部と、前記膜部に立設されており弾性を有する支持壁部と、前記膜部に立設されている錘部と、を有し、
前記膜部は前記支持壁部によって複数の区画に分けられており、複数の前記区画の全ての内部に、または複数の前記区画のうちの一部の区画の内部に、前記錘部がそれぞれ位置しており、
内部に前記錘部が位置している前記区画においては、1つの前記区画に1つの前記錘部が配置されており、
前記支持壁部の、前記膜部に直交する方向に延びる高さは、前記錘部の、前記膜部に直交する方向に延びる高さよりも大きく、
前記錘部の各々が、弾性を有するばね部と、前記ばね部よりも質量が大きい質量部とを有するばねマス共振器を構成していることを特徴とする、防音構造体。
続きを表示(約 1,300 文字)
【請求項2】
前記膜部と前記支持壁部と前記ばね部はいずれも、エネルギー弾性を有しておらずゴム弾性を有する材料と、ゴム弾性を有しておらずエネルギー弾性を有する材料と、ゴム弾性とエネルギー弾性の両方を有する材料とのうちのいずれかからなる、請求項1に記載の防音構造体。
【請求項3】
前記膜部と前記支持壁部と前記ばね部はいずれも、23℃で周波数1Hz~1000Hzにおける動的貯蔵弾性率が0.01MPa以上100MPa以下である、請求項1または2に記載の防音構造体。
【請求項4】
前記膜部と前記支持壁部と前記ばね部はいずれも、23℃で周波数1Hz~1000Hzにおける損失正接が0.01以上0.50以下である、請求項3に記載の防音構造体。
【請求項5】
前記ばね部は、前記錘部の前記膜部に取り付けられている側に位置し、前記質量部は、前記錘部の前記膜部に取り付けられている側と反対側に位置する、請求項1または2に記載の防音構造体。
【請求項6】
自動車の、前輪タイヤが収容される空間と車室とを区切る位置の少なくとも一部に配置されており、
弾性を有する膜部と、前記膜部に立設されており弾性を有する支持壁部と、前記膜部に立設されている錘部と、を有し、
前記膜部は前記支持壁部によって複数の区画に分けられており、複数の前記区画の全ての内部に、または複数の前記区画のうちの一部の区画の内部に、前記錘部がそれぞれ位置しており、
内部に前記錘部が位置している前記区画においては、1つの前記区画に1つの前記錘部が配置されており、
前記支持壁部の、前記膜部に直交する方向に延びる高さは、前記錘部の、前記膜部に直交する方向に延びる高さよりも大きく、
前記膜部がばね部として、前記錘部が質量部としてばねマス共振器を構成していることを特徴とする、防音構造体。
【請求項7】
前記膜部と前記支持壁部はいずれも、エネルギー弾性を有しておらずゴム弾性を有する材料と、ゴム弾性を有しておらずエネルギー弾性を有する材料と、ゴム弾性とエネルギー弾性の両方を有する材料とのうちのいずれかからなる、請求項6に記載の防音構造体。
【請求項8】
前記膜部と前記支持壁部はいずれも、23℃で周波数1Hz~1000Hzにおける動的貯蔵弾性率が0.01MPa以上100MPa以下である、請求項6または7に記載の防音構造体。
【請求項9】
前記膜部と前記支持壁部はいずれも、23℃で周波数1Hz~1000Hzにおける損失正接が0.01以上0.50以下である、請求項8に記載の防音構造体。
【請求項10】
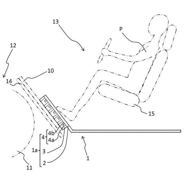
前記防音構造体が、前記車室の床面から前記空間を部分的に覆う位置にかけて敷設されているフロアカーペットの一部を構成するように形成されているか、または、前記フロアカーペットと、前記空間を部分的に覆うパネルまたはパネルに載置される自動車部材との間に挟まれている、請求項1または6に記載の防音構造体。
(【請求項11】以降は省略されています)
発明の詳細な説明
【技術分野】
【0001】
本発明は防音構造体に関する。
続きを表示(約 1,700 文字)
【背景技術】
【0002】
近年、自動車の車室内において、ロードノイズやタイヤパターンノイズ、風切り音やエンジン音に代表される騒音を遮断して、乗員に静粛で快適な空間を提供するために騒音を低減することが望まれている。そのため、自動車の外部から内部への騒音や振動の伝搬、また自動車の内部における車室外から車室内への騒音や振動の伝搬を抑える手段、すなわち、防音性の高い部材が求められている。近年では、自動車におけるエネルギー効率向上のため軽量の防音部材が求められている。自動車等に設置される防音構造体の例が、特許文献1~9に開示されている。
【0003】
特許文献1,2には、自動車のダッシュサイレンサー(ダッシュインシュレーターとも言う)が開示されている。これらのダッシュサイレンサーは、エンジンルームと車室との間の境界に位置するダッシュパネル(ダッシュボード)に積層されており、エンジンルームから車室内への騒音の進入を抑制している。ダッシュサイレンサーは、吸音材としてフェルトや発泡ウレタンを含む単層構造または多層構造を有している。
【0004】
特許文献3には車両用フロアカーペットの敷設構造が開示されている。この構造は、フロアパネル上の電源装置より前方に敷設された第1フロアカーペットと、電源装置を上方から覆う、第1フロアカーペットより高い遮音性能を有する第2フロアカーペットと、を有している。
【0005】
特許文献4には車両用フロアカーペットが開示されている。このフロアカーペットは、フロアパネルの凹部に装填されポリプロピレン発泡体からなるスペーサと、スペーサの上面に積層された遮音層と、遮音層の上面に積層された樹脂シート体と、樹脂シート体の上面に積層された吸音層と、吸音層の上面に設けられた表皮材と、を備えている。スペーサには、遮音層からフロアパネル側の下部に向かって延在し、フロアパネル側が閉塞されると共に遮音層側に開口部を有する複数の有底孔部が形成されている。
【0006】
特許文献5には自動車用フロア敷設体が開示されている。このフロア敷設体は、自動車のフロアパネル上に敷設されるフロアカーペットと、フロアカーペットの裏面に積層配設される衝撃吸収体とからなり、衝撃吸収体は、多数の筒状軟質樹脂粒子を集合成形してなるものである。
【0007】
特許文献6に記載された発明では、複数の個々のセルに分割された剛性のフレームと、フレキシブルな材料のシートと、複数の重りとを備えている音響減衰パネルにおいて、各重りは各セルにそれぞれ重りが設けられるようにフレキシブルな材料のシートに固定されており、減衰された音響は重りの質量の適切な選択により制御される。
【0008】
特許文献7に記載された発明では、弾性を有するシートと、シートを保持するとともにシートを区画部に区画する支持部とを備えている防音材において、区画部におけるシートの剛性とシートの面密度との関係が規定されている。
【0009】
特許文献8に記載された発明の遮音材は、平板状の基板部と、基板部と連結し所定の共振周波数を有する複数の共振部とを備えている構造体であって、複数の共振部のそれぞれは、錘部と、錘部を基板部と連結する連結部とを有しており、基板部に垂直な方向から見た投影図において、共振部の重心が基板部と連結部との接合領域の外側に位置するように構成されている。
【0010】
特許文献9に記載された発明の振動低減装置は、車体に装着されて車体を通じて伝達される振動を遮断する音響メタ構造を有し、車体に装着されて一定空間を一定領域に区画する十字形状のフレームと、フレームによって区画される各領域のコーナー部に構成されそれぞれの固有振動数を有するように構成されて車体からフレームを通じて伝達される振動を遮断する振動子とを含む。
【先行技術文献】
【特許文献】
(【0011】以降は省略されています)
この特許をJ-PlatPat(特許庁公式サイト)で参照する
関連特許
三井化学株式会社
共重合体
14日前
三井化学株式会社
混練装置
2か月前
三井化学株式会社
防音構造体
今日
三井化学株式会社
防音構造体
今日
三井化学株式会社
手術用器具
1か月前
三井化学株式会社
温度制御装置
27日前
三井化学株式会社
充電コネクタ
1か月前
三井化学株式会社
空中結像システム
1か月前
三井化学株式会社
ドローン用ブレード
1か月前
三井化学株式会社
自動車内装材用積層体
1か月前
三井化学株式会社
バックドア及び移動体
1か月前
三井化学株式会社
樹脂組成物及び成形体
1か月前
三井化学株式会社
樹脂組成物及び成形体
1か月前
三井化学株式会社
サイドドアおよび移動体
1か月前
三井化学株式会社
樹脂組成物および接着剤
1か月前
三井化学株式会社
サイドドアおよび移動体
1か月前
三井化学株式会社
重合体組成物および成形体
1か月前
三井化学株式会社
繊維および繊維の製造方法
1か月前
三井化学株式会社
アンダーカバー及び移動体
2か月前
三井化学株式会社
光学材料及びその製造方法
2か月前
三井化学株式会社
樹脂組成物およびその用途
2か月前
三井化学株式会社
絶縁電線、コイル及びモータ
1か月前
三井化学株式会社
熱可塑性エラストマー組成物
1か月前
三井化学株式会社
臭い除去触媒およびその用途
14日前
三井化学株式会社
エチレン共重合体の製造方法
1か月前
三井化学株式会社
粘着付与剤および粘着性組成物
1か月前
三井化学株式会社
極性重合体組成物および成形体
1か月前
三井化学株式会社
多孔質膜及び多孔質膜の製造方法
2か月前
三井化学株式会社
繊維強化樹脂組成物および成形体
1か月前
三井化学株式会社
光学材料の製造方法及び成形用部材
14日前
三井化学株式会社
組成物、積層体および包装フィルム
1日前
三井化学株式会社
積層体、包装材、蓋材およびラベル
1か月前
三井化学株式会社
非水電解液及び非水電解液二次電池
1か月前
三井化学株式会社
エラストマー組成物およびその用途
29日前
三井化学株式会社
防音構造体および自動車の防音構造
今日
三井化学株式会社
固体組成物及び固体組成物の製造方法
1か月前
続きを見る
他の特許を見る