TOP
|
特許
|
意匠
|
商標
特許ウォッチ
Twitter
他の特許を見る
公開番号
2025152255
公報種別
公開特許公報(A)
公開日
2025-10-09
出願番号
2024054071
出願日
2024-03-28
発明の名称
手術用器具
出願人
三井化学株式会社
代理人
個人
,
個人
,
個人
主分類
A61B
17/90 20060101AFI20251002BHJP(医学または獣医学;衛生学)
要約
【課題】脊椎固定手術が容易となる新規な手術用器具を提供する。
【解決手段】脊椎固定の手術において椎骨同士を固定する脊椎ロッドの曲げ具合を事前確認するための手術用器具であって、ロッド状の芯材を有し、芯材は、90°曲げ試験による戻り角度が15°以下である樹脂成形体を材料とし、手術用器具の全体の90質量%以上が樹脂材料で構成されており、手術用器具の全体の20質量%以上を芯材が占める手術用器具。
【選択図】図5
特許請求の範囲
【請求項1】
脊椎固定の手術において椎骨同士を固定する脊椎ロッドの曲げ具合を事前確認するための手術用器具であって、
ロッド状の芯材を有し、
前記芯材は、90°曲げ試験による戻り角度が15°以下である樹脂成形体を材料とし、
前記手術用器具の全体の90質量%以上が樹脂材料で構成されており、
前記手術用器具の全体の20質量%以上を前記芯材が占める手術用器具。
続きを表示(約 420 文字)
【請求項2】
前記樹脂成形体は、密度が950kg/m
3
以上、重量平均分子量(Mw)/数平均分子量(Mn)が5~15、炭素数3~6のα-オレフィン含量が2重量%未満であるエチレン単独重合体又はエチレン・α-オレフィン共重合体を材料とする請求項1に記載の手術用器具。
【請求項3】
前記芯材の外周面を被覆する被覆層を備え、
前記芯材は、シート状の複数の前記樹脂成形体を積層した積層体である請求項1又は2に記載の手術用器具。
【請求項4】
前記積層体は、複数の前記樹脂成形体の間に接合していない箇所を有する請求項3に記載の手術用器具。
【請求項5】
前記被覆層は、前記芯材の長手方向の長さを規定する目盛りを有する請求項3に記載の手術用器具。
【請求項6】
前記芯材は、長さ方向に直交する断面が矩形状である請求項1又は2に記載の手術用器具。
発明の詳細な説明
【技術分野】
【0001】
本発明は、手術用器具に関する。
続きを表示(約 1,000 文字)
【背景技術】
【0002】
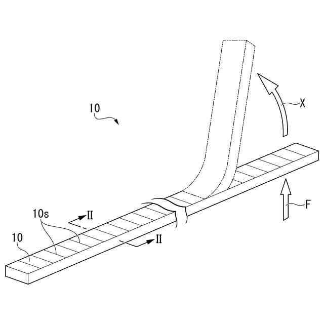
従来、脊椎外科手術の一つとして、脊椎固定手術がある。脊椎固定手術は、複数の椎骨間を脊椎ロッドを用いて固定する手術であり、例えば、脊椎管狭窄症、椎間板ヘルニア、脊椎側弯症、脊髄損傷、脊椎すべり症、脊椎腫瘍などの疾患を対象として行われる。
【0003】
脊椎固定手術では、脊椎ロッドにより椎骨を固定する際、脊椎ロッドの曲げ具合を確認するために、事前にトライアルロッド(手術用器具)を用いることがある(例えば、特許文献1参照)。特許文献1に記載のトライアルロッドは、金属材料製の芯材を、シリコーンゴム製の外チューブで覆う構成となっている。
【先行技術文献】
【特許文献】
【0004】
特許第6560632号公報
【発明の概要】
【発明が解決しようとする課題】
【0005】
脊椎固定手術においては、切開幅が小さく術野が狭い場合や、周辺組織が干渉するような位置への脊椎ロッドの取り付けが必要となる場合がある。このような場合、従来のトライアルロッドでは手術中の取り回しが困難となりやすく改善が求められていた。
【0006】
本発明はこのような事情に鑑みてなされたものであって、脊椎固定手術が容易となる新規な手術用器具を提供することを目的とする。
【課題を解決するための手段】
【0007】
上記トライアルロッドは、芯材が金属製であるため長さの調整が困難である。そのため、術野が狭い場合であっても、相対的に長いトライアルロッドを使う必要があり、手術中の取り回しが困難となりやすい。
【0008】
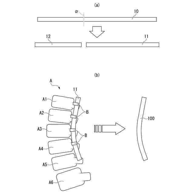
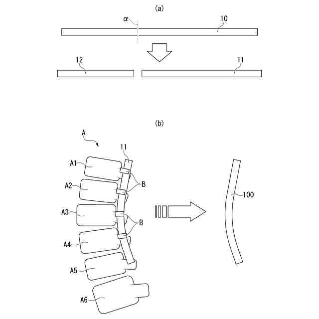
発明者らは、上記課題に対し、金属製の芯材を樹脂製とすることにより、容易に切断可能とすることを思いついた。しかし、単に樹脂製の芯材を採用した場合、脊椎ロッドの曲げ具合を確認すべく手術現場にてトライアルロッドを曲げたとしても、簡単に弾性回復してしまい、目的を果たすことが困難である。
【0009】
そこで、発明者らは上記観点からも課題について鋭意検討した結果、発明を完成させた。
【0010】
上記の課題を解決するため、本発明の一態様は、以下の態様を包含する。
(【0011】以降は省略されています)
この特許をJ-PlatPat(特許庁公式サイト)で参照する
関連特許
三井化学株式会社
手術用器具
24日前
三井化学株式会社
充電コネクタ
23日前
三井化学株式会社
空中結像システム
25日前
三井化学株式会社
ドローン用ブレード
24日前
三井化学株式会社
自動車内装材用積層体
23日前
三井化学株式会社
樹脂組成物及び成形体
19日前
三井化学株式会社
樹脂組成物及び成形体
19日前
三井化学株式会社
バックドア及び移動体
23日前
三井化学株式会社
サイドドアおよび移動体
24日前
三井化学株式会社
サイドドアおよび移動体
24日前
三井化学株式会社
樹脂組成物および接着剤
23日前
三井化学株式会社
繊維および繊維の製造方法
25日前
三井化学株式会社
重合体組成物および成形体
24日前
三井化学株式会社
絶縁電線、コイル及びモータ
25日前
三井化学株式会社
エチレン共重合体の製造方法
19日前
三井化学株式会社
熱可塑性エラストマー組成物
24日前
三井化学株式会社
粘着付与剤および粘着性組成物
24日前
三井化学株式会社
極性重合体組成物および成形体
23日前
三井化学株式会社
繊維強化樹脂組成物および成形体
23日前
三井化学株式会社
多孔質膜及び多孔質膜の製造方法
1か月前
三井化学株式会社
非水電解液及び非水電解液二次電池
23日前
三井化学株式会社
積層体、包装材、蓋材およびラベル
24日前
三井化学株式会社
シートフレーム、シート、及び移動体
1か月前
三井化学株式会社
固体組成物及び固体組成物の製造方法
23日前
三井化学株式会社
延伸成形体および延伸成形体の製造方法
25日前
三井化学株式会社
オレフィン系重合体組成物および成形体
23日前
三井化学株式会社
環状オレフィン系共重合体および光学部品
24日前
三井化学株式会社
ポリアミド樹脂組成物および金属樹脂複合体
26日前
三井化学株式会社
熱可塑性エラストマー組成物、および成形品
23日前
三井化学株式会社
正浸透膜エレメント及び多孔質膜の製造方法
24日前
三井化学株式会社
延伸フィルムおよび延伸フィルムの製造方法
24日前
三井化学株式会社
電磁波吸収材、積層体、及び電磁波吸収性筐体
25日前
三井化学株式会社
サイドドア、移動体、及びサイドドアの製造方法
23日前
三井化学株式会社
重合体粒子とその製造方法、及び成形体の製造方法
26日前
三井化学株式会社
樹脂フィルム、容器、細胞容器、および細胞の培養方法
24日前
三井化学株式会社
電子部品用樹脂組成物、およびこれを用いた半導体装置
24日前
続きを見る
他の特許を見る