TOP
|
特許
|
意匠
|
商標
特許ウォッチ
Twitter
他の特許を見る
10個以上の画像は省略されています。
公開番号
2025150725
公報種別
公開特許公報(A)
公開日
2025-10-09
出願番号
2024051763
出願日
2024-03-27
発明の名称
サイドドアおよび移動体
出願人
三井化学株式会社
代理人
弁理士法人鷲田国際特許事務所
主分類
B60J
5/04 20060101AFI20251002BHJP(車両一般)
要約
【課題】側面衝突に起因してサイドドアが開放されることを抑制することが可能なサイドドアおよび移動体を提供する。
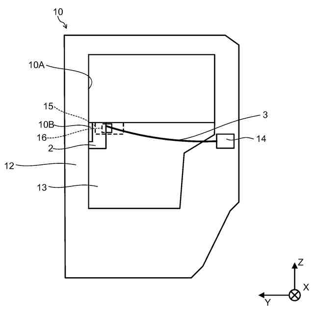
【解決手段】サイドドアは、移動体本体の側面に形成された開口を開閉可能に移動体本体に設けられるサイドドアであって、ドアロック部と、操作部と、操作部の操作をドアロック部に伝達するためのケーブルと、操作部が固定された樹脂製の板状部材と、板状部材を補強する補強部と、を有し、ケーブルは、係合部を有し、操作部は、係合部と係合する被係合部材を有しており、サイドドアの主面に対して垂直な方向から見たときに、移動体本体の前後方向における補強部の配置領域は、移動体本体の前後方向における被係合部材と板状部材とが対向する領域と重なっている。
【選択図】図2
特許請求の範囲
【請求項1】
移動体本体の側面に形成された開口を開閉可能に前記移動体本体に設けられるサイドドアであって、
前記サイドドアの前記移動体本体に対する移動をロックするドアロック部と、
前記ドアロック部を操作する操作部と、
一端部が前記ドアロック部と接続され、他端部が前記操作部と接続されており、前記操作部の操作を前記ドアロック部に伝達するためのケーブルと、
前記操作部が固定された樹脂製の板状部材と、
前記板状部材を補強する補強部と、を有し、
前記ケーブルは、係合部を有し、
前記操作部は、前記係合部と係合する被係合部材を有しており、
前記サイドドアの主面に対して垂直な方向から見たときに、前記移動体本体の前後方向における前記補強部の配置領域は、前記移動体本体の前後方向における前記被係合部材と前記板状部材とが対向する領域と重なっている、
サイドドア。
続きを表示(約 640 文字)
【請求項2】
前記ドアロック部は前記移動体本体の前後方向における一方側に配置され、
前記操作部は前記移動体本体の前後方向における他方側に配置されており、
前記補強部の一端部は、前記係合部と前記被係合部材とが係合する位置よりも前記移動体本体の前後方向における前記一方側に位置する、
請求項1に記載のサイドドア。
【請求項3】
前記補強部は、前記板状部材よりも剛性が高い部材で構成されている、
請求項1に記載のサイドドア。
【請求項4】
前記補強部は、前記板状部材に対して前記被係合部材とは反対側の位置に配置される、
請求項1に記載のサイドドア。
【請求項5】
前記板状部材は、前記被係合部材に対向する位置を補強するための補強構造を有する、
請求項1に記載のサイドドア。
【請求項6】
前記板状部材の前記被係合部材と対向する位置とは異なる位置に固定され、前記ケーブルの前記係合部と係合する前記被係合部材をさらに備える、
請求項1に記載のサイドドア。
【請求項7】
前記板状部材の外側に配置され、前記板状部材よりも剛性の高い部材で構成される外側部をさらに備える、
請求項1に記載のサイドドア。
【請求項8】
請求項1~7のいずれか1項に記載のサイドドアと、
移動体本体と、を有する、
移動体。
発明の詳細な説明
【技術分野】
【0001】
本開示は、サイドドアおよび移動体に関する。
続きを表示(約 1,300 文字)
【背景技術】
【0002】
従来、車両等の移動体には、乗降口等の開口を開閉するサイドドアを備えたものが知られている。サイドドアとして、例えば、車両の外側面を構成するアウターパネルと、アウターパネルの内側に取り付けられたインナーパネルとが設けられた構成が知られている(例えば、特許文献1参照)。インナーパネルには、サイドドアのロック解除用のケーブルが係合する被係合部材(例えば、インナーハンドルが固定された部材等)が設けられている。
【0003】
このケーブルは、サイドドアの移動をロックするドアロック装置に接続されている。乗員がサイドドアのインナーハンドル等を操作することで、ケーブルを介してドアロック装置のロックが解除されて、サイドドアが移動できるようになっている。
【先行技術文献】
【特許文献】
【0004】
国際公開第2016/084808号
【発明の概要】
【発明が解決しようとする課題】
【0005】
ところで、サイドドアにおいては、車両の側面に何らかの物体が衝突した際に、サイドドアが開放されて乗員が外に投げ出されることを防止する必要がある。そのため、衝突試験においては、試験中にサイドドアが開放されないことが求められる。
【0006】
しかしながら、インナーパネル等のサイドドアを構成する部材を樹脂部材で構成すると、側面衝突の衝撃に起因して樹脂部材が割れることがある。この樹脂部材の割れに伴ってケーブルが引っ張られ、サイドドアが開放されるおそれがあった。
【0007】
本開示の目的は、側面衝突に起因してサイドドアが開放されることを抑制することが可能なサイドドアおよび移動体を提供することである。
【課題を解決するための手段】
【0008】
本開示に係るサイドドアは、
移動体本体の側面に形成された開口を開閉可能に前記移動体本体に設けられるサイドドアであって、
前記サイドドアの前記移動体本体に対する移動をロックするドアロック部と、
前記ドアロック部を操作する操作部と、
一端部が前記ドアロック部と接続され、他端部が前記操作部と接続されており、前記操作部の操作を前記ドアロック部に伝達するためのケーブルと、
前記操作部が固定された樹脂製の板状部材と、
前記板状部材を補強する補強部と、を有し、
前記ケーブルは、係合部を有し、
前記操作部は、前記係合部と係合する被係合部材を有しており、
前記サイドドアの主面に対して垂直な方向から見たときに、前記移動体本体の前後方向における前記補強部の配置領域は、前記移動体本体の前後方向における前記被係合部材と前記板状部材とが対向する領域と重なっている。
【0009】
本開示に係る移動体は、
上記のサイドドアと、
移動体本体と、を有する。
【発明の効果】
【0010】
本開示によれば、側面衝突に起因してサイドドアが開放されることを抑制することができる。
【図面の簡単な説明】
(【0011】以降は省略されています)
この特許をJ-PlatPat(特許庁公式サイト)で参照する
関連特許
三井化学株式会社
手術用器具
28日前
三井化学株式会社
充電コネクタ
27日前
三井化学株式会社
ドローン用ブレード
28日前
三井化学株式会社
自動車内装材用積層体
27日前
三井化学株式会社
樹脂組成物及び成形体
23日前
三井化学株式会社
樹脂組成物及び成形体
23日前
三井化学株式会社
バックドア及び移動体
27日前
三井化学株式会社
樹脂組成物および接着剤
27日前
三井化学株式会社
サイドドアおよび移動体
28日前
三井化学株式会社
サイドドアおよび移動体
28日前
三井化学株式会社
重合体組成物および成形体
28日前
三井化学株式会社
熱可塑性エラストマー組成物
28日前
三井化学株式会社
絶縁電線、コイル及びモータ
29日前
三井化学株式会社
エチレン共重合体の製造方法
23日前
三井化学株式会社
粘着付与剤および粘着性組成物
28日前
三井化学株式会社
極性重合体組成物および成形体
27日前
三井化学株式会社
繊維強化樹脂組成物および成形体
27日前
三井化学株式会社
エラストマー組成物およびその用途
1日前
三井化学株式会社
非水電解液及び非水電解液二次電池
27日前
三井化学株式会社
積層体、包装材、蓋材およびラベル
28日前
三井化学株式会社
固体組成物及び固体組成物の製造方法
27日前
三井化学株式会社
延伸成形体および延伸成形体の製造方法
29日前
三井化学株式会社
オレフィン系重合体組成物および成形体
27日前
三井化学株式会社
環状オレフィン系共重合体および光学部品
28日前
三井化学株式会社
延伸フィルムおよび延伸フィルムの製造方法
28日前
三井化学株式会社
正浸透膜エレメント及び多孔質膜の製造方法
28日前
三井化学株式会社
熱可塑性エラストマー組成物、および成形品
27日前
三井化学株式会社
電磁波吸収材、積層体、及び電磁波吸収性筐体
29日前
三井化学株式会社
サイドドア、移動体、及びサイドドアの製造方法
27日前
三井化学株式会社
電子部品用樹脂組成物、およびこれを用いた半導体装置
28日前
三井化学株式会社
樹脂フィルム、容器、細胞容器、および細胞の培養方法
28日前
三井化学株式会社
クメン、フェノール、α-メチルスチレンを製造する方法
27日前
三井化学株式会社
無電解めっき用プライマー組成物、積層体及びその製造方法
28日前
三井化学株式会社
オレフィン重合用触媒、およびオレフィン重合体の製造方法
23日前
三井化学株式会社
オレフィン重合用触媒、およびオレフィン重合体の製造方法
23日前
三井化学株式会社
固体状チタン触媒成分の製造方法およびエチレン重合体の製造方法
28日前
続きを見る
他の特許を見る