TOP
|
特許
|
意匠
|
商標
特許ウォッチ
Twitter
他の特許を見る
公開番号
2025144062
公報種別
公開特許公報(A)
公開日
2025-10-02
出願番号
2024043646
出願日
2024-03-19
発明の名称
アンダーカバー及び移動体
出願人
三井化学株式会社
代理人
弁理士法人鷲田国際特許事務所
主分類
B62D
25/20 20060101AFI20250925BHJP(鉄道以外の路面車両)
要約
【課題】剛性を高めつつ、移動体の軽量化を図ることが可能なアンダーカバー及び移動体を提供する。
【解決手段】アンダーカバーは、移動体本体の下面に配置されるアンダーカバーであって、第1の板状部材と、第1の板状部材から移動体本体側に立設する壁部と、を有し、壁部は、第1の板状部材の移動体本体側に隣接する空間を、第1の板状部材に対する平面視において複数の空間に区画する複数の隔壁を有する。
【選択図】図2
特許請求の範囲
【請求項1】
移動体本体の下面に配置されるアンダーカバーであって、
第1の板状部材と、
前記第1の板状部材から前記移動体本体側に立設する壁部と、を有し、
前記壁部は、前記第1の板状部材の前記移動体本体側に隣接する空間を、前記第1の板状部材に対する平面視において複数の空間に区画する複数の隔壁を有する、
アンダーカバー。
続きを表示(約 900 文字)
【請求項2】
前記壁部は、前記複数の隔壁によりハニカム状に構成されている、
請求項1に記載のアンダーカバー。
【請求項3】
前記壁部は、前記第1の板状部材の少なくとも一部と一体成形された部材である、
請求項1に記載のアンダーカバー。
【請求項4】
前記第1の板状部材は、樹脂で構成された第1層と、前記第1層よりも耐衝撃性が高い第2層とを少なくとも有する、
請求項1に記載のアンダーカバー。
【請求項5】
前記第2層は、繊維マットを少なくとも部分的に含む、
請求項4に記載のアンダーカバー。
【請求項6】
前記第1の板状部材との間に前記壁部を挟持するように配置された第2の板状部材をさらに備える、
請求項1に記載のアンダーカバー。
【請求項7】
前記第1の板状部材は、前記移動体本体に設けられるバッテリーを少なくとも部分的に覆う位置に配置される、
請求項1に記載のアンダーカバー。
【請求項8】
前記第1の板状部材は、前記バッテリーの後端部分を含む領域を覆う位置に配置される、
請求項7に記載のアンダーカバー。
【請求項9】
前記第1の板状部材は、
前記移動体本体の下面に配置された状態において、前記第1の板状部材の下面が水平面と略平行に配置される第1部分と、
前記移動体本体の下面に配置された状態において、前記移動体本体の前記第1部分よりも後側の位置に配置され、前記第1の板状部材の下面が水平面と交差するように配置される第2部分と、を有し、
前記第2部分の下面は、前記第1部分の後端部から前記移動体本体の後側に向かうにつれ上に位置する、
請求項1に記載のアンダーカバー。
【請求項10】
前記第2部分は、前記移動体本体と対向する側とは反対側の表面に、複数の凹部で構成されたディンプル部を有する、
請求項9に記載のアンダーカバー。
(【請求項11】以降は省略されています)
発明の詳細な説明
【技術分野】
【0001】
本開示は、アンダーカバー及び移動体に関する。
続きを表示(約 1,300 文字)
【背景技術】
【0002】
従来、車両等の移動体には、車体(移動体本体)の下面部分を覆うアンダーカバーが設けられている。アンダーカバーにより、車体の下面部分を保護することが可能となる。例えば、特許文献1には、車体の下面に設けられた車載部品(例えば、バッテリー)を覆うようにアンダーカバーが設けられた構成が開示されている。
【先行技術文献】
【特許文献】
【0003】
特開2021-187232号公報
【発明の概要】
【発明が解決しようとする課題】
【0004】
しかしながら、アンダーカバーの剛性を高めるために本体部分を厚くすると、アンダーカバーの重量が増大する。アンダーカバーの重量が増大すると、移動体の軽量化を図れなくなるおそれがあった。
【0005】
本開示の目的は、剛性を高めつつ、移動体の軽量化を図ることが可能なアンダーカバー及び移動体を提供することである。
【課題を解決するための手段】
【0006】
本開示に係るアンダーカバーは、
移動体本体の下面に配置されるアンダーカバーであって、
第1の板状部材と、
前記第1の板状部材から前記移動体本体側に立設する壁部と、を有し、
前記壁部は、前記第1の板状部材の前記移動体本体側に隣接する空間を、前記第1の板状部材に対する平面視において複数の空間に区画する複数の隔壁を有する。
【0007】
本開示に係る移動体は、
上記のアンダーカバーと、
移動体本体と、を有する。
【発明の効果】
【0008】
本開示によれば、アンダーカバーの剛性を高めつつ、移動体の軽量化を図ることができる。
【図面の簡単な説明】
【0009】
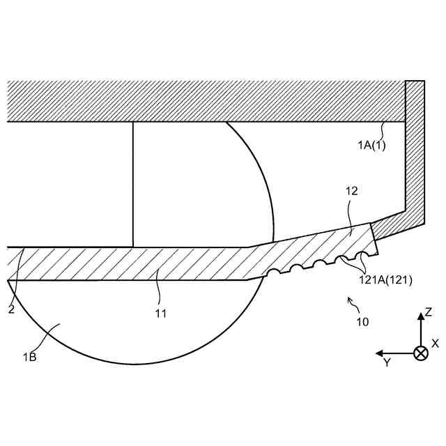
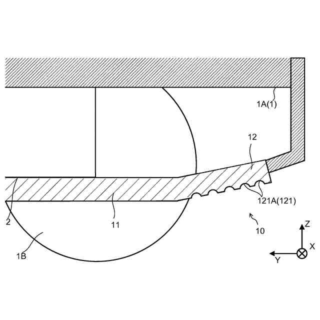
本開示の実施の形態に係るアンダーカバーを備える車両の一例を示す図である。
車両におけるアンダーカバー部分の拡大断面図である。
車両における第1カバー部の部分の拡大断面図である。
第1カバー部の拡大断面図である。
壁部の部分をXY平面で切った断面図である。
車両における第2カバー部の部分の拡大断面図である。
第2カバー部の各第断面図である。
延出壁部の部分を、延出部と平行な平面で切った断面図である。
【発明を実施するための形態】
【0010】
以下、本開示の実施の形態を図面に基づいて詳細に説明する。図1は、本開示の実施の形態に係るアンダーカバー10を備える車両1の一例を示す図である。なお、以下の説明においては、直交座標系(X,Y,Z)を使用する。後述する図においても共通の直交座標系(X,Y,Z)で示している。例えば、X方向が車両1の左右方向を示し、Y方向が車両1の前後方向(進行方向)、Z方向が車両1の上下方向(高さ方向)を示しており、XY平面が水平面である。
(【0011】以降は省略されています)
この特許をJ-PlatPat(特許庁公式サイト)で参照する
関連特許
三井化学株式会社
充電コネクタ
23日前
三井化学株式会社
バックドア及び移動体
23日前
三井化学株式会社
樹脂組成物及び成形体
19日前
三井化学株式会社
樹脂組成物及び成形体
19日前
三井化学株式会社
自動車内装材用積層体
23日前
三井化学株式会社
樹脂組成物および接着剤
23日前
三井化学株式会社
エチレン共重合体の製造方法
19日前
三井化学株式会社
極性重合体組成物および成形体
23日前
三井化学株式会社
繊維強化樹脂組成物および成形体
23日前
三井化学株式会社
非水電解液及び非水電解液二次電池
23日前
三井化学株式会社
固体組成物及び固体組成物の製造方法
23日前
三井化学株式会社
オレフィン系重合体組成物および成形体
23日前
三井化学株式会社
熱可塑性エラストマー組成物、および成形品
23日前
三井化学株式会社
延伸フィルムおよび延伸フィルムの製造方法
24日前
三井化学株式会社
サイドドア、移動体、及びサイドドアの製造方法
23日前
三井化学株式会社
クメン、フェノール、α-メチルスチレンを製造する方法
23日前
三井化学株式会社
オレフィン重合用触媒、およびオレフィン重合体の製造方法
19日前
三井化学株式会社
オレフィン重合用触媒、およびオレフィン重合体の製造方法
19日前
三井化学株式会社
培養容器の製造方法、培養容器、細胞培養方法、及び細胞観察方法
23日前
三井化学株式会社
ポリオレフィンワックス、樹脂組成物、コーティング剤および接着剤
23日前
三井化学株式会社
固体状チタン触媒成分の製造方法、およびオレフィン重合体の製造方法
19日前
三井化学株式会社
レーザ描画用光硬化性樹脂組成物、立体造形物、および立体造形物の製造方法
23日前
三井化学株式会社
レーザ描画用光硬化性樹脂組成物、立体造形物、および立体造形物の製造方法
23日前
三井化学株式会社
EUVリソグラフィ用ペリクル
9日前
三井化学株式会社
積層体、包装材、蓋材およびラベル
19日前
三井化学株式会社
非水電解液、非水電解液二次電池、非水電解液二次電池用負極、非水電解液二次電池用正極、及び複素環式芳香族化合物
23日前
三井化学株式会社
二次電池電極用結着材組成物、二次電池負極形成用組成物、リチウムイオン二次電池用負極、及びリチウムイオン二次電池
23日前
個人
カート
3か月前
個人
走行装置
4か月前
個人
三輪バイク
10日前
個人
乗り物
5か月前
個人
電動走行車両
4か月前
個人
自転車用歩数計
18日前
個人
閂式ハンドル錠
4か月前
個人
駐輪設備
1か月前
個人
折り畳み自転車
11か月前
続きを見る
他の特許を見る