TOP
|
特許
|
意匠
|
商標
特許ウォッチ
Twitter
他の特許を見る
10個以上の画像は省略されています。
公開番号
2025145002
公報種別
公開特許公報(A)
公開日
2025-10-03
出願番号
2024044964
出願日
2024-03-21
発明の名称
シートフレーム、シート、及び移動体
出願人
三井化学株式会社
代理人
弁理士法人鷲田国際特許事務所
主分類
B60N
2/68 20060101AFI20250926BHJP(車両一般)
要約
【課題】樹脂製のフレーム部材と金属製の第一部材とを連結するための新規な連結機構を備えたシートフレームを提供する。
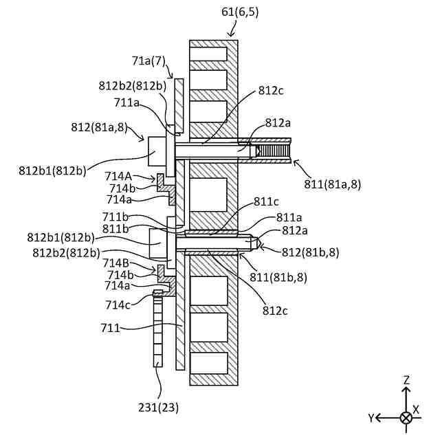
【解決手段】シートフレーム3は、樹脂製のフレーム部材6と、金属製の第一部材7と、第一部材7をフレーム部材6に固定する固定機構8と、を備え、固定機構8は、フレーム部材6に埋め込まれたナット811と、第一部材7に挿通された状態でナット811と螺合するボルト812と、を有し、第一部材7は、ボルト812の頭部812bと当接することにより、ボルト812の緩み方向の回転にともなう移動を規制する規制部材714A,714Bを有する。
【選択図】図5
特許請求の範囲
【請求項1】
樹脂製のフレーム部材と、
金属製の第一部材と、
前記第一部材を前記フレーム部材に固定する固定機構と、を備え、
前記固定機構は、
前記フレーム部材に埋め込まれたナットと、
前記第一部材に挿通された状態で前記ナットと螺合するボルトと、を有し、
前記第一部材は、前記ボルトの頭部と当接することにより、前記ボルトの緩み方向の回転にともなう移動を規制する規制部材を有する、
シートフレーム。
続きを表示(約 1,200 文字)
【請求項2】
前記規制部材により前記ボルトの移動が規制された状態で、前記ボルトが前記ゆるみ方向に回転すると、前記ナットが移動して前記フレーム部材から離脱する、
請求項1に記載のシートフレーム。
【請求項3】
前記ナットは、前記フレーム部材に、回転を規制された状態で埋め込まれている、
請求項1に記載のシートフレーム。
【請求項4】
前記ナットの軸方向における両端面のうち、前記第一部材から遠い側の端面は、前記フレーム部材を構成する樹脂により覆われていない、
請求項1に記載のシートフレーム。
【請求項5】
前記ボルトは、
前記第一部材に挿通される軸部と、
前記軸部の一端部に設けられた座部と、
前記座部の一端部に設けられた頭部と、を有し、
前記規制部材は、軸方向から見た平面視で前記座部と重なる規制部を有し、
前記規制部は、前記軸方向における前記座部との当接に基づいて、前記ボルトの前記移動を規制する、
請求項1に記載のシートフレーム。
【請求項6】
前記第一部材は、前記軸部が挿通される長孔を有し、
前記規制部は、
前記長孔の第一位置に前記軸部が配置された状態において、前記軸方向から見た平面視で前記座部と重なり、
前記長孔の第二位置に前記軸部が配置された状態において、前記軸方向から見た平面視で前記座部と重ならない、
請求項5に記載のシートフレーム。
【請求項7】
前記頭部の外周面と前記規制部との間に、前記ボルトを回転させる際に前記頭部と係合する工具が侵入可能な隙間が設けられている、
請求項5に記載のシートフレーム。
【請求項8】
前記ナットは、前記フレーム部材を構成する材料とは別種の材料で構成されている、
請求項1に記載のシートフレーム。
【請求項9】
前記フレーム部材は、
左側フレーム部と、
右側フレーム部と、を有し
前記第一部材は、
前記左側フレーム部の左側面に配置された左側補強部材と、
前記右側フレーム部の右側面に配置された右側補強部材と、を有し、
前記固定機構は、
前記左側補強部材を前記左側フレーム部に固定する左側固定機構と、
前記右側補強部材を前記右側フレーム部に固定する右側固定機構と、を有する、
請求項1に記載のシートフレーム。
【請求項10】
前記左側補強部材は、前記左側フレーム部の左右方向への移動を規制する左側規制部を有し、
前記右側補強部材は、前記右側フレーム部の左右方向への移動を規制する右側規制部を有する、
請求項9に記載のシートフレーム。
(【請求項11】以降は省略されています)
発明の詳細な説明
【技術分野】
【0001】
本発明は、シートフレーム、シート、及び移動体に関する。
続きを表示(約 1,300 文字)
【背景技術】
【0002】
自動車等のシートは、シートフレームと、シートクッション及びシートバック等のクッション材と、を有する。特許文献1には、樹脂製(具体的には、繊維強化合成樹脂製)のフレーム部材と、当該フレーム部材に固定された金属製の第一部材(具体的には、ブラケット)と、を有するシートフレームが開示されている。
【先行技術文献】
【特許文献】
【0003】
実開昭55-89357号公報
【発明の概要】
【発明が解決しようとする課題】
【0004】
上述のようなシートフレームの技術分野において、樹脂製のフレーム部材と金属製の第一部材とを連結するための新規な連結機構を備えたシートフレームが望まれている。
【0005】
本発明の目的は、樹脂製のフレーム部材と金属製の第一部材とを固定するための新規な固定機構を備えたシートフレーム、シート、及び移動体を提供することである。
【課題を解決するための手段】
【0006】
本発明に係るシートフレームの一態様は、
樹脂製のフレーム部材と、
金属製の第一部材と、
第一部材をフレーム部材に固定する固定機構と、を備え、
固定機構は、
フレーム部材に埋め込まれたナットと、
第一部材に挿通された状態でナットと螺合するボルトと、を有し、
第一部材は、ボルトの頭部と当接することにより、ボルトの緩み方向の回転にともなう移動を規制する規制部材を有する。
【0007】
本発明に係るシートの一態様は、上述のシートフレームを備える。
【0008】
本発明に係る移動体の一態様は、上述のシートを備える。
【発明の効果】
【0009】
本発明によれば、樹脂製のフレーム部材と金属製の第一部材とを固定するための新規な固定機構を備えたシートフレーム、シート、及び移動体を提供できる。
【図面の簡単な説明】
【0010】
図1は、本発明の実施形態に係る移動体の側面図である。
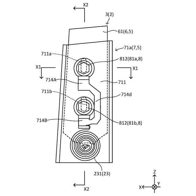
図2は、本発明の実施形態に係るシートフレームの斜視図である。
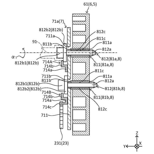
図3は、図2の矢印A
1
が示す方向から見たシートフレームの部分的な側面図である。
図4は、図3のX1-X1断面図である。
図5は、図3のX2-X2断面図である。
図6は、ナット分離作業の工程を説明するための断面図である。
図7は、ナット分離作業の工程を説明するための断面図である。
図8は、ナット分離作業が終了した状態を示す断面図である。
図9は、ボルト分離作業の工程を説明するための断面図である。
図10は、ボルト分離作業が終了した状態を示す断面図である。
図11は、ボルト組付作業の工程を説明するための断面図である。
図12は、ボルト組付作業の工程を説明するための断面図である。
図13は、ボルト組付作業の工程を説明するための断面図である。
【発明を実施するための形態】
(【0011】以降は省略されています)
この特許をJ-PlatPat(特許庁公式サイト)で参照する
関連特許
三井化学株式会社
手術用器具
26日前
三井化学株式会社
充電コネクタ
25日前
三井化学株式会社
ドローン用ブレード
26日前
三井化学株式会社
バックドア及び移動体
25日前
三井化学株式会社
自動車内装材用積層体
25日前
三井化学株式会社
樹脂組成物及び成形体
21日前
三井化学株式会社
樹脂組成物及び成形体
21日前
三井化学株式会社
樹脂組成物および接着剤
25日前
三井化学株式会社
熱可塑性エラストマー組成物
26日前
三井化学株式会社
エチレン共重合体の製造方法
21日前
三井化学株式会社
粘着付与剤および粘着性組成物
26日前
三井化学株式会社
極性重合体組成物および成形体
25日前
三井化学株式会社
繊維強化樹脂組成物および成形体
25日前
三井化学株式会社
非水電解液及び非水電解液二次電池
25日前
三井化学株式会社
積層体、包装材、蓋材およびラベル
26日前
三井化学株式会社
固体組成物及び固体組成物の製造方法
25日前
三井化学株式会社
オレフィン系重合体組成物および成形体
25日前
三井化学株式会社
環状オレフィン系共重合体および光学部品
26日前
三井化学株式会社
熱可塑性エラストマー組成物、および成形品
25日前
三井化学株式会社
正浸透膜エレメント及び多孔質膜の製造方法
26日前
三井化学株式会社
延伸フィルムおよび延伸フィルムの製造方法
26日前
三井化学株式会社
サイドドア、移動体、及びサイドドアの製造方法
25日前
三井化学株式会社
樹脂フィルム、容器、細胞容器、および細胞の培養方法
26日前
三井化学株式会社
クメン、フェノール、α-メチルスチレンを製造する方法
25日前
三井化学株式会社
オレフィン重合用触媒、およびオレフィン重合体の製造方法
21日前
三井化学株式会社
オレフィン重合用触媒、およびオレフィン重合体の製造方法
21日前
三井化学株式会社
培養容器の製造方法、培養容器、細胞培養方法、及び細胞観察方法
25日前
三井化学株式会社
固体状チタン触媒成分の製造方法およびエチレン重合体の製造方法
26日前
三井化学株式会社
異方導電性シート、プローブカード、電気検査装置及び電気検査方法
26日前
三井化学株式会社
ポリオレフィンワックス、樹脂組成物、コーティング剤および接着剤
25日前
三井化学株式会社
固体状チタン触媒成分の製造方法、およびオレフィン重合体の製造方法
21日前
三井化学株式会社
レーザ描画用光硬化性樹脂組成物、立体造形物、および立体造形物の製造方法
25日前
三井化学株式会社
レーザ描画用光硬化性樹脂組成物、立体造形物、および立体造形物の製造方法
25日前
三井化学株式会社
EUVリソグラフィ用ペリクル
11日前
三井化学株式会社
固体状チタン触媒成分の製造方法およびプロピレン系ブロック共重合体の製造方法
今日
三井化学株式会社
積層体、包装材、蓋材およびラベル
21日前
続きを見る
他の特許を見る