TOP
|
特許
|
意匠
|
商標
特許ウォッチ
Twitter
他の特許を見る
公開番号
2025143218
公報種別
公開特許公報(A)
公開日
2025-10-01
出願番号
2025036368
出願日
2025-03-07
発明の名称
混練装置
出願人
三井化学株式会社
代理人
弁理士法人鷲田国際特許事務所
主分類
B29C
48/385 20190101AFI20250924BHJP(プラスチックの加工;可塑状態の物質の加工一般)
要約
【課題】第1の押出機と第2の押出機との間においてインラインで樹脂の特性を計測する際の計測精度を高め、再生樹脂の品質を安定化させることができる混練装置を提供すること。
【解決手段】混練装置は、第1の押出機と、前記第1の押出機から押し出された樹脂が投入されるように前記第1の押出機に直列に接続された第2の押出機と、を有する。前記第1の押出機と前記第2の押出機とを接続する流路に、インライン計測器が配置され、前記第1の押出機はベント機構および圧縮脱水機構の少なくとも一方を有する。
【選択図】図1
特許請求の範囲
【請求項1】
第1の押出機と、
前記第1の押出機から押し出された樹脂が投入されるように前記第1の押出機に直列に接続された第2の押出機と、を有し、
前記第1の押出機と前記第2の押出機とを接続する流路に、インライン計測器が配置され、
前記第1の押出機はベント機構および圧縮脱水機構の少なくとも一方を有する、
混練装置。
続きを表示(約 810 文字)
【請求項2】
前記第1の押出機は、前記圧縮脱水機構を有し、
前記第1の押出機は、前記圧縮脱水機構で溶融させずに圧縮脱水した樹脂を溶融混練する、
請求項1に記載の混練装置。
【請求項3】
前記流路の前記インライン計測器の上流側に、第1のろ過器と、ギアポンプと、第2のろ過器と、がこの順に配置された、
請求項1に記載の混練装置。
【請求項4】
第1の押出機と、
前記第1の押出機から押し出された樹脂が投入されるように前記第1の押出機に直列に接続された第2の押出機と、を有し、
前記第1の押出機と前記第2の押出機とを接続する流路に、
第1のろ過器と、ギアポンプと、第2のろ過器と、インライン計測器と、がこの順に配置された、
混練装置。
【請求項5】
前記第2のろ過器は、前記第1のろ過器よりも高いろ過精度を有する、
請求項3または4に記載の混練装置。
【請求項6】
前記第1のろ過器は、平面型のフィルターを有する、
請求項3または4に記載の混練装置。
【請求項7】
前記第1のろ過器は、穴あけ加工された金属製のフィルターを有する、
請求項3または4に記載の混練装置。
【請求項8】
前記第2のろ過器は、スクリーンチェンジャーである、
請求項3または4に記載の混練装置。
【請求項9】
前記ギアポンプは、前記第2のろ過器を経て前記インライン計測器に導入される回収樹脂の圧力を1MPa以上35MPa以下に調整する、
請求項3または4に記載の混練装置。
【請求項10】
前記第2の押出機は、注水脱気機構を有する、
請求項1~4のいずれか1項に記載の混練装置。
(【請求項11】以降は省略されています)
発明の詳細な説明
【技術分野】
【0001】
本発明は、混練装置に関する。
続きを表示(約 2,800 文字)
【背景技術】
【0002】
廃棄品から回収された樹脂成分(コンシューマー材)や、製造工程で不可避的に産出される販売品の規格を満たさない樹脂成分(オフグレード材)などの、実使用に供されない樹脂成分を回収して、再利用できるように処理する方法が種々検討されている(以下、上記回収された樹脂成分を単に「回収樹脂」ともいい、回収樹脂を再利用に供される形態に処理して得られた樹脂成分を単に「再生樹脂」ともいう。)。
【0003】
たとえば、特許文献1には、廃プラスチックが投入されて混練される第1の押出機と、第1の押出機から押出された溶融プラスチックにパーオキサイドを投入する第2の押出機と、第2の押出機が押出した溶融プラスチックをペレット状に造粒する成形装置と、を有する造粒機が記載されている。そして、上記造粒機は、第1の押出機から押出された溶融プラスチックのMFRをインラインで測定し、上記測定された溶融プラスチックのMFRを基に、第2の押出機で投入するパーオキサイドの投入量を調整することで、所定のMFRを有するペレットを造粒できるとされている。上記造粒機は、第1の押出機と第2の押出機との間に、溶融されたプラスチックに含まれる不純物を除去するフィルターと、MFRを計測するための溶融プラスチックの流量を調整する流量調整器と、MFR測定器と、をこの順番で有する。
【先行技術文献】
【特許文献】
【0004】
特開2019-65092号公報
【発明の概要】
【発明が解決しようとする課題】
【0005】
特許文献1に記載の造粒機は、第1の押出機と第2の押出機との間の流路で、フィルターで不純物を除去したうえでMFRを計測している。しかし、本発明者らの新たな知見によれば、特許文献1に記載された構成ではMFRを正確に測定できず、得られる再生樹脂の品質が安定しないことがあった。また、例えば、廃プラスチックを予め浮沈選別機等で選別した場合、選別後の廃プラスチックにおいて水分量が多くなる場合があり、MFRが正確に測定されず、得られる再生樹脂の品質が安定しないことがあった。
【0006】
上記問題に鑑み、本発明は、第1の押出機と第2の押出機との間においてインラインで樹脂の特性を計測する際の計測精度を高め、再生樹脂の品質を安定化させることができる混練装置を提供することを目的とする。
【課題を解決するための手段】
【0007】
上記の課題を解決するための本発明の一態様は、下記[1]~[16]の混練装置に関する。
[1] 第1の押出機と、
前記第1の押出機から押し出された樹脂が投入されるように前記第1の押出機に直列に接続された第2の押出機と、を有し、
前記第1の押出機と前記第2の押出機とを接続する流路に、インライン計測器が配置され、
前記第1の押出機はベント機構および圧縮脱水機構の少なくとも一方を有する、
混練装置。
[2] 前記第1の押出機は、前記圧縮脱水機構を有し、
前記第1の押出機は、前記圧縮脱水機構で溶融させずに圧縮脱水した樹脂を溶融混練する、
[1]に記載の混練装置。
[3] 前記流路の前記インライン計測器の上流側に、第1のろ過器と、ギアポンプと、第2のろ過器と、がこの順に配置された、
[1]または[2]に記載の混練装置。
[4] 第1の押出機と、
前記第1の押出機から押し出された樹脂が投入されるように前記第1の押出機に直列に接続された第2の押出機と、を有し、
前記第1の押出機と前記第2の押出機とを接続する流路に、
第1のろ過器と、ギアポンプと、第2のろ過器と、インライン計測器と、がこの順に配置された、
混練装置。
[5] 前記第2のろ過器は、前記第1のろ過器よりも高いろ過精度を有する、
[3]または[4]に記載の混練装置。
[6] 前記第1のろ過器は、平面型のフィルターを有する、
[3]~[5]のいずれかに記載の混練装置。
[7] 前記第1のろ過器は、穴あけ加工された金属製のフィルターを有する、
[3]~[6]のいずれかに記載の混練装置。
[8] 前記第2のろ過器は、スクリーンチェンジャーである、
[3]~[7]のいずれかに記載の混練装置。
[9] 前記ギアポンプは、前記第2のろ過器を経て前記インライン計測器に導入される回収樹脂の圧力を1MPa以上35MPa以下に調整する、
[3]~[8]のいずれかに記載の混練装置。
[10] 前記第2の押出機は、注水脱気機構を有する、
[1]~[9]のいずれかに記載の混練装置。
[11] 前記第2の押出機は、2個以上の前記注水脱気機構を有する、
[10]に記載の混練装置。
[12] 前記注水脱気機構は、注水孔およびベントポートを有する、
[10]または[11]に記載の混練装置。
[13] 前記第1の押出機は、単軸押出機であり、
前記第2の押出機は、二軸押出機である、
[1]~[12]のいずれかに記載の混練装置。
[14] 前記インライン計測器は、インライン粘度計である、
[1]~[13]のいずれかに記載の混練装置。
[15] 前記第2の押出機は、添加剤を前記第2の押出機に添加するフィーダーを有する、
[1]~[14]のいずれか1項に記載の混練装置。
[16] 前記フィーダーは、前記第2の押出機が押出す樹脂の粘度を均一にする量の樹脂を前記第2の押出機に添加する、
[15]に記載の混練装置。
【発明の効果】
【0008】
本発明によれば、第1の押出機と第2の押出機との間においてインラインで樹脂の特性を計測する際の計測精度を高め、再生樹脂の品質を安定化させることができる混練装置が提供される。
【図面の簡単な説明】
【0009】
図1は、本発明の一実施形態に関する混練装置の構成を示す模式図である。
図2は、第1のろ過器の分解図である。
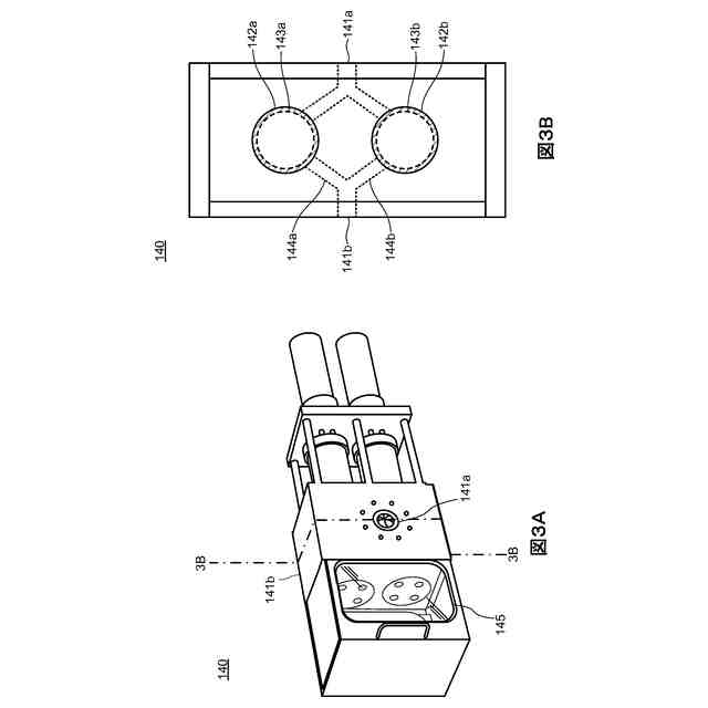
図3Aは、第2のろ過器の模式的な斜視図である。図3Bは、図3Aの線3B-3Bで第2のろ過器を切断したときの模式的な断面図である。
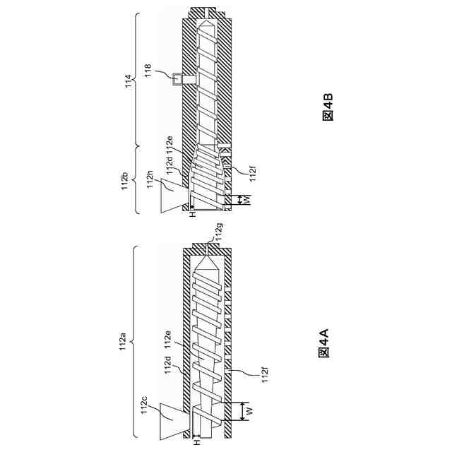
図4Aは、第1の圧縮脱水機構の模式的な断面図である。図4Bは、第2の圧縮脱水機構とシリンダの模式的な断面図である。
【発明を実施するための形態】
【0010】
以下、複数の実施形態により、本発明の混練装置を説明する。
(【0011】以降は省略されています)
この特許をJ-PlatPat(特許庁公式サイト)で参照する
関連特許
三井化学株式会社
手術用器具
25日前
三井化学株式会社
充電コネクタ
24日前
三井化学株式会社
ドローン用ブレード
25日前
三井化学株式会社
樹脂組成物及び成形体
20日前
三井化学株式会社
樹脂組成物及び成形体
20日前
三井化学株式会社
自動車内装材用積層体
24日前
三井化学株式会社
バックドア及び移動体
24日前
三井化学株式会社
樹脂組成物および接着剤
24日前
三井化学株式会社
熱可塑性エラストマー組成物
25日前
三井化学株式会社
エチレン共重合体の製造方法
20日前
三井化学株式会社
極性重合体組成物および成形体
24日前
三井化学株式会社
繊維強化樹脂組成物および成形体
24日前
三井化学株式会社
非水電解液及び非水電解液二次電池
24日前
三井化学株式会社
固体組成物及び固体組成物の製造方法
24日前
三井化学株式会社
オレフィン系重合体組成物および成形体
24日前
三井化学株式会社
熱可塑性エラストマー組成物、および成形品
24日前
三井化学株式会社
延伸フィルムおよび延伸フィルムの製造方法
25日前
三井化学株式会社
サイドドア、移動体、及びサイドドアの製造方法
24日前
三井化学株式会社
クメン、フェノール、α-メチルスチレンを製造する方法
24日前
三井化学株式会社
オレフィン重合用触媒、およびオレフィン重合体の製造方法
20日前
三井化学株式会社
オレフィン重合用触媒、およびオレフィン重合体の製造方法
20日前
三井化学株式会社
固体状チタン触媒成分の製造方法およびエチレン重合体の製造方法
25日前
三井化学株式会社
培養容器の製造方法、培養容器、細胞培養方法、及び細胞観察方法
24日前
三井化学株式会社
ポリオレフィンワックス、樹脂組成物、コーティング剤および接着剤
24日前
三井化学株式会社
固体状チタン触媒成分の製造方法、およびオレフィン重合体の製造方法
20日前
三井化学株式会社
レーザ描画用光硬化性樹脂組成物、立体造形物、および立体造形物の製造方法
24日前
三井化学株式会社
レーザ描画用光硬化性樹脂組成物、立体造形物、および立体造形物の製造方法
24日前
三井化学株式会社
EUVリソグラフィ用ペリクル
10日前
三井化学株式会社
積層体、包装材、蓋材およびラベル
20日前
三井化学株式会社
非水電解液、非水電解液二次電池、非水電解液二次電池用負極、非水電解液二次電池用正極、及び複素環式芳香族化合物
24日前
三井化学株式会社
二次電池電極用結着材組成物、二次電池負極形成用組成物、リチウムイオン二次電池用負極、及びリチウムイオン二次電池
24日前
個人
気泡緩衝材減容装置
1か月前
東レ株式会社
吹出しノズル
11か月前
豊田鉄工株式会社
金型
3か月前
CKD株式会社
型用台車
10か月前
シーメット株式会社
光造形装置
10か月前
続きを見る
他の特許を見る