TOP
|
特許
|
意匠
|
商標
特許ウォッチ
Twitter
他の特許を見る
10個以上の画像は省略されています。
公開番号
2025134513
公報種別
公開特許公報(A)
公開日
2025-09-17
出願番号
2024032478
出願日
2024-03-04
発明の名称
センサユニット
出願人
三井化学株式会社
代理人
弁理士法人太陽国際特許事務所
主分類
A61B
5/02 20060101AFI20250909BHJP(医学または獣医学;衛生学)
要約
【課題】センサを体表の複数の部位に取り付ける場合に比較して、簡易に脈波伝搬速度を算出することができるセンサユニット。
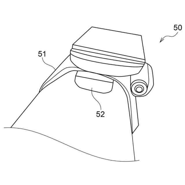
【解決手段】可撓性支持体と、前記可撓性支持体の少なくとも一部に装着される芯材と、前記芯材に配される長尺状のセンサと、体表の少なくとも1つの部位の形状変動が前記センサに伝わることで前記センサから発せられる、心拍に由来する出力信号から複数の出力波を取得する取得部と、前記複数の出力波に対する演算処理から算出される前記出力波の基準時刻の差から脈波伝搬速度を算出する算出部と、を備えたセンサユニット。
【選択図】図3
特許請求の範囲
【請求項1】
可撓性支持体と、
前記可撓性支持体の少なくとも一部に装着される芯材と、
前記芯材に配される長尺状のセンサと、
体表の少なくとも1つの部位の形状変動が前記センサに伝わることで前記センサから発せられる、心拍に由来する出力信号から複数の出力波を取得する取得部と、
前記複数の出力波に対する演算処理から算出される前記出力波の基準時刻の差から脈波伝搬速度を算出する算出部と、
を備えたセンサユニット。
続きを表示(約 560 文字)
【請求項2】
前記センサが被験者の血管の走行方向と交わるように前記芯材に配されている、請求項1に記載のセンサユニット。
【請求項3】
前記センサが、前記芯材に巻き回されている、請求項2に記載のセンサユニット。
【請求項4】
前記センサが巻き回されている前記芯材が、複数個並行して前記可撓性支持体に装着されている、請求項3に記載のセンサユニット。
【請求項5】
前記芯材の表面が曲面で構成されている、請求項2に記載のセンサユニット。
【請求項6】
前記芯材の表面にくぼみが形成されている請求項5に記載のセンサユニット。
【請求項7】
前記算出部が、前記複数の出力波の位相差と前記複数の出力波の周波数とから、前記基準時刻の差を算出する、請求項1に記載のセンサユニット。
【請求項8】
前記センサは有機圧電材料を含む、請求項1に記載のセンサユニット。
【請求項9】
前記有機圧電材料は光学活性を有するヘリカルキラル高分子を含む、請求項8に記載のセンサユニット。
【請求項10】
前記ヘリカルキラル高分子はポリ乳酸を含む、請求項9に記載のセンサユニット。
(【請求項11】以降は省略されています)
発明の詳細な説明
【技術分野】
【0001】
本開示は、脈波伝搬速度を算出するセンサユニットに関する。
続きを表示(約 890 文字)
【背景技術】
【0002】
特許文献1には、センサを体表の複数の部位に取り付けて、脈波伝搬速度を測定する技術が開示されている。
【先行技術文献】
【特許文献】
【0003】
特開2017-164301号公報
【発明の概要】
【発明が解決しようとする課題】
【0004】
センサを体表に取り付ける作業は、取り付けるセンサの数が多ければ多い程、手間がかかる。本開示は、センサを体表の複数の部位に取り付ける場合に比較して、簡易に脈波伝搬速度を算出することができるセンサユニットを提供することを目的とする。
【課題を解決するための手段】
【0005】
第1の態様のセンサユニットは、可撓性支持体と、前記可撓性支持体の少なくとも一部に装着される芯材と、前記芯材に配される長尺状のセンサと、体表の少なくとも1つの部位の形状変動が前記センサに伝わることで前記センサから発せられる、心拍に由来する出力信号から複数の出力波を取得する取得部と、前記複数の出力波に対する演算処理から算出される前記出力波の基準時刻の差から脈波伝搬速度を算出する算出部と、を備える。
【0006】
第2の態様のセンサユニットは、第1の態様の構成に加え、前記センサが被験者の血管の走行方向と交わるように配されている。
【0007】
第3の態様のセンサユニットは、第2の態様の構成に加え、前記センサが、前記芯材に巻き回されている。
【0008】
第4の態様のセンサユニットは、第3の態様の構成に加え、前記センサが巻き回されている前記芯材が、複数個並行して前記可撓性支持体に装着されている。
【0009】
第5の態様のセンサユニットは、第2の態様の構成に加え、前記芯材の表面が曲面で構成されている。
【0010】
第6の態様のセンサユニットは、第5の態様の構成に加え、前記芯材の表面にくぼみが形成されている。
(【0011】以降は省略されています)
この特許をJ-PlatPat(特許庁公式サイト)で参照する
関連特許
三井化学株式会社
混練装置
1か月前
三井化学株式会社
手術用器具
26日前
三井化学株式会社
充電コネクタ
25日前
三井化学株式会社
空中結像システム
27日前
三井化学株式会社
ドローン用ブレード
26日前
三井化学株式会社
樹脂組成物及び成形体
21日前
三井化学株式会社
バックドア及び移動体
25日前
三井化学株式会社
自動車内装材用積層体
25日前
三井化学株式会社
樹脂組成物及び成形体
21日前
三井化学株式会社
樹脂組成物および接着剤
25日前
三井化学株式会社
サイドドアおよび移動体
26日前
三井化学株式会社
サイドドアおよび移動体
26日前
三井化学株式会社
アンダーカバー及び移動体
1か月前
三井化学株式会社
繊維および繊維の製造方法
27日前
三井化学株式会社
光学材料及びその製造方法
1か月前
三井化学株式会社
重合体組成物および成形体
26日前
三井化学株式会社
絶縁電線、コイル及びモータ
27日前
三井化学株式会社
エチレン共重合体の製造方法
21日前
三井化学株式会社
熱可塑性エラストマー組成物
26日前
三井化学株式会社
極性重合体組成物および成形体
25日前
三井化学株式会社
粘着付与剤および粘着性組成物
26日前
三井化学株式会社
繊維強化樹脂組成物および成形体
25日前
三井化学株式会社
多孔質膜及び多孔質膜の製造方法
1か月前
三井化学株式会社
非水電解液及び非水電解液二次電池
25日前
三井化学株式会社
積層体、包装材、蓋材およびラベル
26日前
三井化学株式会社
シートフレーム、シート、及び移動体
1か月前
三井化学株式会社
固体組成物及び固体組成物の製造方法
25日前
三井化学株式会社
延伸成形体および延伸成形体の製造方法
27日前
三井化学株式会社
オレフィン系重合体組成物および成形体
25日前
三井化学株式会社
ゴム組成物、架橋体、成形体、放熱シート
1か月前
三井化学株式会社
環状オレフィン系共重合体および光学部品
26日前
三井化学株式会社
ポリアミド樹脂組成物および金属樹脂複合体
28日前
三井化学株式会社
延伸フィルムおよび延伸フィルムの製造方法
1か月前
三井化学株式会社
熱可塑性エラストマー組成物、および成形品
25日前
三井化学株式会社
鮮度保持包装部材及び青果物の鮮度保持方法
1か月前
三井化学株式会社
延伸フィルムおよび延伸フィルムの製造方法
26日前
続きを見る
他の特許を見る