TOP
|
特許
|
意匠
|
商標
特許ウォッチ
Twitter
他の特許を見る
10個以上の画像は省略されています。
公開番号
2025171724
公報種別
公開特許公報(A)
公開日
2025-11-20
出願番号
2024077355
出願日
2024-05-10
発明の名称
管楽器用音質改善留め具
出願人
個人
代理人
弁理士法人グローバル知財
主分類
G10D
9/02 20200101AFI20251113BHJP(楽器;音響)
要約
【課題】見栄えが良く、多様なリガチャーや楽器に簡便かつ安定的に装着でき、リード振動効率を向上させ、ユーザのニーズに合わせた音作りを実現できる管楽器用音質改善留め具を提供する。
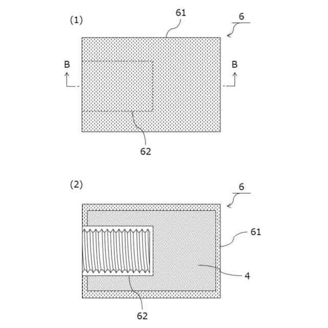
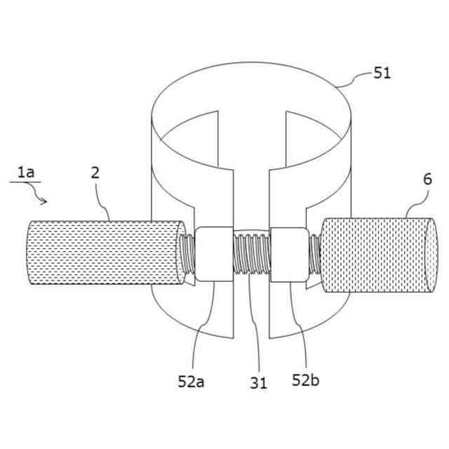
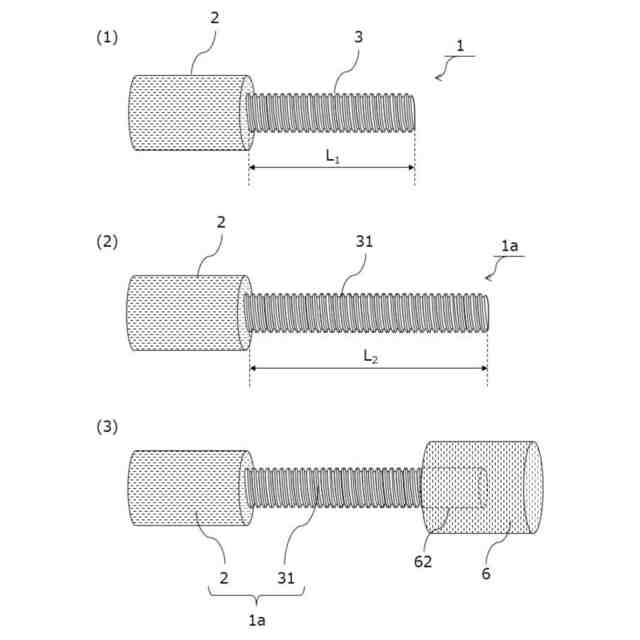
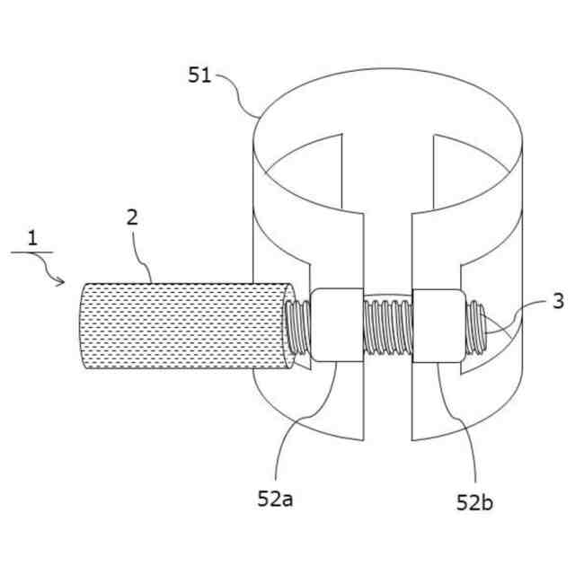
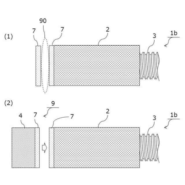
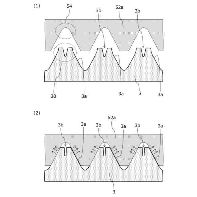
【解決手段】把持部2及び雄螺子部3で構成される。雄螺子部3はチタン製である。把持部2の外表面には、滑り止めのための微細な凹凸部が設けられている。管楽器用音質改善留め具1は、サックスなどの管楽器における留め具として利用可能である。把持部2の筐体は、真鍮製である。把持部2の筐体の内部には、制振部材が設けられている。制振部材は、制振合金粉末と、レジン液を混合して流し込み、把持部2の筐体内部で固形化されたものである。雄螺子部3は、螺子山の頂部が幅広に設けられ、かつスリットが形成されている。
【選択図】図1
特許請求の範囲
【請求項1】
管楽器に取り付けられる螺子山が円筒状の雄螺子部と、前記雄螺子部の頭部に、制振特性を有する金属と樹脂素材が混錬され固形化された制振部材を有する把持部が接続された、ことを特徴とする管楽器用音質改善留め具。
続きを表示(約 710 文字)
【請求項2】
雄螺子部を受け入れるように円筒状の穴の内表面に溝を切っている雌螺子部と、前記雌螺子部に、制振特性を有する金属と樹脂素材が混錬され固形化された制振部材を有する把持部が接続された、又は、前記雌螺子部が、前記把持部内部に形成された、ことを特徴とする管楽器用音質改善留め具。
【請求項3】
請求項1に記載の管楽器用音質改善留め具の雄螺子部を受け入れるように円筒状の穴の内表面に溝を切っている雌螺子部と、前記雌螺子部に、制振特性を有する金属と樹脂素材が混錬され固形化された制振部材を有する把持部が接続された、又は、前記雌螺子部が、前記把持部内部に形成された、ことを特徴とする管楽器用音質改善留め具。
【請求項4】
前記把持部の筐体内部に前記制振部材が収容されたことを特徴とする請求項1~3の何れかに記載の管楽器用音質改善留め具。
【請求項5】
前記把持部に磁石が設けられることを特徴とする請求項4に記載の管楽器用音質改善留め具。
【請求項6】
前記雄螺子部は、螺子山にスリットが設けられ、かつ螺子山の頂部が幅広に設けられることを特徴とする請求項1に記載の管楽器用音質改善留め具。
【請求項7】
前記樹脂素材は、レジン液であり、
前記金属は、マンガン合金、純マグネシウム、マグネシウム合金、アルミニウム若しくはアルミニウム合金の何れか又はこれらの組み合わせから成る粉末状金属であり、
前記樹脂素材と前記金属の配合比は、1:1~1:3であることを特徴とする請求項1~3の何れかに記載の管楽器用音質改善留め具。
発明の詳細な説明
【技術分野】
【0001】
本発明は、管楽器の音の改善を図った留め具に関するものである。
続きを表示(約 2,300 文字)
【背景技術】
【0002】
管楽器は、奏者が息を吹き込むことで音を出す管楽器の一種であり、これらの楽器は、木製のものが多いが、金属製やプラスチック製のものも存在する。管楽器の音は、リードの振動、空気の直接的な吹き込みなどにより発生する。
従来技術の管楽器に使用する音質改善留め具は、材質に洋白、ニッケル、金合金、銀合金やチタンを使用したり、鍍金処理の種類を音の華やかさやキラキラ感のあるゴールドや、音に暖かく包み込むような丸みがあるピンクゴールドなどにして鍍金の種類で楽器の響き、音色に変化をもたせていて、マウスピースとリードとの接地部分が少なくした方が、音響が良いとされていたり、リードの締め付けを最小限に抑えリードの振動を全て音に変え、響きを向上させていた。
【0003】
サックスなどの管楽器は2つ以上の接合部分で構成され、ネックと本体を接合する部分を固定するネックスクリューと呼ばれる留め具が設けられているが、楽器に付属している留め具は小さくて重量が軽く、必要最小限度で作製されている。そこで従来は、これに銀の合金やチタンを留め具材に使用して音の響を上げて音色の向上を図っていた。また留め具本体に重さの異なる留め具を追加させ、留め具重量を重くして固有振動数を下げ、ネックと本体の接合部の振動を抑えることで、音質や音量を改善して吹奏感の向上を図っていた。しかし、より音量を上げるには留め具の重量をさらに大きくする必要があるが、楽器が重くなるため限界があった。
【0004】
サックスのネックと楽器本体の接合部や、リガチャーに付いている一般的な留め具の材質は、洋白製や真鍮にラッカー塗装や鍍金処理を施したものが使用されているが、ここでの留め具材質による音質云々という重要性はあまり無く、リードをリガチャーに装着する際の固定用として使用されているだけであった。またリガチャー本体にはゴールド、ピンクゴールド、シルバー、プラチナなどの鍍金を施すことで音色が変わり、演奏者がそれぞれを好みで選んでいた。
【0005】
楽器のノーマル状態で吹奏すると、リードとマウスピース双方の振幅波形が同期した関係を維持することから、このままでは、マウスピースの共鳴振動がリード振動エネルギーの本来の働きを阻害してしまう。
【0006】
ここで、マウスピースの共鳴振動がリード振動エネルギーの本来の働きを阻害する理由を、紐で吊るした裸のスピーカーを例にして二つ説明する。「リード振動とマウスピース振動」及び「スピーカー振動紙の振動とスピーカーフレーム振動」の双方の関係で考察する。「リードとスピーカー振動紙」は振動源であって、「マウスピースとスピーカーフレーム」はその振動源によって共鳴振動を起こしている関係である。裸のスピーカー単体で音を再生すると、スピーカー振動紙の作動によってスピーカーフレームが激しく共鳴振動を起こす。この時、振動紙と同期して同じ方向へスピーカーフレームが振動して動き、結果的にスピーカー振動紙の振動を阻害する。これは包丁を研ぐとき、砥石が包丁と同期して同じ方向へ動いているのと同様になり、あまり研げない状態である。こうならないようにこの砥石は台に固定し、スピーカーはしっかりとしたスピーカーボックスに取り付けることで、スピーカーフレームが共鳴振動しなくなり、音がよくなるのは周知の事実で有る。これでスピーカー振動紙の振動を阻害するものが消えることになる。
【0007】
もう一つ共鳴振動で音量が逃げている事例では、サックスの音の出口のベル先端内側にはリング状の鉄線を入れて加締めてある。これはベル先端の強度を上げてぶつけても不要に変形しないようにしてあるが、長年楽器を演奏していると楽器の振動で、時によってこの加締めが緩んでくる時がある。これを確認するには、握りにゴムの付いたドライバーなどでベルの周りを軽く叩いて一周すると、音の変化がある場合は加締めが緩んでいる証拠で、この状態で低音を吹奏するとベルの振動が、その加締めが緩んでいる箇所で鉄線が震えて共鳴振動するため、そこで音が逃げることになる。これを修理して、加締めの緩みを修正すると、中低音の豊かなサウンドが出現する。
【0008】
これは上記にあるように裸のスピーカーを紐で吊るし音を出すと、スピーカーフレームが共鳴振動して振動紙の動きを阻害して音が逃げているのと同様の結果であり、薄いブリキ板で作成したスピーカーボックスにスピーカーを取り付けて音を出すと、スピーカーボックスが激しく共鳴振動してスピーカーボックスから振動が逃げているので高音も低音も出ないため、魅力のない音になる。
【0009】
リード管楽器のリードとマウスピースの関係では、吹奏者は楽器を持って動きながら演奏するので、砥石や、スピーカーと同じように固定して振動抑制することは出来ない。このためマウスピースやネック固定部分及び楽器本体が共鳴振動しているので、リード振動エネルギーがその共鳴振動部分で逃げてしまい、リードが本来持っている振動能力が損なわれている。
【0010】
現在、音を良くする一般的な概念として、リード振動をできる限り増やしてマウスピースや楽器本体をより多く振動させるのが最善の方法であると考えられており、マウスピースの共鳴振動を積極的に減衰抑制すると、リードの振動が低下して音質が悪くなり有害であると考えられてきた。
(【0011】以降は省略されています)
この特許をJ-PlatPat(特許庁公式サイト)で参照する
関連特許
個人
遮音材
14日前
個人
管楽器用リガチャ-
1か月前
個人
歌唱補助器具
23日前
個人
音声出力装置
14日前
横浜ゴム株式会社
音響材
7日前
大和ハウス工業株式会社
音低減設備
24日前
DIC株式会社
吸音材及び吸音部品
25日前
個人
管楽器用音質改善留め具
1日前
NOK株式会社
吸音構造体
16日前
矢崎総業株式会社
車両用対話システム
15日前
株式会社SinasSP
自動騒音低減装置
1か月前
横浜ゴム株式会社
多層空洞音響材
14日前
株式会社第一興商
カラオケ装置
15日前
トヨタ自動車株式会社
判定装置
1か月前
カシオ計算機株式会社
発音装置、発音方法及びプログラム
1か月前
株式会社JVCケンウッド
収音装置、収音方法、およびプログラム
1か月前
大建工業株式会社
吸音体及び音環境調整構造
1か月前
ブラザー工業株式会社
音声録音装置、及び、音声録音用プログラム
1か月前
ブラザー工業株式会社
カラオケ用プログラム、及び、カラオケ装置
1か月前
有限会社ツバサ
エレキギターおよび保護フィルム付きの樹脂プレート
1か月前
ヤマハ株式会社
音処理装置及び音処理方法
1日前
有限会社 宮脇工房
モーター挙動音発生装置
23日前
株式会社デンソー
制御装置、制御方法、及び制御プログラム
7日前
株式会社リコー
対話装置、対話システム、対話方法及びプログラム
1か月前
株式会社SUBARU
乗物用遮音構造体、及び車両
1か月前
本田技研工業株式会社
能動型振動騒音制御装置
1か月前
本田技研工業株式会社
能動型振動騒音制御装置
1か月前
株式会社第一興商
カラオケ装置、カラオケシステム
9日前
固昌通訊股ふん有限公司
音響調整装置
28日前
カシオ計算機株式会社
情報処理装置、方法およびプログラム
1か月前
株式会社クラウン・パッケージ
音発生具及び音発生具を形成するブランクシート
1か月前
株式会社コルグ
楽音信号変換装置、楽音信号変換方法、プログラム
17日前
株式会社東芝
発話言語理解のためのシステムおよび方法
29日前
安克創新科技股フン有限公司
通話ノイズキャンセリング方法及びイヤホン
29日前
株式会社枚方技研
方向付き楽器固定具
15日前
株式会社淺沼組
音響システムおよび音響システム付き建築物
1か月前
続きを見る
他の特許を見る