TOP
|
特許
|
意匠
|
商標
特許ウォッチ
Twitter
他の特許を見る
10個以上の画像は省略されています。
公開番号
2025162928
公報種別
公開特許公報(A)
公開日
2025-10-28
出願番号
2024066437
出願日
2024-04-16
発明の名称
音声応答システム、及びそれを利用した応答方法
出願人
エムケイ無線事業協同組合
,
株式会社POSナビ
代理人
個人
主分類
G10L
15/22 20060101AFI20251021BHJP(楽器;音響)
要約
【課題】 音声の発話を受信したときに地名及び位置情報を検索し音声で応対できる音声応答システムを提供する。
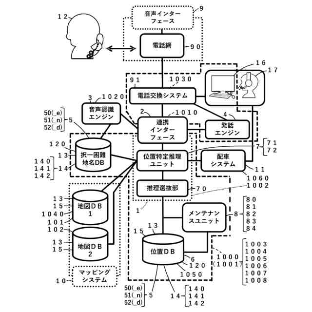
【解決手段】 音声情報を文字情報に変換する音声認識エンジン3と、文字情報を音声情報に変換する発話エンジン4と、正規地名13が登録されたマッピングシステム10(101,102)で検索困難、又は、音声説明容易な地名数まで絞り込みが困難な択一困難地名14を蓄積した択一困難地名データベース5と、前記択一困難地名データベース5の択一困難地名14の位置情報15を蓄積した位置データベース6と、前記択一困難地名データベース5及び前記位置データベース6を対象に、前記択一困難地名14及び前記択一困難地名14の位置情報15を検索し、音声説明容易な地名数まで絞り込む統合制御装置1000とを有し、択一困難地名の位置情報を検索し音声で応答できる音声応答システム1。
【選択図】図1
特許請求の範囲
【請求項1】
音声インターフェースを介して受信した音声情報を文字情報に変換する音声認識エンジンと、
文字情報を音声情報に変換する発話エンジンと、
正規地名が登録されたマッピングシステムで検索困難、又は、音声説明容易な地名数まで絞り込みが困難な地名を蓄積した択一困難地名データベースと、
前記択一困難地名データベースの択一困難地名の位置情報を蓄積した位置データベースと、
前記択一困難地名データベース及び前記位置データベースを対象に、前記択一困難地名及び前記択一困難地名の位置情報を検索し、音声説明容易な地名数まで絞り込む統合制御装置と
を有する音声応答システム。
続きを表示(約 1,800 文字)
【請求項2】
前記択一困難地名データベースは、慣用地名辞書、同表記異発音地名辞書及び同音異表記地名辞書を有し、
前記慣用地名辞書、同表記異発音地名辞書及び同音異表記地名辞書は、文字情報の前記択一困難地名に識別子を付した識別択一困難地名を蓄積する、
前記慣用地名辞書は、前記択一困難地名としての文字情報の慣用地名に、慣用地名であることを示す識別子を付した識別択一困難地名としての識別慣用地名と、前記識別慣用地名に一致する前記正規地名とを紐付けて蓄積し、
前記同表記異発音地名辞書は、前記択一困難地名としての、読み違いの文字情報の地名、及び、同表記異発音の文字情報の地名に、同表記異発音地名であることを示す識別子を付した識別択一困難地名としての識別同表記異発音地名と、前記識別同表記異発音地名に一致する前記正規地名とを紐付けて蓄積し、
前記同音異表記地名辞書は、前記択一困難地名としての、同音異表記の文字情報の地名、及び、言葉足らずの文字情報の不足地名に、同音異表記地名であることを示す識別子を付した識別択一困難地名としての識別同音異表記地名と、前記識別同音異表記地名に一致する前記正規地名とを紐付けて蓄積した
請求項1記載の音声応答システム。
【請求項3】
前記位置データベースは、前記識別択一困難地名と、前記識別択一困難地名に一致する前記正規地名と、前記正規地名の位置情報とを紐付けて蓄積する
請求項1記載の音声応答システム。
【請求項4】
前記統合制御装置は、
ユーザに対しユーザ情報及び地名を問う初期応答部と、
前記初期応答部で得た、地名及び前記地名の位置情報を、前記マッピングシステムを対象に検索する地図検索部と、
前記地名に追加地理情報を加えて検索する位置特定推理ユニットと、
前記地図検索部の検索で、音声説明容易な検出地名数まで絞り込めなかった場合、又は1つも検出しなかった場合に前記位置特定推理ユニットに処理を移管する移管部と、
前記地図検索部で音声説明容易な検出地名数を検出した場合に、前記択一困難地名データベース及び前記位置データベースを対象にマルチインデックス検索した各正規地名及び前記正規地名の位置情報に音声符号(1~3の番号等)を付し、ユーザに対し選択を要求する問いを出力する択一部と、
前記択一部の問いにユーザが応じて選択した1つの地名及び位置情報の正解を確認する問いを出力する確認部と
を有する請求項1記載の音声応答システム。
【請求項5】
前記位置特定推理ユニットは、
前記地図検索部から、処理の移管を受けたときに、ユーザに対し追加地理情報の問いを出力する特定情報追加部と、
前記地名に前記追加地理情報を加えて前記択一困難地名データベースを対象に音声説明容易な検出地名数まで絞り込む推理選抜部と、
前記推理選抜部が、前記択一困難地名データベース及び前記位置データベースを対象に前記択一困難地名、前記択一困難地名の正規地名、及び、前記正規地名の位置情報をマルチインデックス検索し、音声説明容易な検出地名数を検出した場合に、検索結果を前記択一部に送信する出力部と
を有する請求項4記載の音声応答システム。
【請求項6】
前記位置特定推理ユニットが、前記択一困難地名データベース及び前記位置データベースを対象に、前記識別択一困難地名をマルチインデックス検索する推理検索工程と、
前記推理検索工程で、音声説明容易な検出地名数まで絞り込めなかった場合、又は1つも検出しなかった場合に、前記推理選抜部が、追加地理情報の問いを出力する特定情報追加工程と、
前記識別択一困難地名に前記特定情報追加工程で得た追加地理情報を加えて、前記推理選抜部が、前記択一困難地名データベース及び前記位置データベースを対象にマルチインデックス検索し、音声説明容易な検出地名数まで絞り込む推理選抜工程と、
前記推理選抜工程で絞り込んだ正規地名及び追加地理情報又は住所を前記択一部に送信する出力工程と
を有する請求項5記載の音声応答システムを利用した応答方法。
発明の詳細な説明
【技術分野】
【0001】
本発明は、コンピュータを利用して音声による通話に応対する音声応答システム、及び、前記音声応答システムを利用した応答方法に関する。
続きを表示(約 2,800 文字)
【背景技術】
【0002】
近年、スマートフォンやタブレットPC等の携帯端末からタクシーを呼ぶ際に、現在地の店名、会社名、家名や地名又は住所等を知っている場合には、電話網を通じたオペレータとの通話で呼ぶことができる。又、外出先の路上等、正確な現在地が不明な場合や、言葉で説明するのが難しい場合等には、タクシー配車アプリを利用できる。前記タクシー配車アプリを利用すると、前記携帯端末からオペレータを介さずにインターネットに接続しディスプレイに表示されたウェブマップ上の現在地に配車の要請ができる。しかしながら、携帯端末を使いこなすことが困難な高齢者や児童等は、従来通り電話網を通じた会話で呼ぶしかなく、タクシー会社は、オペレータによる対応を削減出来なかった。
【0003】
オペレータの負担を軽減する技術としてコンピュータを利用した音声による受注技術がある。
例えば、特許文献1(特開平8-320696号公報)に示された任意に話された単語の自動通話認識方法は、単語モデルと少なくとも部分的に認識決定の基になる相関データとを記憶する第1のデータベースを備えた自動通話認識(ASR)装置において、補助的な第2のデータベースに記憶された情報を用いて前記ASR装置の能力を高める方法であって、第1及び第2の部分を有する入力をユーザから受信する工程と、前記ユーザから得られた入力を前記ASR装置に記憶する工程と、前記ASR装置が前記ユーザから回収された前記入力の第1の部分を認識する工程と、前記入力の第1の部分に関連した、前記補助データベースに記憶された補助データを識別して読み出す工程と、前記補助データベースから読み出された前記情報から引き出されたテンプレートを作り出す工程と、前記テンプレートを用いて、前記ユーザが話した通りに前記入力の第2の部分を認識する工程とからなる。前記補助データベースは、固有名詞等の補助文書情報を読み出すためにアクセスされる。文書/通話手段は補助データベースから読み出された文書の音素表現を生成するために用いられ、この音素表現は、話された単語を認識するための自動通話認識(ASR)装置で話者非依存テンプレートとして用いることができる。前記ASR装置が話者特定訓練をすることなく任意に話された単語を認識できる。
【0004】
また、特許文献2(特開2023-2650号公報)に示された自動通話システムには、自動通話システムのための方法、システムおよび装置が開示される。
いくつかの実装形態は、電話通話を開始し、ユーザとの電話での会話を行うためにボットを使用することに向けられている。ボットは、電話通話中に合成音声を提供している間、割り込まれる場合がある。割り込みは、複数の異なる割り込みタイプのうちの1つに分類することができ、ボットは、割り込みタイプに基づいて割り込みに反応することができる。いくつかの実装形態は、電話での会話中に第1のユーザが第2のユーザによって保留にされたことを判定し、第1のユーザが電話通話を切ったとの判定に応答して電話通話をアクティブ状態に維持することに向けられている。第1のユーザには、第2のユーザが通話に再参加したときに通知することができ、第1のユーザに関連付けられたボットは、第2のユーザが電話通話に再参加したことを第1のユーザに通知することができる。
【先行技術文献】
【特許文献】
【0005】
特開平8-320696号公報
特開2023-2650号公報
【発明の概要】
【発明が解決しようとする課題】
【0006】
しかしながら、前記特許文献1の任意に話された単語の自動通話認識方法は、データベースから読み出された補助情報を用いて、電話網を通じて話すユーザの単語を認識する際に自動通話認識装置(ASR)を支援する方法に関するが、電話網を通じてタクシーの配車依頼を受注する際に、ユーザの音声情報に基づき、乗車位置や目的地等の対象地名及び地図座標を検索し、応答できるものではない。
【0007】
前記特許文献2の自動通話システムは、複数のユーザが音声を発している場合にも、日時、予約内容、人数等の重要な情報を収集できる。しかしながら、前記特許文献1と同様に、タクシーの配車依頼を受注する際に、対象地名及び地図座標を検索し、応答できるものではない。
【0008】
タクシー配車アプリが、ユーザからタクシーの配車依頼を受注する際には、ユーザの現在地を乗車位置としてマッピングシステムで検出するか、又は、ユーザの文字入力によって住所や緯度・経度等の位置情報を取得し、更に、目的地を前記マッピングシステムの地図上で選択するか、又はユーザによる文字入力によって取得することができる。しかしながら、スマートフォンやタブレットPC等の操作に不慣れな高齢者や児童等が、前記タクシー配車アプリを適切に使用できない場合には、電話で配車依頼をすることとなる。
【0009】
従前までのコンピュータ技術では、音声通話による配車依頼を受注するのが困難であった。音声情報を文字情報化し、文字情報の中から地名を抽出し、その地名をマッピングシステムで検索することとなる。コンシューマ向けのマッピングシステムは正規地名のみが登録されており、正規地名から大きくかけ離れた地域特有の地名や屋号、愛称等の非正規地名の場合には地図上の位置を特定できなかった。又、同表記異発音の地名、同音異表記の地名、言葉足らずの音声による地名等、複数の住所を検出した場合に、音声通話によって効率的に一つの場所に絞り込むことが困難であった。以上のような理由からオペレータの負担を軽減するのは難しかった。
【0010】
更に、タクシー会社の電話網を通じた受注に留まらず、自動運転化技術が搭載された車両に乗車したユーザが前記車両に搭載したAiエンジンに、音声インターフェースを通じて目的地(地名)を発話し、目的地を指示することが今後予想される。前記車載のAiエンジンは、前記ユーザの音声情報を文字情報化し、前記文字情報化した地名を、車載カーナビ、及び前記車載カーナビが接続するウェブマッピングシステム等で前記地名を検索することとなる。この場合にもユーザが前記車載カーナビやウェブマッピングシステム等に登録されていない非正規地名を発話した場合、位置情報を検出できないという問題が発生する。更に、同表記異発音の地名、同音異表記の地名、言葉足らずの音声による地名等、複数の住所を検出した場合に、音声通話によって効率的に一つの場所に絞り込むことが困難であるという課題も残る。
(【0011】以降は省略されています)
この特許をJ-PlatPat(特許庁公式サイト)で参照する
関連特許
個人
遮音材
13日前
個人
歌唱補助器具
22日前
個人
管楽器用リガチャ-
1か月前
横浜ゴム株式会社
音響材
6日前
個人
音声出力装置
13日前
大和ハウス工業株式会社
音低減設備
23日前
DIC株式会社
吸音材及び吸音部品
24日前
個人
管楽器用音質改善留め具
今日
NOK株式会社
吸音構造体
15日前
横浜ゴム株式会社
多層空洞音響材
13日前
矢崎総業株式会社
車両用対話システム
14日前
株式会社SinasSP
自動騒音低減装置
1か月前
カシオ計算機株式会社
発音装置、発音方法及びプログラム
1か月前
トヨタ自動車株式会社
判定装置
1か月前
株式会社第一興商
カラオケ装置
14日前
株式会社JVCケンウッド
収音装置、収音方法、およびプログラム
1か月前
ブラザー工業株式会社
カラオケ用プログラム、及び、カラオケ装置
1か月前
大建工業株式会社
吸音体及び音環境調整構造
1か月前
ブラザー工業株式会社
音声録音装置、及び、音声録音用プログラム
1か月前
有限会社ツバサ
エレキギターおよび保護フィルム付きの樹脂プレート
1か月前
ヤマハ株式会社
音処理装置及び音処理方法
今日
有限会社 宮脇工房
モーター挙動音発生装置
22日前
株式会社デンソー
制御装置、制御方法、及び制御プログラム
6日前
株式会社SUBARU
乗物用遮音構造体、及び車両
1か月前
株式会社リコー
対話装置、対話システム、対話方法及びプログラム
1か月前
株式会社第一興商
カラオケ装置、カラオケシステム
8日前
本田技研工業株式会社
能動型振動騒音制御装置
1か月前
本田技研工業株式会社
能動型振動騒音制御装置
1か月前
株式会社コルグ
楽音信号変換装置、楽音信号変換方法、プログラム
16日前
カシオ計算機株式会社
情報処理装置、方法およびプログラム
1か月前
株式会社クラウン・パッケージ
音発生具及び音発生具を形成するブランクシート
1か月前
固昌通訊股ふん有限公司
音響調整装置
27日前
株式会社東芝
発話言語理解のためのシステムおよび方法
28日前
株式会社枚方技研
方向付き楽器固定具
14日前
安克創新科技股フン有限公司
通話ノイズキャンセリング方法及びイヤホン
28日前
株式会社淺沼組
音響システムおよび音響システム付き建築物
1か月前
続きを見る
他の特許を見る