TOP
|
特許
|
意匠
|
商標
特許ウォッチ
Twitter
他の特許を見る
公開番号
2025154432
公報種別
公開特許公報(A)
公開日
2025-10-10
出願番号
2024057431
出願日
2024-03-29
発明の名称
音響システムおよび音響システム付き建築物
出願人
株式会社淺沼組
代理人
個人
,
個人
,
個人
,
個人
,
個人
主分類
G10K
15/04 20060101AFI20251002BHJP(楽器;音響)
要約
【課題】人の作業効率の低下を抑制できる音響システムおよび音響システム付き建築物を提供すること。
【解決手段】音響システム1は、第1再生時間T1を有し、第1の自然音が録音された第1音源21と、第1再生時間T1と異なる第2再生時間T2を有し、第1の自然音と異なる第2の自然音が録音された音源である第2音源22と、第1音源21および第2音源22を同時に繰り返し再生することで、第1音源21および第2音源22のそれぞれに対応する信号である第1信号および第2信号を出力可能な第1再生装置31と、第1信号および第2信号を受信し、第1信号および第2信号に対応する第1音声および第2音声を出力するスピーカ5と、を備える。
【選択図】図1
特許請求の範囲
【請求項1】
第1再生時間を有し、第1の自然音が録音された第1音源と、
前記第1再生時間と異なる第2再生時間を有し、前記第1の自然音と異なる第2の自然音が録音された音源である第2音源と、
前記第1音源および前記第2音源を同時に繰り返し再生することで、前記第1音源および前記第2音源のそれぞれに対応する信号である第1信号および第2信号を出力可能な再生装置と、
前記第1信号および前記第2信号を受信し、前記第1信号および前記第2信号に対応する第1音声および第2音声を出力するスピーカと、
を備える、音響システム。
続きを表示(約 750 文字)
【請求項2】
前記スピーカは、
前記第1音声を出力する第1スピーカと、
前記第1スピーカから独立し、前記第2音声を出力する第2スピーカと、を含む、請求項1に記載の音響システム。
【請求項3】
前記再生装置は、
前記第1音源を繰り返し再生することで、前記第1音源に対応する第1信号を出力可能な第1再生装置と、
前記第1再生装置から独立し、前記第2音源を繰り返し再生することで、前記第2音源に対応する第2信号を出力可能な第2再生装置と、
を含む、請求項1または請求項2に記載の音響システム。
【請求項4】
請求項1または請求項2に記載の音響システムと、
部屋と、を備え、
前記スピーカは、前記部屋の内部に配置されている、音響システム付き建築物。
【請求項5】
請求項3に記載の音響システムと、
部屋と、を備え、
前記スピーカは、前記部屋の内部に配置されている、音響システム付き建築物。
【請求項6】
前記部屋は、
側壁面と、
天井面と、
床面と、を含み、
前記側壁面、前記天井面および前記床面からなる群から選択される少なくとも1つの面における30%以上の部分が、自然由来の材料で構成されている、請求項4に記載の音響システム付き建築物。
【請求項7】
前記部屋は、
側壁面と、
天井面と、
床面と、を含み、
前記側壁面、前記天井面および前記床面からなる群から選択される少なくとも1つの面における30%以上の部分が、自然由来の材料で構成されている、請求項5に記載の音響システム付き建築物。
発明の詳細な説明
【技術分野】
【0001】
本開示は、音響システムおよび音響システム付き建築物に関する。
続きを表示(約 1,400 文字)
【背景技術】
【0002】
音源と、再生装置と、スピーカと、を備える音響システムが知られている(たとえば、下記特許文献1参照。)。特許文献1に記載の音響システムでは、再生装置は、音源を繰り返し再生することで、音源に対応する信号を出力する。スピーカは、信号を受信し、信号に対応する音声を出力する。スピーカから出力された音声は、人に聴かれる。
【先行技術文献】
【特許文献】
【0003】
特開2018-006963号公報
【発明の概要】
【発明が解決しようとする課題】
【0004】
音源に自然音が録音される場合には、作業する人の疲れが癒される。これにより、人の作業効率が向上することが期待される。
【0005】
しかし、特許文献1に記載の音響システムにおいて、音源が第1音源と第2音源とを含む場合であって、第1音源の再生時間と、第2音源の再生時間とが同じである場合には、人は、繰り返し出力される第1音声および第2音声を予測できるので、繰り返し出力される第1音声および第2音声に飽き、人の作業効率が低下し易い。
【0006】
本開示は、人の作業効率の低下を抑制できる音響システムおよび音響システム付き建築物を提供することを目的の一つとする。
【課題を解決するための手段】
【0007】
本開示に従った音響システムは、第1再生時間を有し、第1の自然音が録音された第1音源と、第1再生時間と異なる第2再生時間を有し、第1の自然音と異なる第2の自然音が録音された音源である第2音源と、第1音源および第2音源を同時に繰り返し再生することで、第1音源および第2音源のそれぞれに対応する信号である第1信号および第2信号を出力可能な再生装置と、第1信号および第2信号を受信し、第1信号および第2信号に対応する第1音声および第2音声を出力するスピーカと、を備える。
【発明の効果】
【0008】
本開示の音響システムおよび音響システム付き建築物によれば、人の作業効率の低下を抑制できる。
【図面の簡単な説明】
【0009】
図1は、実施の態様1の音響システムの概念図である。
図2は、音源の再生時間を時間軸で表した図である。
図3は、本開示の音響システム付き建築物の概略図である。
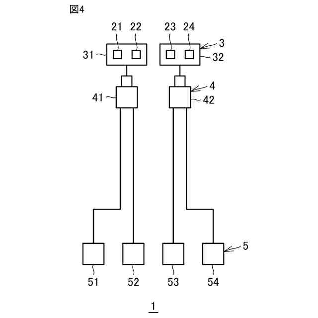
図4は、実施の態様2の音響システムの概念図である。
図5は、実施の態様3の音響システムの概念図である。
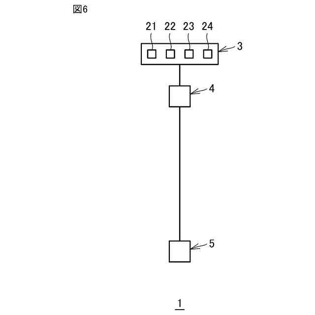
図6は、変形例の音響システムの概念図である。
【発明を実施するための形態】
【0010】
[実施形態の概要]
本開示に従った音響システムは、第1再生時間を有し、第1の自然音が録音された第1音源と、第1再生時間と異なる第2再生時間を有し、第1の自然音と異なる第2の自然音が録音された音源である第2音源と、第1音源および第2音源を同時に繰り返し再生することで、第1音源および第2音源のそれぞれに対応する信号である第1信号および第2信号を出力可能な再生装置と、第1信号および第2信号を受信し、第1信号および第2信号に対応する第1音声および第2音声を出力するスピーカと、を備える。
(【0011】以降は省略されています)
この特許をJ-PlatPat(特許庁公式サイト)で参照する
関連特許
株式会社淺沼組
音響システムおよび音響システム付き建築物
1か月前
個人
遮音材
14日前
個人
歌唱補助器具
23日前
個人
管楽器用リガチャ-
1か月前
横浜ゴム株式会社
音響材
7日前
個人
音声出力装置
14日前
大和ハウス工業株式会社
音低減設備
24日前
DIC株式会社
吸音材及び吸音部品
25日前
個人
管楽器用音質改善留め具
1日前
NOK株式会社
吸音構造体
16日前
株式会社SinasSP
自動騒音低減装置
1か月前
横浜ゴム株式会社
多層空洞音響材
14日前
矢崎総業株式会社
車両用対話システム
15日前
カシオ計算機株式会社
発音装置、発音方法及びプログラム
1か月前
トヨタ自動車株式会社
判定装置
1か月前
株式会社第一興商
カラオケ装置
15日前
株式会社JVCケンウッド
収音装置、収音方法、およびプログラム
1か月前
大建工業株式会社
吸音体及び音環境調整構造
1か月前
ブラザー工業株式会社
カラオケ用プログラム、及び、カラオケ装置
1か月前
ヤマハ株式会社
音処理装置及び音処理方法
1日前
有限会社ツバサ
エレキギターおよび保護フィルム付きの樹脂プレート
1か月前
有限会社 宮脇工房
モーター挙動音発生装置
23日前
株式会社SUBARU
乗物用遮音構造体、及び車両
1か月前
株式会社リコー
対話装置、対話システム、対話方法及びプログラム
1か月前
株式会社デンソー
制御装置、制御方法、及び制御プログラム
7日前
本田技研工業株式会社
能動型振動騒音制御装置
1か月前
本田技研工業株式会社
能動型振動騒音制御装置
1か月前
株式会社第一興商
カラオケ装置、カラオケシステム
9日前
固昌通訊股ふん有限公司
音響調整装置
28日前
カシオ計算機株式会社
情報処理装置、方法およびプログラム
1か月前
株式会社コルグ
楽音信号変換装置、楽音信号変換方法、プログラム
17日前
株式会社東芝
発話言語理解のためのシステムおよび方法
29日前
株式会社淺沼組
音響システムおよび音響システム付き建築物
1か月前
株式会社枚方技研
方向付き楽器固定具
15日前
安克創新科技股フン有限公司
通話ノイズキャンセリング方法及びイヤホン
29日前
カシオ計算機株式会社
情報処理装置、演奏装置、方法およびプログラム
1か月前
続きを見る
他の特許を見る