TOP
|
特許
|
意匠
|
商標
特許ウォッチ
Twitter
他の特許を見る
公開番号
2025157721
公報種別
公開特許公報(A)
公開日
2025-10-16
出願番号
2024059909
出願日
2024-04-03
発明の名称
エレキギターおよび保護フィルム付きの樹脂プレート
出願人
有限会社ツバサ
代理人
個人
主分類
G10D
3/18 20200101AFI20251008BHJP(楽器;音響)
要約
【課題】ギター本体のおもて面に取り付けられる保護フィルム付きの樹脂プレートを備えるエレキギターにおいて、樹脂プレートの裏面側に取り付けられる可変抵抗器の抵抗器本体と配線との接続部分の損傷を防止しつつ、樹脂プレートから保護フィルムをきれいに剥がすことが可能なエレキギターを提供する。
【解決手段】このエレキギターでは、音量調整部および音質調整部13の可変抵抗器17の抵抗器本体20は、樹脂プレート11の裏面側に取り付けられ、可変抵抗器17は、樹脂プレート11のおもて面側に配置されるナット22によって固定されている。樹脂プレート11には、可変抵抗器17の一部が配置される貫通穴11aが形成され、保護フィルム15には、貫通穴11aの径よりも径が大きい貫通穴15aが形成されている。樹脂プレート11の厚さ方向から見たときに、貫通穴15aの中に貫通穴11aが配置されている。
【選択図】図2
特許請求の範囲
【請求項1】
ギター本体と、前記ギター本体のおもて面に取り付けられる保護フィルム付きの樹脂プレートと、音量を調整するための音量調整部と、音質を調整するための音質調整部とを備え、
前記保護フィルムは、前記樹脂プレートのおもて面に貼り付けられ、
前記音量調整部および前記音質調整部は、前記樹脂プレートの裏面側に取り付けられる抵抗器本体を有する可変抵抗器を備え、
前記可変抵抗器は、前記樹脂プレートのおもて面側に配置されるナットによって固定され、
前記樹脂プレートには、前記可変抵抗器の一部が配置される第1の貫通穴が形成され、
前記保護フィルムには、前記第1の貫通穴の径よりも径が大きい第2の貫通穴が形成され、
前記樹脂プレートの厚さ方向から見たときに、前記第2の貫通穴の中に前記第1の貫通穴が配置されていることを特徴とするエレキギター。
続きを表示(約 1,100 文字)
【請求項2】
前記第1の貫通穴および前記第2の貫通穴は、丸穴であり、
前記第1の貫通穴と前記第2の貫通穴とは、同心円状に形成されていることを特徴とする請求項1記載のエレキギター。
【請求項3】
前記音量調整部および前記音質調整部は、前記可変抵抗器の回転軸に取り付けられるとともに前記樹脂プレートのおもて面側に配置されるノブを備え、
前記第2の貫通穴の径は、前記樹脂プレートの厚さ方向となる前記回転軸の軸方向から見たときの前記ノブの外形と同程度の大きさか、または、前記回転軸の軸方向から見たときの前記ノブの外形よりも小さくなっていることを特徴とする請求項2記載のエレキギター。
【請求項4】
前記可変抵抗器は、前記抵抗器本体に対して回転可能な前記回転軸と、前記抵抗器本体に固定されるとともに前記回転軸を回転可能に支持する軸支持部と、前記抵抗器本体および前記軸支持部を前記樹脂プレートに固定するための前記ナットと、前記ナットとともに前記樹脂プレートのおもて面側に配置される座金とを備え、
前記軸支持部は、前記ナットが係合するオネジが外周面に形成されるとともに前記回転軸の一部が内周側に配置される円筒状の円筒部を備え、
前記円筒部の一部は、前記第1の貫通穴の中に配置されるとともに、前記座金の内周側に配置され、
前記座金は、前記樹脂プレートのおもて面に接触し、
前記座金の外径は、前記回転軸の軸方向から見たときの前記ノブの外形よりも小さくなっており、
前記第2の貫通穴の径は、前記座金の外径と同程度の大きさであることを特徴とする請求項3記載のエレキギター。
【請求項5】
エレキギターのギター本体のおもて面に取り付けられる保護フィルム付きの樹脂プレートであって、
前記エレキギターの音量を調整するための音量調整部および前記エレキギターの音質を調整するための音質調整部が有する可変抵抗器の一部が配置される第1の貫通穴が形成され、
前記保護フィルムは、前記樹脂プレートのおもて面に貼り付けられ、
前記保護フィルムには、前記第1の貫通穴の径よりも径が大きい第2の貫通穴が形成され、
前記樹脂プレートの厚さ方向から見たときに、前記第2の貫通穴の中に前記第1の貫通穴が配置されていることを特徴とする保護フィルム付きの樹脂プレート。
【請求項6】
前記音量調整部および前記音質調整部を備えることを特徴とする請求項5記載の保護フィルム付きの樹脂プレート。
発明の詳細な説明
【技術分野】
【0001】
本発明は、エレキギターに関する。また、本発明は、エレキギターのギター本体のおもて面に取り付けられる保護フィルム付きの樹脂プレートに関する。
続きを表示(約 2,600 文字)
【背景技術】
【0002】
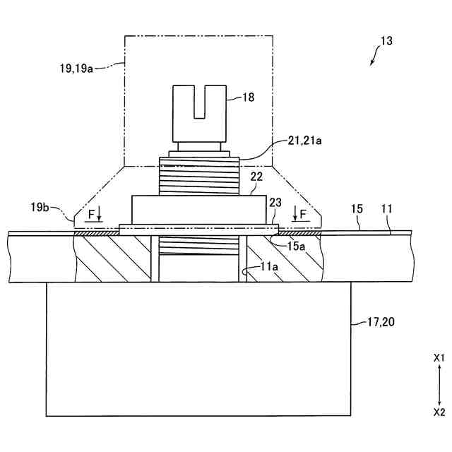
従来、ギター本体と、ギター本体のおもて面に取り付けられるピックガードとを備えるエレキギター(電気ギター)が知られている(たとえば、特許文献1参照)。特許文献1に記載のエレキギターは、エレキギターの音量を調整するためのノブ(コントロールノブ)と、エレキギターの音質(音色)を調整するためのノブとを備えている。ノブは、たとえば、ピックガードに取り付けられる可変抵抗器の回転軸に取り付けられている。ピックガードは、複数のネジによってギター本体に固定されている。ギター本体には、各種の電子部品が配置される凹部が形成されている。この凹部は、ピックガードによって塞がれている。
【0003】
特許文献1に記載のエレキギターでは、可変抵抗器を取り付けるための貫通穴がピックガードに形成されている。また、ピックガードには、ネジが挿通される貫通穴が形成されている。特許文献1に記載のエレキギターの場合、新品の状態では、ピックガードのおもて面に保護フィルムが貼り付けられている。また、ギター本体に取り付けられたピックガードが新品のピックガードに交換されたときにも、ピックガードのおもて面には保護フィルムが貼り付けられている。ユーザは、通常、保護フィルムをピックガードから剥がした後にエレキギターを使用する。ピックガードを製造するときには、保護フィルム付きのピックガードに穴開け加工が行われて、複数の貫通穴が形成される。そのため、保護フィルムにも貫通穴が形成されている。
【0004】
なお、可変抵抗器は、一般に、ピックガードの裏面側に配置される抵抗器本体と、ノブが取り付けられるとともに抵抗器本体に対して回転可能な回転軸と、抵抗器本体に固定されるとともに回転軸を回転可能に支持する軸支持部と、抵抗器本体および軸支持部をピックガードに固定するためのナットとを備えている。軸支持部は、可変抵抗器を取り付けるためのピックガードの貫通穴に挿通されるとともに回転軸の一部が内周側に配置される円筒状の円筒部を備えている。円筒部の外周面には、ナットが係合するオネジが形成されている。ナットは、ピックガードのおもて面側に配置されている。
【先行技術文献】
【特許文献】
【0005】
特許第5676044号公報
【発明の概要】
【発明が解決しようとする課題】
【0006】
本願発明者は、エレキギターを製造している。本願発明者が製造するエレキギターでは、可変抵抗器の抵抗器本体は、ピックガード、または、ピックガードと別体で形成されギター本体のおもて面に取り付けられる樹脂製のプレートの裏面側に取り付けられている。このエレキギターでも、たとえば、新品の状態では、ピックガードやプレートのおもて面に保護フィルムが貼り付けられている。本願発明者の調査によると、ユーザがピックガードやプレートから保護フィルムを剥がした後のエレキギターにおいて、抵抗器本体と、抵抗器本体に接続されるリード線等の配線との接続部分が損傷するといった事案が発生していることが明らかになった。具体的には、ユーザがピックガードやプレートから保護フィルムをきれいに剥がそうとした場合に、抵抗器本体と配線との接続部分の損傷が発生することが、本願発明者の調査によって明らかになった。
【0007】
そこで、本発明の課題は、ギター本体のおもて面に取り付けられる保護フィルム付きの樹脂プレートを備えるエレキギターにおいて、樹脂プレートの裏面側に取り付けられる可変抵抗器の抵抗器本体と配線との接続部分の損傷を防止しつつ、樹脂プレートから保護フィルムをきれいに剥がすことが可能なエレキギターを提供することにある。また、本発明の課題は、エレキギターのギター本体のおもて面に取り付けられる保護フィルム付きの樹脂プレートにおいて、樹脂プレートの裏面側に取り付けられる抵抗器本体と配線との接続部分の損傷を防止しつつ、樹脂プレートから保護フィルムをきれいに剥がすことが可能となる保護フィルム付きの樹脂プレートを提供することにある。
【課題を解決するための手段】
【0008】
上記の課題を解決するため、本願発明者はさらなる調査を行った。その結果、本願発明者は、樹脂プレートから保護フィルムをきれいに剥がそうとするユーザが、保護フィルムの、可変抵抗器のナットと樹脂プレートとの間の部分(すなわち、保護フィルムの、可変抵抗器が配置されている部分)もきれいに剥がすためにナットを緩めると、可変抵抗器の抵抗器本体と配線との接続部分の損傷が生じることを知見するに至った。また、本願発明者は、さらなる調査によって、緩めたナットを再び締めるときに、抵抗器本体および軸支持部がナットと一緒に供回りするために、抵抗器本体と配線との接続部分の損傷が生じることを知見するに至った。
【0009】
本発明のエレキギターは、かかる新たな知見に基づくものであり、ギター本体と、ギター本体のおもて面に取り付けられる保護フィルム付きの樹脂プレートと、音量を調整するための音量調整部と、音質を調整するための音質調整部とを備え、保護フィルムは、樹脂プレートのおもて面に貼り付けられ、音量調整部および音質調整部は、樹脂プレートの裏面側に取り付けられる抵抗器本体を有する可変抵抗器を備え、可変抵抗器は、樹脂プレートのおもて面側に配置されるナットによって固定され、樹脂プレートには、可変抵抗器の一部が配置される第1の貫通穴が形成され、保護フィルムには、第1の貫通穴の径よりも径が大きい第2の貫通穴が形成され、樹脂プレートの厚さ方向から見たときに、第2の貫通穴の中に第1の貫通穴が配置されていることを特徴とする。
【0010】
本発明のエレキギターでは、保護フィルムに形成される第2の貫通穴の径は、可変抵抗器の一部が配置される樹脂プレートの第1の貫通穴の径よりも大きくなっており、樹脂プレートの厚さ方向から見たときに、第2の貫通穴の中に第1の貫通穴が配置されている。そのため、本発明では、ナットを緩めなくても、保護フィルムの、可変抵抗器が配置されている部分をきれいに剥がすことが可能になる。
(【0011】以降は省略されています)
この特許をJ-PlatPat(特許庁公式サイト)で参照する
関連特許
有限会社ツバサ
エレキギターおよび保護フィルム付きの樹脂プレート
1か月前
個人
遮音材
10日前
個人
歌唱補助器具
19日前
個人
管楽器用リガチャ-
27日前
個人
音声出力装置
10日前
横浜ゴム株式会社
音響材
3日前
大和ハウス工業株式会社
音低減設備
20日前
DIC株式会社
吸音材及び吸音部品
21日前
NOK株式会社
吸音構造体
12日前
株式会社SinasSP
自動騒音低減装置
1か月前
矢崎総業株式会社
車両用対話システム
11日前
横浜ゴム株式会社
多層空洞音響材
10日前
カシオ計算機株式会社
発音装置、発音方法及びプログラム
1か月前
トヨタ自動車株式会社
判定装置
1か月前
株式会社第一興商
カラオケ装置
11日前
株式会社第一興商
カラオケ装置
1か月前
シャープ株式会社
電子機器および電子機器の制御方法
1か月前
ブラザー工業株式会社
カラオケ装置及びカラオケプログラム
1か月前
大建工業株式会社
吸音体及び音環境調整構造
1か月前
株式会社JVCケンウッド
収音装置、収音方法、およびプログラム
1か月前
ブラザー工業株式会社
カラオケ用プログラム、及び、カラオケ装置
1か月前
ブラザー工業株式会社
音声録音装置、及び、音声録音用プログラム
1か月前
有限会社ツバサ
エレキギターおよび保護フィルム付きの樹脂プレート
1か月前
有限会社 宮脇工房
モーター挙動音発生装置
19日前
株式会社デンソー
制御装置、制御方法、及び制御プログラム
3日前
株式会社リコー
対話装置、対話システム、対話方法及びプログラム
1か月前
株式会社SUBARU
乗物用遮音構造体、及び車両
1か月前
株式会社NTTドコモ
情報処理装置及び情報処理方法
1か月前
本田技研工業株式会社
能動型振動騒音低減装置
1か月前
本田技研工業株式会社
能動型振動騒音制御装置
1か月前
本田技研工業株式会社
能動型振動騒音制御装置
1か月前
株式会社第一興商
カラオケ装置、カラオケシステム
5日前
本田技研工業株式会社
能動型振動騒音低減装置
1か月前
カシオ計算機株式会社
情報処理装置、方法およびプログラム
1か月前
株式会社コルグ
楽音信号変換装置、楽音信号変換方法、プログラム
13日前
株式会社クラウン・パッケージ
音発生具及び音発生具を形成するブランクシート
1か月前
続きを見る
他の特許を見る