TOP
|
特許
|
意匠
|
商標
特許ウォッチ
Twitter
他の特許を見る
公開番号
2025165653
公報種別
公開特許公報(A)
公開日
2025-11-05
出願番号
2024069854
出願日
2024-04-23
発明の名称
吸音構造体
出願人
NOK株式会社
代理人
弁理士法人NYTパートナーズ
主分類
G10K
11/16 20060101AFI20251028BHJP(楽器;音響)
要約
【課題】重量の増加を抑えつつ、広い範囲の周波領域において吸音作用を奏する吸音構造体を提供する。
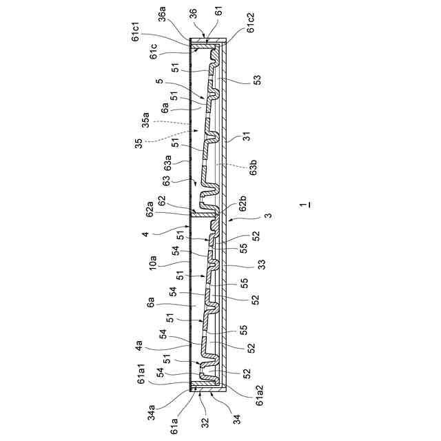
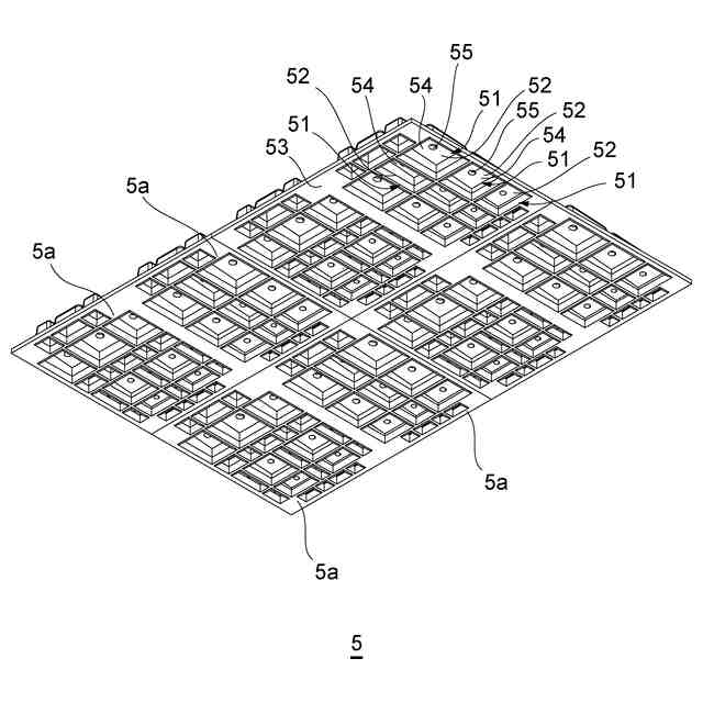
【解決手段】吸音構造体1は、音源側及び固定側に面する板状の構造体である板構造体2と、板構造体2を収容可能な空間を形成する部材である筐体3とを備えている。板構造体2は、音源側及び固定側に面する膜状の部材である膜構造体4と、音源側に向かって膜構造体4に対向する構造膜部5とを有している。構造膜部5は、複数の音源側に向かって突出する空間52を形成する突出部51を有している。
【選択図】図2
特許請求の範囲
【請求項1】
一方及び前記一方とは反対側の他方に面する板状の構造体である板構造体と、
前記板構造体を収容可能な空間を形成する部材である筐体とを備え、
前記板構造体は、前記一方及び前記他方に面する膜状の部材である膜構造体と、前記一方に向かって前記膜構造体に対向する構造膜部とを有し、
前記構造膜部は、複数の前記一方に向かって突出する空間を形成する突出部を有する、
吸音構造体。
続きを表示(約 670 文字)
【請求項2】
前記膜構造体は、膜状の部材である膜体と、弾性を有する膜状の部材である弾性膜部とを有し、
前記膜体は、前記一方及び前記他方に夫々面する一対の互いに背向する面を有する、
請求項1に記載の吸音構造体。
【請求項3】
前記弾性膜部は、複数の貫通孔を有する、
請求項2に記載の吸音構造体。
【請求項4】
前記膜体は、空気の透過を抑制する部材である、
請求項2に記載の吸音構造体。
【請求項5】
前記膜体は、膜状の部材である基膜部と、空気を遮断するための膜状の部材である空気遮断膜部とを有する、
請求項4に記載の吸音構造体。
【請求項6】
前記空気遮断膜部は、樹脂製である、
請求項5に記載の吸音構造体。
【請求項7】
前記基膜部と、前記空気遮断膜部とは、互いに接着されている、
請求項5又は6に記載の吸音構造体。
【請求項8】
前記構造膜部は、ヘルムホルツ共鳴器である、
請求項1に記載の吸音構造体。
【請求項9】
前記構造膜部は、発泡体から形成される、
請求項1又は8に記載の吸音構造体。
【請求項10】
前記板構造体は、前記膜構造体と前記構造膜部との間に、梁体を更に備え、
前記梁体は、前記膜構造体に対して前記構造膜部を支持する、
請求項1に記載の吸音構造体。
(【請求項11】以降は省略されています)
発明の詳細な説明
【技術分野】
【0001】
本発明は、吸音構造体に関する。
続きを表示(約 1,100 文字)
【背景技術】
【0002】
オフィスや会議室や住宅、工場等の空間には、高い遮音性が求められるものがある。このため、従来から、このような空間には、壁や天井、床等の空間の仕切り等に吸音機能を有する吸音構造体が設けられている(例えば、特許文献1参照。)。
【先行技術文献】
【特許文献】
【0003】
特開2008-96826号公報
【発明の概要】
【発明が解決しようとする課題】
【0004】
例えば、特許文献1に記載の吸音構造体は、低周波領域において吸音作用を奏するものであり、従来の吸音構造体は、低周波領域、中周波領域、又は高周波領域等の特定の周波数領域において吸音作用を奏するものであった。一方、広い範囲の周波領域において、吸音作用を奏するようにする場合、吸音構造体が大型化し大重量となっていた。このため、従来の吸音構造体に対しては、重量の増加を抑えつつ、広い範囲の周波領域において吸音作用を奏する構成が求められている。
【0005】
本発明は、上述の課題に鑑みてなされたものであり、その目的は、重量の増加を抑えつつ、広い範囲の周波領域において吸音作用を奏する吸音構造体を提供することにある。
【課題を解決するための手段】
【0006】
上記目的を達成するために、本発明に係る吸音構造体は、一方及び前記一方とは反対側の他方に面する板状の構造体である板構造体と、前記板構造体を収容可能な空間を形成する部材である筐体とを備え、前記板構造体は、前記一方及び前記他方に面する膜状の部材である膜構造体と、前記一方に向かって前記膜構造体に対向する構造膜部とを有し、前記構造膜部は、複数の前記一方に向かって突出する空間を形成する突出部を有する。
【0007】
本発明の一態様に係る吸音構造体において、前記膜構造体は、膜状の部材である膜体と、弾性を有する膜状の部材である弾性膜部とを有し、前記膜体は、前記一方及び前記他方に夫々面する一対の互いに背向する面を有する。
【0008】
本発明の一態様に係る吸音構造体において、前記弾性膜部は、複数の貫通孔を有する。
【0009】
本発明の一態様に係る吸音構造体において、前記膜体は、空気の透過を抑制する部材である。
【0010】
本発明の一態様に係る吸音構造体において、前記膜体は、膜状の部材である基膜部と、空気を遮断するための膜状の部材である空気遮断膜部とを有する。
(【0011】以降は省略されています)
この特許をJ-PlatPat(特許庁公式サイト)で参照する
関連特許
個人
遮音材
19日前
横浜ゴム株式会社
音響材
12日前
個人
音声出力装置
19日前
個人
管楽器用音質改善留め具
6日前
NOK株式会社
吸音構造体
21日前
横浜ゴム株式会社
多層空洞音響材
19日前
矢崎総業株式会社
車両用対話システム
20日前
株式会社第一興商
カラオケ装置
20日前
ヤマハ株式会社
音処理装置及び音処理方法
6日前
株式会社デンソー
制御装置、制御方法、及び制御プログラム
12日前
株式会社第一興商
カラオケ装置、カラオケシステム
14日前
株式会社コルグ
楽音信号変換装置、楽音信号変換方法、プログラム
22日前
株式会社枚方技研
方向付き楽器固定具
20日前
株式会社デンソー
制御装置、ロボットシステム、制御方法、及び制御プログラム
27日前
ピクシーダストテクノロジーズ株式会社
遮音ユニット、遮音構造体、および区画設備
21日前
株式会社イービーエム
音声分析装置、音声分析システム、音声分析方法、及び音声分析プログラム
12日前
カシオ計算機株式会社
電子鍵盤楽器
21日前
ヤマハ株式会社
コード推定装置およびコード推定方法
今日
株式会社トランストロン
アクティブノイズ制御装置、アクティブノイズ制御方法及びアクティブノイズ制御プログラム
27日前
パナソニックオートモーティブシステムズ株式会社
能動騒音低減装置、移動体装置、及び、能動騒音低減方法
20日前
AlphaTheta株式会社
情報処理装置
27日前
カシオ計算機株式会社
電子楽器、方法およびプログラム
12日前
ヤマハ株式会社
鍵盤装置及び演奏操作装置
12日前
ノキア テクノロジーズ オサケユイチア
オーディオ表現および関連するレンダリング
14日前
テイラー - リスタグ、インコーポレイテッド ドゥーイング ビジネス アズ テイラー ギターズ
ネック組立て特徴をもつギター
7日前
ビーサイズ株式会社
情報処理装置、情報処理端末、情報処理方法、情報処理プログラム
12日前
ヤマハ株式会社
データ出力方法、プログラム、データ出力装置および電子楽器
12日前
ルシード インコーポレイテッド
情動音楽の推薦および作曲のための方法、システム、および媒体
今日
華為技術有限公司
チャネル間位相差パラメータ符号化方法および装置
19日前
華為技術有限公司
マルチチャネル信号の符号化方法およびエンコーダ
8日前
ザ リサーチ インスティテュート アット ネーションワイド チルドレンズ ホスピタル
乳児起動式音声再生機の利用
今日
ピンドロップ セキュリティー、インコーポレイテッド
音声からの識別及び照合のための話者非依存性埋め込みのシステム及び方法
14日前
ドルビー ラボラトリーズ ライセンシング コーポレイション
没入的オーディオ信号をエンコードおよび/またはデコードするための方法および装置
8日前
フラウンホファー ゲセルシャフト ツール フェールデルンク ダー アンゲヴァンテン フォルシュンク エー.ファオ.
複数の音声オブジェクトをエンコードする装置および方法、または2つ以上の関連する音声オブジェクトを使用してデコードする装置および方法
8日前
個人
血液中の赤血球に結合したエンドトキシン測定のための試料作製法
20日前
ボルト スレッズ インコーポレイテッド
高剪断可溶化を介してスパイダーシルクタンパク質を単離するための方法
5日前
続きを見る
他の特許を見る