TOP
|
特許
|
意匠
|
商標
特許ウォッチ
Twitter
他の特許を見る
公開番号
2025172968
公報種別
公開特許公報(A)
公開日
2025-11-26
出願番号
2025151340,2023094886
出願日
2025-09-11,2018-10-09
発明の名称
乳児起動式音声再生機の利用
出願人
ザ リサーチ インスティテュート アット ネーションワイド チルドレンズ ホスピタル
代理人
個人
,
個人
,
個人
,
個人
,
個人
,
個人
主分類
G10K
15/04 20060101AFI20251118BHJP(楽器;音響)
要約
【課題】本発明は、運動反応を使用して乳児、早産児、及び/又は未熟児の語音区別を刺激かつ改善するのに使用される音声デバイスを利用する非一時的コンピュータ可読媒体を提供することを目的としている。
【解決手段】本発明の開示の一態様は、言語システム、感知デバイス、インタフェース、を含む音声デバイスを起動するために運動デバイスを利用するための命令を格納する非一時的コンピュータ可読媒体であって、言語システムは、第1の推奨又は第2の推奨と、センサ閾値及びセンサ読取値と、音声出力の持続時間と、音声出力に対する特定のパラメータと、のうちの少なくとも1つを提供し、言語システムは、センサの閾値を超えたことを示す感知デバイスからの信号に基づいて、オーディオ出力の割り当てられた持続時間にわたってオーディオ出力に対する特定のパラメータに適合する適切な音声録音を放出する命令を音声デバイスに送る。
【選択図】図1
特許請求の範囲
【請求項1】
音声デバイスと電子通信している言語システム、センサを含む感知デバイス、及びインタフェース、
を含む前記音声デバイスを起動するために運動デバイスを利用するための機械実行可能命令を格納する非一時的コンピュータ可読媒体であって、
前記インタフェースは、ユーザデータを受信するように構成され、前記感知デバイスは、前記言語システムに信号を送るように構成され、この言語システムは、
感知デバイスセンサ使用に対する第1の推奨又は第2の推奨と、
前記感知デバイスのセンサ閾値及びセンサ読取値と、
音声出力の持続時間と、
音声出力に対する特定のパラメータと、
のうちの少なくとも1つを提供し、
前記言語システムは、前記センサの閾値を超えたことを示す前記感知デバイスからの前記信号に基づいて、オーディオ出力の割り当てられた前記持続時間にわたってオーディオ出力に対する前記特定のパラメータに適合する適切な音声録音を放出する命令を前記音声デバイスに送る、
非一時的コンピュータ可読媒体。
続きを表示(約 1,700 文字)
【請求項2】
前記言語システムは、デフォルトオプション、非ネイティブ言語オプション、及び非1:1朗読-歌唱比のうちの少なくとも1つをユーザに提供するように前記インタフェースに命令する、請求項1に記載の非一時的コンピュータ可読媒体。
【請求項3】
前記言語システムが前記非ネイティブ言語オプションを提供する命令を受信するのに応答して、この言語システムは、識別された前記特定のパラメータに適合する非ネイティブ言語の歌唱及び朗読を提供し、かつ前記割り当てられた持続時間にわたって前記非ネイティブ言語の歌唱及び朗読を含む音声を放出するように前記音声デバイスに命令する、請求項2に記載の非一時的コンピュータ可読媒体。
【請求項4】
前記言語システムが前記非1:1朗読-歌唱比オプションを提供する命令を受信するのに応答して、この言語システムは、選択された歌唱対朗読比に対応する朗読-歌唱混合物を発生させ、かつ割り当てられた前記持続時間にわたって前記朗読-歌唱混合物を含む音声を放出するように前記音声デバイスに命令する、請求項2に記載の非一時的コンピュータ可読媒体。
【請求項5】
前記言語システムが前記デフォルトオプションを提供する命令を受信するのに応答して、この言語システムは、デフォルト歌唱対朗読比及びデフォルト言語に対応する事前録音された音声録音を発生させ、かつ割り当てられた前記持続時間にわたって前記デフォルト歌唱対朗読比及び前記デフォルト言語を含む音声を放出するように前記音声デバイスに命令する、請求項2に記載の非一時的コンピュータ可読媒体。
【請求項6】
前記言語システムが前記デフォルトオプションを提供する命令を受信するのに応答して、この言語システムは、ユーザによって録音される適切な主題のサンプルを発生させ、かつユーザ録音を発生させるために前記サンプルを復唱している前記ユーザを録音する命令を前記音声デバイスに送る、請求項2に記載の非一時的コンピュータ可読媒体。
【請求項7】
前記サンプルは、子供の名前、子供の年齢に基づいて選択された歌唱、及び子供の年齢に基づいて選択された朗読のうちの少なくとも1つを含むユーザ入力データを含む、請求項6に記載の非一時的コンピュータ可読媒体。
【請求項8】
前記言語システムは、前記適切な音声録音を含む変更された又は組み合わされたユーザ録音を含むように音声出力に対する前記特定のパラメータに対して適合させるために前記ユーザ録音を変更する及び組み合わせることのうちの少なくとも一方を行う、請求項6に記載の非一時的コンピュータ可読媒体。
【請求項9】
運動デバイスに結合された音声デバイスを含む言語システムであって、
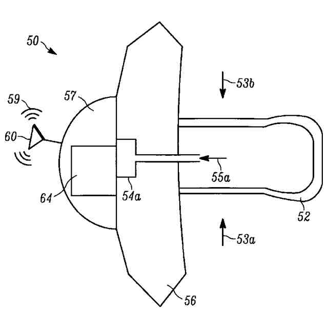
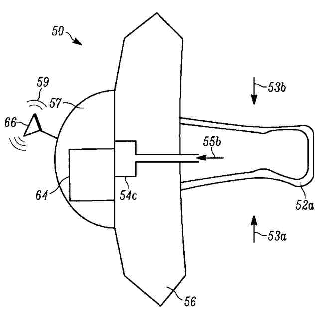
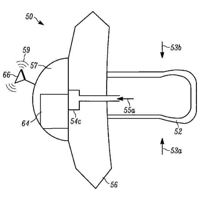
前記運動デバイスが、センサを収容するおしゃぶり部分を含み、このセンサが、前記おしゃぶり部分が年齢相応の予め決められた閾値を超える第1の測定圧力を超える圧力まで圧縮された時に出力信号を生成し、
前記音声デバイスが、前記運動デバイスと、マイクロフォンと、スピーカと、インタフェースとに電子通信しているマイクロコンピュータを含み、このマイクロコンピュータが、言語システムを含み、言語システムが、前記インタフェースを通じて受信したユーザ入力に応答して、前記運動デバイスのセンサ閾値及びセンサ読取値を割り当て、音声出力の持続時間を割り当て、かつ音声出力に対する特定のパラメータを識別し、前記言語システムが、年齢相応の予め決められた閾値を超えたことを示す前記運動デバイスからの前記出力信号に基づいて、音声出力の割り当てられた持続時間にわたって音声出力に対する該特定のパラメータに適合する適切な音声録音を放出する命令を該音声デバイスに送る、
ことを含むことを特徴とする言語システム。
【請求項10】
音声出力に対する前記特定のパラメータは、年齢依存の音量、毎日及び毎週の年齢依存の間隔数、及び年齢相応コンテンツのうちの少なくとも1つを含む、請求項9に記載の言語システム。
(【請求項11】以降は省略されています)
発明の詳細な説明
【技術分野】
【0001】
〔関連出願への相互参照〕
本出願は、2017年10月9日出願の「乳児起動式音声再生機の利用」という名称の米国仮特許出願第62/569,088号に対する「35 U.S.C.§119(e)」の下での優先権を主張する国際公開番号WO/2019/XXX、XXXの下で2019年XXX、XXに公開された「乳児起動式音声再生機の利用」という名称の2018年10月8日出願の国際PCT出願番号PCT/US08/XXX、XXXに対する「35 U.S.C.§371」の下での優先権を主張するものである。優先権は、全ての上記で特定した出願及び公報に関して主張するものであり、それらの全ては、全ての目的に対してそれらの全体が引用によって本明細書に組み込まれている。
続きを表示(約 2,900 文字)
【0002】
本発明の開示は、一般的に音声デバイス及びセンサ組合せに関連し、より具体的には、口腔-運動反応を使用して乳児、早産児、及び/又は未熟児の語音区別を刺激かつ改善するのに使用されるシステムの有無に関わらず新生児医療に使用するための音声デバイス及びセンサ組合せに関する。
【背景技術】
【0003】
早産児及び未熟児、及び/又は神経損傷を煩って生まれた乳児は入院(例えば、生存に必要な入院)がもたらす遅れ及び/又は障害を有することは研究が示している。音声対話、特に親との音声対話の欠如は、発達遅れ及び/又は障害の主要な因子である。そのような音声対話を欠く乳児は、劣性語音区別を有する傾向がある。乳児と早産児の両方に語音区別が生じる時間的窓が存在する。その時間的窓中に、音の区別は、満期産児と比較して早産児では衰退する。早産児での音の区別の衰退は、2歳での劣性言語転帰を予測する。
【先行技術文献】
【非特許文献】
【0004】
Kovacs、A.M.及びJ.Mehler著「7ヶ月齢のバイリンガル乳児の認知機能の増加」、国立科学アカデミー論文集、106巻、16,2009号、6556~6560頁、米国内務省、10.1073/米国アカデミー紀要0811323106
Kovacs、A.M.及びJ.Mehler著「生後7ヶ月のバイリンガル乳児の認知機能の増加」、国立科学アカデミー論文集、106巻、16,2009号、6556~6560頁、米国内務省10.1073/米国アカデミー紀要0811323106
Kalashnikova、Marina他著「乳児向け発話は7ヶ月齢の乳児の発話の皮質追跡を容易にする」、科学論文集、8巻、1,2018号、米国内務省:10.1038/s41598-018-32150-6
【発明の概要】
【発明が解決しようとする課題】
【0005】
一般的に、早産児及び未熟児は、小さい隔離ベッド又はベビーベッドに収容される。早産児及び未熟児は、約45分にわたって毎日2回から3回皮膚と皮膚を接して抱かれる。これらの早産児及び未熟児は、親との対話、すなわち、親が与える通常の刺激及びそのような対話がもたらす利益を多くの場合に欠いている。
【課題を解決するための手段】
【0006】
本発明の開示の一態様は、口腔-運動デバイスを利用して音声デバイスを起動する方法を含み、本方法は、センサと押下可能部分とを含む口腔-運動デバイスを与える段階と、押下可能部分が圧縮されて押下可能部分に印加された年齢相応の予め決められた閾値を超える第1の測定圧力を生じる時に出力信号を生成する段階と、出力信号に応答して、音声デバイス上で予め決められた持続時間にわたって年齢相応の音声録音を再生する段階と、押下可能部分に対する第1の測定圧力と年齢相応の予め決められた閾値との間の差に比例して高くした閾値まで年齢相応の予め決められた閾値を高める段階とを含む。
【0007】
本発明の開示の別の態様は、口腔-運動デバイスを利用して音声デバイスを起動するための機械実行可能命令を格納する非一時的コンピュータ可読媒体を含む。機械実行可能命令を格納する非一時的コンピュータ可読媒体は、音声デバイスと電子通信する言語システムと、センサを含む感知デバイスと、インタフェースとを含み、インタフェースは、ユーザデータを受信するように構成され、感知デバイスは、言語システムに信号を送信するように構成され、言語システムは、感知デバイスセンサ使用量に対する第1の推奨又は第2の推奨のうちの少なくとも一方と、感知デバイスのセンサ閾値及びセンサ読取値と、音声出力の持続時間とを提供し、かつ音声出力に関する特定のパラメータを識別する。言語システムは、センサ閾値が超えたことを示す感知デバイスからの信号に基づいて、音声出力の割り当てられた持続時間にわたって音声出力に対する特定のパラメータに適合する適切な音声録音を放出する命令を音声デバイスに送信する。
【0008】
本発明の開示の更に別の態様は、口腔-運動デバイスに結合された音声デバイスを含む言語システムを含む。システムは、センサを収容するおしゃぶりを含む口腔-運動デバイスを含み、センサは、このおしゃぶり部分が年齢相応の予め決められた閾値を超える第1の測定圧力を超える圧力まで圧縮された時に出力信号を生成する。音声デバイスは、口腔-運動デバイスと電子通信するマイクロコンピュータと、マイクロフォンと、スピーカと、インタフェースとを含み、マイクロコンピュータは、言語アルゴリズムを含み、言語システムは、インタフェースを通じて受信したユーザ入力に応答し、口腔-運動デバイスのセンサ閾値及びセンサ読取値を割り当て、音声出力の持続時間を割り当て、かつ音声出力の特定のパラメータを識別し、言語システムは、年齢相応の予め決められた閾値を超えたことを示す口腔-運動デバイスからの出力信号に基づいて、音声出力の割り当てられた持続時間にわたって音声出力に対する特定のパラメータに適合する適切な音声録音を放出する命令を音声デバイスに送信する。
【0009】
本発明の開示の上述の及び他の特徴及び利点は、別段の説明がない限り同じ参照番号が図面を通して同じ部分を指す添付図面を参照して本発明の開示の以下の説明を考慮すると本発明の開示が関連する当業者に明らかになるであろう。
【図面の簡単な説明】
【0010】
本発明の開示の一例示的実施形態による口腔-運動デバイス及び音声デバイスの斜視図である。
本発明の開示の一例示的実施形態により図1の断面線2-2に沿って取った図1の口腔-運動デバイスを示す図である。
本発明の開示の第2の例示的実施形態により図1の断面線2-2に沿って取った図1の口腔-運動デバイスを示す図である。
本発明の開示の第3の例示的実施形態により図1の断面線2-2に沿って取った図1の口腔-運動デバイスを示す図である。
本発明の開示の第4の例示的実施形態により図1の断面線2-2に沿って取った図1の口腔-運動デバイスを示す図である。
本発明の開示の一例示的実施形態により音声デバイスに収容された電気要素の電気回路図である。
本発明の開示の第1の例示的実施形態により音声デバイスを利用する方法の流れ図である。
本発明の開示の第2の例示的実施形態により音声デバイスを利用する方法の流れ図である。
本発明の開示の第3の例示的実施形態により音声デバイスを利用する方法の流れ図である。
本発明の開示の別の例示的実施形態により音声デバイスに使用されるシステムを利用するための流れ図である。
(【0011】以降は省略されています)
この特許をJ-PlatPat(特許庁公式サイト)で参照する
関連特許
他の特許を見る