TOP
|
特許
|
意匠
|
商標
特許ウォッチ
Twitter
他の特許を見る
公開番号
2025170395
公報種別
公開特許公報(A)
公開日
2025-11-18
出願番号
2025145017,2024107105
出願日
2025-09-02,2019-07-02
発明の名称
没入的オーディオ信号をエンコードおよび/またはデコードするための方法および装置
出願人
ドルビー ラボラトリーズ ライセンシング コーポレイション
,
ドルビー・インターナショナル・アーベー
代理人
弁理士法人ITOH
主分類
G10L
19/16 20130101AFI20251111BHJP(楽器;音響)
要約
【課題】没入的オーディオ信号をデコードするための方法及び装置を提供する。
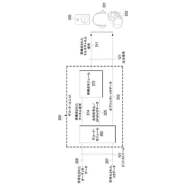
【解決手段】デコード・ユニットは、没入的オーディオ信号をデコードするための装置であって、符号化されたオーディオ・データから複数の再構成されたチャネル信号を導出し、符号化されたメタデータから、合同符号化空間オーディオ分解能再構成(SPAR)メタデータを導出し、かつ、オブジェクト・メタデータを導出するデコード・モジュールと、合同符号化SPARメタデータ及び複数の再構成されたチャネル信号から、再構成されたマルチチャネル信号を導出する再構成モジュールと、を有する。
【選択図】図3
特許請求の範囲
【請求項1】
複数の再構成されたチャネル信号を示す符号化されたオーディオ・データおよび合同符号化メタデータを示す符号化されたメタデータから、再構成されたマルチチャネル信号を決定する方法であって、当該方法は、
前記符号化されたオーディオ・データをデコードして、K≧1としてK次アンビソニックス信号を形成する前記複数の再構成されたチャネル信号を提供し、前記符号化されたメタデータをデコードして前記合同符号化メタデータを提供し;
前記合同符号化メタデータに基づいて、前記複数の再構成されたチャネル信号を、増加した数の第1のアップミックス・チャネル信号にアップミックスすることであって、前記第1のアップミックス・チャネル信号はL>KとしてL次アンビソニックス信号を含む、ことを実行し;
前記K次アンビソニックス信号の選択されたチャネルに脱相関を適用して、第1および第2の脱相関信号を生成し;
前記合同符号化メタデータに基づいて、前記第1および第2の脱相関信号を、増加した数の第2のアップミックス・チャネル信号にアップミックスし;
前記L次アンビソニックス信号および前記第2のアップミックス・チャネル信号の対応するチャネルを加算することによって前記再構成されたマルチチャネル信号を決定することを含む、
方法。
発明の詳細な説明
【技術分野】
【0001】
関連出願への相互参照
本願は、2018年7月2日に出願された米国仮特許出願第62/693,246号への優先権の利益を主張する。同出願の内容はここに参照によって組み込まれる。
続きを表示(約 2,500 文字)
【0002】
技術分野
本稿は、音場表現信号、特にアンビソニックス信号を含みうる没入的オーディオ信号に関する。特に、本稿は、没入的オーディオ信号がビットレート効率のよい仕方でおよび/または高い知覚的品質で伝送および/または格納できるようにするエンコーダおよび対応するデコーダを提供することに関する。
【背景技術】
【0003】
聴取位置に置かれた聴取者の聴取環境内の音または音場は、アンビソニックス信号を使用して記述されうる。アンビソニックス信号は、マルチチャネル・オーディオ信号として見ることができる。ここで、各チャネルが聴取者の聴取位置における音場の特定の指向性パターンに対応する。アンビソニックス信号は、3次元(3D)デカルト座標系を用いて記述されてもよく、座標系の原点が聴取位置に対応し、x軸は前方を指し、y軸は左を指し、z軸は、上方を指す。
【0004】
オーディオ信号またはチャネルの数を増やし、対応する指向性パターン(および対応するパン関数)の数を増やすことによって、音場の記述精度を高めることができる。例として、一次アンビソニックス信号は、4つのチャネルまたは波形、すなわち、音場の全方向成分を示すWチャネル、x軸に対応する双極子指向性パターンをもつ音場を記述するXチャネル、y軸に対応する双極子指向性パターンをもつ音場を記述するYチャネル、およびz軸に対応する双極子指向性パターンをもつ音場を記述するZチャネルを含む。二次アンビソニックス信号は、一次アンビソニックス信号の4チャネル(Bフォーマットとも呼ばれる)と、異なる指向性パターンのための5つの追加チャネルを含む9チャネルを有する。一般に、L次アンビソニックス信号は、(L-1)次アンビソニックス信号のL
2
個のチャネルと、追加の指向性パターンのための[(L+1)
2
-L
2
]個の追加チャネルとを含む(L+1)
2
個のチャネルを有する(3Dアンビソニック・フォーマットを使用する場合)。L>1についてのL次アンビソニックス信号は、高次アンビソニック(HOA)信号と呼ばれることがある。
【0005】
HOA信号は、HOA信号をレンダリングするために使用されるスピーカーの配置から独立して3D音場を記述するために使用されうる。スピーカーの配置例は、ヘッドフォン、またはラウドスピーカーの一つまたは複数の配置、または仮想現実レンダリング環境を含む。よって、オーディオ・レンダリングがスピーカーの異なる配置に柔軟に適応できるようにするために、オーディオ・レンダラーにHOA信号を提供することが有益でありうる。
【発明の概要】
【発明が解決しようとする課題】
【0006】
アンビソニックス信号のような音場表現(soundfield representation、SR)信号は、没入的オーディオ(immersive audio、IA)信号を提供するために、オーディオ・オブジェクトおよび/またはマルチチャネル(ベッド)信号で補完されてもよい。本稿は、帯域幅効率のよい仕方で、高い知覚的品質をもってIA信号を送信および/または記憶する技術的問題に対処する。かかる技術的問題は、独立請求項によって解決される。好ましい例は、従属請求項に記載されている。
【課題を解決するための手段】
【0007】
ある側面によれば、マルチチャネル入力信号をエンコードする方法が記述される。マルチチャネル入力信号は、没入的オーディオ(IA)信号の一部であってもよい。マルチチャネル入力信号は、音場表現(SR)信号、特に一次またはより高次のアンビソニックス信号を含んでいてもよい。本方法は、マルチチャネル入力信号から複数のダウンミックス・チャネル信号を決定することを含む。さらに、本方法は、複数のダウンミックス・チャネル信号のエネルギー・コンパクト化を実行して、複数のコンパクト化されたチャネル信号を提供することを含む。さらに、本方法は、前記複数のコンパクト化されたチャネル信号に基づいて、かつ、前記マルチチャネル入力信号に基づいて、合同符号化メタデータ(特に、空間オーディオ分解能再構成(SPAR)メタデータ)を決定することを含み、前記合同符号化メタデータは、前記複数のコンパクト化されたチャネル信号を前記マルチチャネル入力信号の近似にアップミックスすることを許容するようなものである。本方法は、前記複数のコンパクト化されたチャネル信号および前記合同符号化メタデータをエンコードすることをさらに含む。
【0008】
あるさらなる側面によれば、複数の再構成されたチャネル信号を示す符号化されたオーディオ・データから、および合同符号化メタデータを示す符号化されたメタデータから、再構成されたマルチチャネル信号を決定する方法が記載される。本方法は、前記符号化されたオーディオ・データをデコードして前記複数の再構成されたチャネル信号を提供し、前記符号化されたメタデータをデコードして前記合同符号化メタデータを提供することを含む。さらに、本方法は、前記複数の再構成されたチャネル信号から、前記合同符号化メタデータを用いて、前記再構成されたマルチチャネル信号を決定することを含む。
【0009】
さらなる側面によれば、ソフトウェア・プログラムが記載される。ソフトウェア・プログラムは、プロセッサ上での実行のために、また、プロセッサ上で実行されたときに、本稿で概説される方法段階を実行するように適応されてもよい。
【0010】
別の側面によれば、記憶媒体が記載される。記憶媒体は、プロセッサ上での実行のために、また、プロセッサ上で実行されたときに、本稿で概説される方法段階を実行するように適応されたソフトウェア・プログラムを含んでいてもよい。
(【0011】以降は省略されています)
この特許をJ-PlatPat(特許庁公式サイト)で参照する
関連特許
個人
遮音材
14日前
個人
歌唱補助器具
23日前
個人
管楽器用リガチャ-
1か月前
横浜ゴム株式会社
音響材
7日前
個人
音声出力装置
14日前
大和ハウス工業株式会社
音低減設備
24日前
DIC株式会社
吸音材及び吸音部品
25日前
個人
管楽器用音質改善留め具
1日前
NOK株式会社
吸音構造体
16日前
矢崎総業株式会社
車両用対話システム
15日前
株式会社SinasSP
自動騒音低減装置
1か月前
横浜ゴム株式会社
多層空洞音響材
14日前
株式会社第一興商
カラオケ装置
15日前
有限会社ツバサ
エレキギターおよび保護フィルム付きの樹脂プレート
1か月前
ヤマハ株式会社
音処理装置及び音処理方法
1日前
有限会社 宮脇工房
モーター挙動音発生装置
23日前
株式会社デンソー
制御装置、制御方法、及び制御プログラム
7日前
株式会社SUBARU
乗物用遮音構造体、及び車両
1か月前
株式会社第一興商
カラオケ装置、カラオケシステム
9日前
株式会社コルグ
楽音信号変換装置、楽音信号変換方法、プログラム
17日前
固昌通訊股ふん有限公司
音響調整装置
28日前
株式会社東芝
発話言語理解のためのシステムおよび方法
29日前
安克創新科技股フン有限公司
通話ノイズキャンセリング方法及びイヤホン
29日前
株式会社枚方技研
方向付き楽器固定具
15日前
株式会社デンソー
制御装置、ロボットシステム、制御方法、及び制御プログラム
22日前
日本放送協会
エンコーダー・デコーダー装置、推論装置、およびプログラム
28日前
パイオニア株式会社
音声出力装置
1か月前
エムケイ無線事業協同組合
音声応答システム、及びそれを利用した応答方法
24日前
パイオニア株式会社
効果音出力装置
24日前
ピクシーダストテクノロジーズ株式会社
遮音ユニット、遮音構造体、および区画設備
16日前
ヤマハ株式会社
音響信号処理装置、楽器、音響信号処理方法および音響信号処理プログラム
25日前
株式会社デンソーテン
情報処理装置、情報処理方法、および情報処理プログラム
1か月前
株式会社イービーエム
音声分析装置、音声分析システム、音声分析方法、及び音声分析プログラム
7日前
カシオ計算機株式会社
電子鍵盤楽器
16日前
株式会社トランストロン
アクティブノイズ制御装置、アクティブノイズ制御方法及びアクティブノイズ制御プログラム
22日前
ヤマハ株式会社
再生データ生成方法
1か月前
続きを見る
他の特許を見る