TOP
|
特許
|
意匠
|
商標
特許ウォッチ
Twitter
他の特許を見る
公開番号
2025166264
公報種別
公開特許公報(A)
公開日
2025-11-05
出願番号
2025140980,2024098555
出願日
2025-08-27,2022-03-24
発明の名称
電子鍵盤楽器
出願人
カシオ計算機株式会社
代理人
弁理士法人コスモ国際特許事務所
主分類
G10H
1/32 20060101AFI20251028BHJP(楽器;音響)
要約
【課題】スピーカと鍵盤とを接近させてケースを小型にしつつ音質も向上させた電子鍵盤楽器を提供する。
【解決手段】電子鍵盤楽器10は、電子鍵盤楽器10の演奏者側に設けられた鍵盤50と、第1放音孔部71を備える背面パネル212、当該背面パネル212に連設する上面パネル211、及び鍵盤50に対応した鍵盤配置部60を備えるケース200と、鍵盤配置部60に配置される鍵盤50と、第1放音孔部71に対応して配置される放音部であるスピーカ75と、上面パネル211と背面パネル212に亘って固定され、鍵盤50とスピーカ75との間に配置される防磁材料を含む防磁部材100と、を備える。
【選択図】図6
特許請求の範囲
【請求項1】
電子鍵盤楽器の演奏者側に設けられた鍵盤と、 第1放音孔部を備える背面パネル、当該背面パネルに連設する上面パネル、及び前記鍵盤に対応した鍵盤配置部を備えるケースと、
前記第1放音孔部に対応して配置される放音部と、
前記上面パネルと前記背面パネルに亘って固定され、前記鍵盤と前記放音部との間に配置される防磁材料を含む防磁部材と、
を備える電子鍵盤楽器。
続きを表示(約 380 文字)
【請求項2】
前記上面パネルは、演奏者側に放音される第2放音孔部を備え、
前記防磁部材は、前記第2放音孔部に対応する開口部を有する、請求項1に記載の電子鍵盤楽器。
【請求項3】
前記第2放音孔部は、前記鍵盤側に放音される、請求項2に記載の電子鍵盤楽器。
【請求項4】
前記開口部は、円弧状に設けられる請求項2又は請求項3に記載の電子鍵盤楽器。
【請求項5】
前記防磁部材は、左右方向に開放部が設けられる、請求項1乃至請求項4の何れかに記載の電子鍵盤楽器。
【請求項6】
前記鍵盤は、ハンマー部材を備える、請求項1乃至請求項5の何れかに記載の電子鍵盤楽器。
【請求項7】
前記防磁部材は、下側に非開放部が設けられる、請求項1乃至請求項6の何れかに記載の電子鍵盤楽器。
発明の詳細な説明
【技術分野】
【0001】
本発明は、電子鍵盤楽器に関する。
続きを表示(約 1,700 文字)
【背景技術】
【0002】
従来から、ハンマー部材やカウンタウェイトを備えることで、本物のピアノに近い打鍵感覚を得ることができる電子鍵盤楽器が提供されている。このハンマー部材等は、鉄系の材料で形成されることがある。すると、スピーカに設けられる磁石の磁力がハンマー部材等の動作に影響し、打鍵感覚に影響することがある。特許文献1には、ケースの上面パネルに設けられたスピーカと、鍵盤の白鍵や黒鍵に対応して配置されるハンマー部材との間に、防磁シートが設けられた電子鍵盤楽器が開示されている。この防磁シートにより、スピーカの磁石による磁力の影響を低減している。
【先行技術文献】
【特許文献】
【0003】
特開2007-3562号公報
【発明の概要】
【発明が解決しようとする課題】
【0004】
従来の電子鍵盤楽器では、スピーカと、鍵盤のハンマー部材を接近して設けることができるので、ケースを小型にすることができる。しかしながら、ケースを小型にすることで、スピーカによる振動がケース全体に影響し易くなり、ビビリ音等が生じて音質に悪影響が生じてしまうことが懸念される。
【0005】
本発明は、スピーカと鍵盤とを接近させてケースを小型にしつつ音質も向上させた電子鍵盤楽器を提供することを目的とする。
【課題を解決するための手段】
【0006】
本発明に係る電子鍵盤楽器は、電子鍵盤楽器の演奏者側に設けられた鍵盤と、第1放音孔部を備える背面パネル、当該背面パネルに連設する上面パネル、及び前記鍵盤に対応した鍵盤配置部を備えるケースと、前記第1放音孔部に対応して配置される放音部と、前記上面パネルと前記背面パネルに亘って固定され、前記鍵盤と前記放音部との間に配置される防磁材料を含む防磁部材と、を備える。
【発明の効果】
【0007】
本発明によれば、スピーカと鍵盤とを接近させてケースを小型にしつつ音質も向上させた電子鍵盤楽器を提供することができる。
【図面の簡単な説明】
【0008】
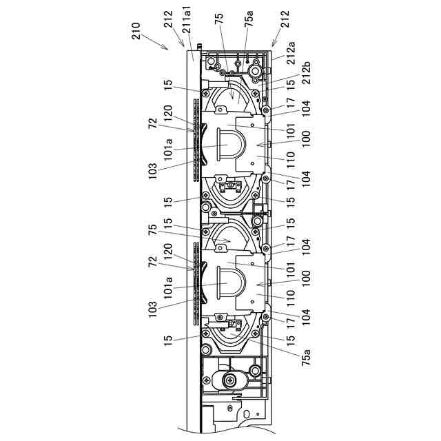
本発明の実施形態に係る電子鍵盤楽器を前側から見た斜視図である。
本発明の実施形態に係る電子鍵盤楽器を後側から見た斜視図である。
本発明の実施形態に係る電子鍵盤楽器の背面パネルを分解して示す、後側から見た斜視図である。
本発明の実施形態に係る電子鍵盤楽器の図1のIV-IV断面図である。
本発明の実施形態に係る電子鍵盤楽器の上側ケース部分を示す要部拡大正面図である。
本発明の実施形態に係る電子鍵盤楽器の上側ケース部分を示す要部拡大斜視図である。
【発明を実施するための形態】
【0009】
以下、本発明の実施形態を図に基づいて説明する。図1に示す電子鍵盤楽器10は、複数の鍵としての複数の白鍵30と複数の黒鍵40を備えるフルサイズ(88鍵)の鍵盤50と、ケース200とを備える。鍵盤50は、電子鍵盤楽器10の演奏者側(前面側)に設けられる。なお、以下の説明においては、鍵盤50の鍵の前後方向FBにおける前を前側F、鍵の前後方向FBの後を後側Bとし、鍵盤50に向かって左を左側L、右を右側Rとする。鍵盤50の鍵の配列方向は、左右方向LRである。また、電子鍵盤楽器10の上下方向ULにおいて上を上側Up、下を下側Loとする。
【0010】
図1及び図2に示すように、ケース200は、上側ケース210と、下側ケース220と、側面ケースとしての左側面ケース230及び右側面ケース240と、前側ケース250とを有する。上側ケース210は、上面パネル211と、背面パネル212とを有し、縦断面が略L字状(図4参照)とされ、左右方向LRに長尺状に形成されている。前後方向FBに長い略長矩形箱状の左側面ケース230及び右側面ケース240は、夫々、上側ケース210及び前側ケース250の左右の端部に設けられている。下側ケース220は、上側ケース210及び側面ケース(左側面ケース230、右側面ケース240)の下側Loに設けられている。
(【0011】以降は省略されています)
この特許をJ-PlatPat(特許庁公式サイト)で参照する
関連特許
カシオ計算機株式会社
光源装置及び投影装置
1か月前
カシオ計算機株式会社
プログラム及びデータ処理方法
16日前
カシオ計算機株式会社
イヤホンデバイス、電子システム
23日前
カシオ計算機株式会社
電子機器、入力制御方法、及びプログラム
1か月前
カシオ計算機株式会社
印刷装置、ラベル作成方法及びプログラム
1か月前
カシオ計算機株式会社
学習支援装置、学習支援方法及びプログラム
2日前
カシオ計算機株式会社
情報処理装置、情報処理方法、及びプログラム
26日前
カシオ計算機株式会社
ウェアラブル機器、装着判定方法及びプログラム
26日前
カシオ計算機株式会社
電子機器、報知方法、プログラム及び報知システム
2日前
カシオ計算機株式会社
時計
23日前
カシオ計算機株式会社
電子鍵盤楽器
25日前
カシオ計算機株式会社
売上データ処理システム、売上データ処理方法、及びプログラム
1か月前
カシオ計算機株式会社
バンド駒の製造方法
23日前
カシオ計算機株式会社
カバー付き電子機器
1か月前
カシオ計算機株式会社
電子楽器、方法およびプログラム
16日前
カシオ計算機株式会社
ロボット、制御方法及びプログラム
16日前
カシオ計算機株式会社
ロボット、制御方法及びプログラム
16日前
カシオ計算機株式会社
表示形式変更方法、電子機器及びプログラム
10日前
カシオ計算機株式会社
情報処理装置、情報制御方法、及び、プログラム
1か月前
カシオ計算機株式会社
プログラム、サーバ及びウェブアプリケーションの認証情報生成方法
4日前
個人
遮音材
23日前
個人
管楽器用リガチャ-
1か月前
個人
歌唱補助器具
1か月前
個人
音声出力装置
23日前
横浜ゴム株式会社
音響材
16日前
大和ハウス工業株式会社
音低減設備
1か月前
DIC株式会社
吸音材及び吸音部品
1か月前
個人
管楽器用音質改善留め具
10日前
NOK株式会社
吸音構造体
25日前
矢崎総業株式会社
車両用対話システム
24日前
株式会社SinasSP
自動騒音低減装置
1か月前
横浜ゴム株式会社
多層空洞音響材
23日前
株式会社第一興商
カラオケ装置
24日前
カシオ計算機株式会社
発音装置、発音方法及びプログラム
1か月前
トヨタ自動車株式会社
判定装置
1か月前
ヤマハ株式会社
鍵盤装置
3日前
続きを見る
他の特許を見る