TOP
|
特許
|
意匠
|
商標
特許ウォッチ
Twitter
他の特許を見る
10個以上の画像は省略されています。
公開番号
2025163482
公報種別
公開特許公報(A)
公開日
2025-10-29
出願番号
2024066776
出願日
2024-04-17
発明の名称
歌唱補助器具
出願人
個人
代理人
個人
主分類
G10K
11/22 20060101AFI20251022BHJP(楽器;音響)
要約
【課題】装着者の口から発せられて空気伝導音として耳へと伝達される声の大きさを調整することのできる歌唱補助器具を提供する。
【解決手段】装着者の口から発せられた声を空気伝導音として耳へと伝達する歌唱補助器具1は、装着者の口元から左右何れかの耳近傍に向かって頬の傍を前後方向に延在して設置され、声を装着者の耳へと空気伝導音として案内する音路11である凹部が内側に形成された頬傍音路形成部材10と、頬傍音路形成部材10を装着者の頭に装着するための装着部材30と、を備え、頬傍音路形成部材10は、音路11を通って耳へと伝達される空気伝導音の音量を機械的に調整するための音量調整部材20を備える。
【選択図】図1
特許請求の範囲
【請求項1】
装着者の口から発せられた声を空気伝導音として耳へと伝達する歌唱補助器具において、
前記装着者の口元から左右何れかの耳近傍に向かって頬の傍を前後方向に延在して設置され、前記声を装着者の耳へと空気伝導音として案内する音路である凹部が内側に形成された頬傍音路形成部材と、
前記頬傍音路形成部材を前記装着者の頭に装着するための装着部材と、を備え、
前記頬傍音路形成部材は、前記音路を通って耳へと伝達される前記空気伝導音の音量を機械的に調整するための音量調整部材を備えることを特徴とする歌唱補助器具。
続きを表示(約 450 文字)
【請求項2】
前記頬傍音路形成部材は、後端に耳近傍切欠穴が形成されており、
前記音量調整部材は、前記耳近傍切欠穴の開度を調整する部材であることを特徴とする請求項1記載の歌唱補助器具。
【請求項3】
前記音量調整部材は、前記耳近傍切欠穴を塞ぐようにスライド可能に設置されたスライド部材を備え、前記スライド部材により塞ぐ前記耳近傍切欠穴の面積を変えることで音量を調整することを特徴とする請求項2記載の歌唱補助器具。
【請求項4】
前記頬傍音路形成部材は、前記音路の少なくとも後側がトンネル構造のトンネル部となっていると共に、前記トンネル部の外側面に外側トンネル開口が形成されており、
前記音量調整部材は、前記外側トンネル開口の開度を調整する部材であることを特徴とする請求項1記載の歌唱補助器具。
【請求項5】
前記頬傍音路形成部材は、前記トンネル部の後端に装着者の耳に挿入される耳挿入筒を備えることを特徴とする請求項4記載の歌唱補助器具。
発明の詳細な説明
【技術分野】
【0001】
本発明は、歌を上手に歌えるように補助するための歌唱補助器具に関する。
続きを表示(約 1,700 文字)
【背景技術】
【0002】
従来から、自分の声を骨伝導音ではなく、空気伝導音として装着者に客観的に聞かせるためのマスク等の音響器具が提供されており、例えば、下記特許文献に開示されている。
【0003】
このような音響器具の装着者は、他人が聞くのと同じように客観的に自分の声をリアルタイムで確認しながら歌を歌うことができるため、歌唱力を向上させることができる。
【先行技術文献】
【特許文献】
【0004】
特開2003-107988号公報
実開昭60-156599号公報
特開平9-258748号公報
【発明の概要】
【発明が解決しようとする課題】
【0005】
ここで、人の声の大きさや聴覚レベルは様々であるが、上述した音響器具は、装着者の耳へと伝達する空気伝導音の大きさを調整出来ないため、聴覚に障害のある人は自分の声が聞こえなかったり、声を張ったときに骨伝導音が大きすぎて他の音が聞こえなくなったり、といった問題が生じる。
【0006】
本発明は、このような課題に鑑みてなされたものであり、装着者の口から発せられて空気伝導音として耳へと伝達される声の大きさを調整することのできる歌唱補助器具を提供することを目的とする。
【課題を解決するための手段】
【0007】
上記課題を解決するための本発明に係る歌唱補助器具は、装着者の口から発せられた声を空気伝導音として耳へと伝達する歌唱補助器具において、前記装着者の口元から左右何れかの耳近傍に向かって頬の傍を前後方向に延在して設置され、前記声を装着者の耳へと空気伝導音として案内する音路である凹部が内側に形成された頬傍音路形成部材と、前記頬傍音路形成部材を前記装着者の頭に装着するための装着部材と、を備え、前記頬傍音路形成部材は、前記音路を通って耳へと伝達される前記空気伝導音の音量を機械的に調整するための音量調整部材を備えることを特徴とする。
【発明の効果】
【0008】
本発明に係る歌唱補助器具によれば、音量調整部材により空気伝導音として耳へと伝達される声の大きさを機械的に調整することができ、装着者は効果的に歌唱力を向上させることができる。
【図面の簡単な説明】
【0009】
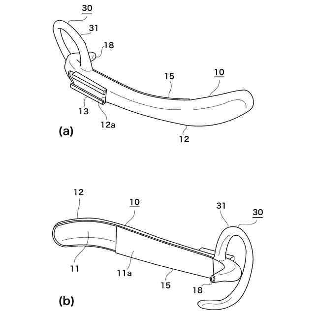
図1は、本発明の第一実施形態に係る歌唱補助器具の構成及び装着状態を示す外側から見た斜視図である。
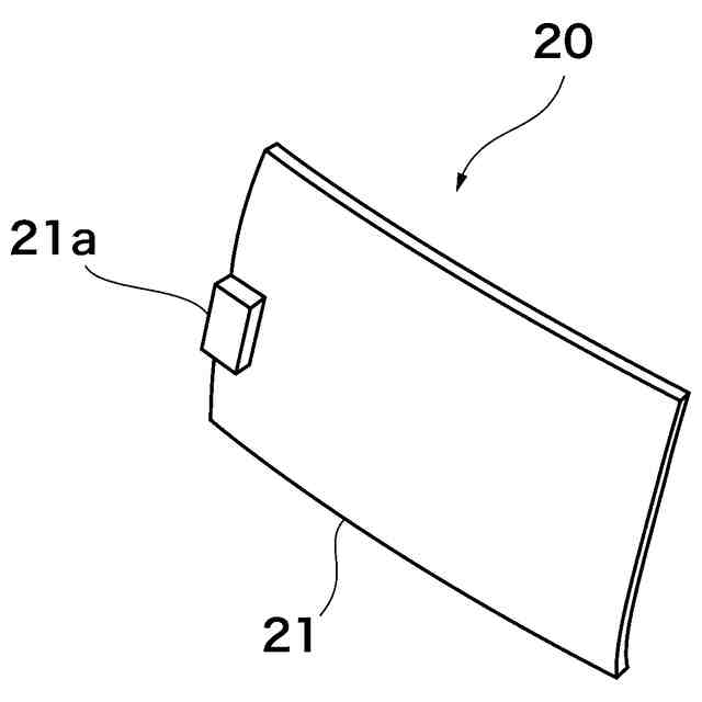
図2は、本発明の第一実施形態に係る頬傍音路形成部材及び装着部材の斜視図である。
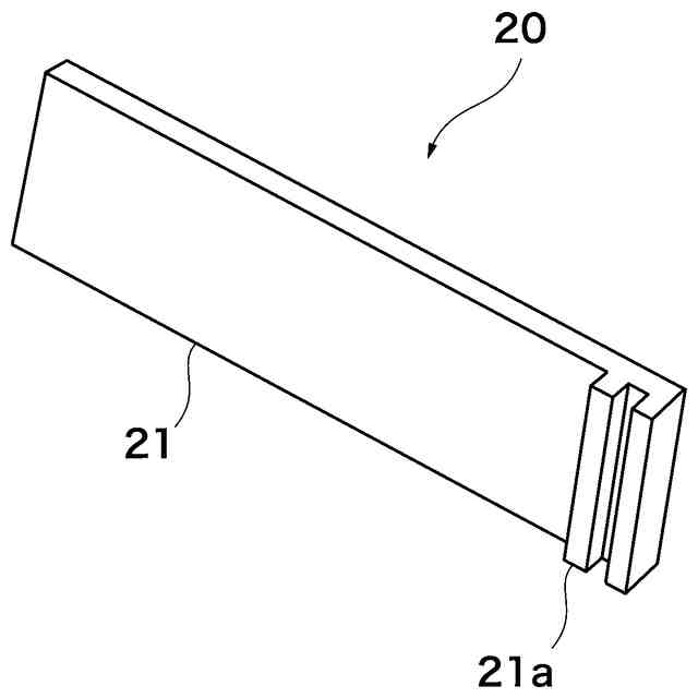
図3は、本発明の第一実施形態に係る音量調整部材のスライドプレートの斜視図である。
図4は、本発明の第一実施形態に係る歌唱補助器具の装着状態を示す外側の側方から見た図である。
図5は、本発明の第二実施形態に係る歌唱補助器具の構成及び装着状態を示す外側から見た斜視図である。
図6は、本発明の第二実施形態に係る頬傍音路形成部材及び装着部材の斜視図である。
図7は、本発明の第二実施形態に係る音量調整部材のスライドプレートの斜視図である。
図8は、本発明の第二実施形態に係る歌唱補助器具の装着状態を示す外側の側方から見た図である。
図9は、本発明の第二実施形態の変形例1に係る歌唱補助器具の構成及び装着状態を示す外側から見た斜視図である。
図10は、本発明の第二実施形態の変形例1に係る頬傍音路形成部材及び装着部材の斜視図である。
図11は、本発明の第二実施形態の変形例2に係る頬傍音路形成部材及び装着部材の斜視図である。
【発明を実施するための形態】
【0010】
(第一実施形態)
以下、本発明の第一実施形態について、図1~図4を参照しながら説明する。第一実施形態に係る歌唱補助器具1は、装着者の口から発せられる声を右側の頬の傍を通して耳へと案内する。
(【0011】以降は省略されています)
この特許をJ-PlatPat(特許庁公式サイト)で参照する
関連特許
個人
ギター
今日
個人
遮音材
28日前
個人
歌唱補助器具
1か月前
個人
音声出力装置
28日前
横浜ゴム株式会社
音響材
21日前
三井化学株式会社
防音構造体
1日前
三井化学株式会社
防音構造体
1日前
大和ハウス工業株式会社
音低減設備
1か月前
DIC株式会社
吸音材及び吸音部品
1か月前
個人
管楽器用音質改善留め具
15日前
NOK株式会社
吸音構造体
1か月前
横浜ゴム株式会社
多層空洞音響材
28日前
矢崎総業株式会社
車両用対話システム
29日前
株式会社デンソー
音低減装置
今日
株式会社第一興商
カラオケ装置
29日前
ヤマハ株式会社
鍵盤装置
8日前
三井化学株式会社
防音構造体および自動車の防音構造
1日前
ヤマハ株式会社
音処理装置及び音処理方法
15日前
有限会社 宮脇工房
モーター挙動音発生装置
1か月前
株式会社デンソー
制御装置、制御方法、及び制御プログラム
21日前
株式会社第一興商
カラオケ装置、カラオケシステム
23日前
株式会社第一興商
カラオケ装置、カラオケシステム
今日
株式会社第一興商
カラオケ装置、カラオケシステム
7日前
株式会社コルグ
楽音信号変換装置、楽音信号変換方法、プログラム
1か月前
トヨタ自動車株式会社
ブレーキインジケータシステム
今日
本田技研工業株式会社
音声認識装置、音声認識方法、及びプログラム
2日前
株式会社枚方技研
方向付き楽器固定具
29日前
株式会社デンソー
制御装置、ロボットシステム、制御方法、及び制御プログラム
1か月前
日本電気株式会社
伝達音抑制装置、伝達音抑制システム、伝達音抑制方法およびプログラム
今日
エムケイ無線事業協同組合
音声応答システム、及びそれを利用した応答方法
1か月前
パイオニア株式会社
効果音出力装置
1か月前
ピクシーダストテクノロジーズ株式会社
遮音ユニット、遮音構造体、および区画設備
1か月前
パナソニックIPマネジメント株式会社
ノイズキャンセルシステムおよびノイズキャンセル方法
今日
株式会社イービーエム
音声分析装置、音声分析システム、音声分析方法、及び音声分析プログラム
21日前
カシオ計算機株式会社
電子鍵盤楽器
1か月前
パナソニックIPマネジメント株式会社
ノイズキャンセル装置、ノイズキャンセル方法および照明装置
今日
続きを見る
他の特許を見る