TOP
|
特許
|
意匠
|
商標
特許ウォッチ
Twitter
他の特許を見る
10個以上の画像は省略されています。
公開番号
2025159633
公報種別
公開特許公報(A)
公開日
2025-10-21
出願番号
2024062357
出願日
2024-04-08
発明の名称
情報処理装置、情報処理方法、および情報処理プログラム
出願人
株式会社デンソーテン
代理人
弁理士法人酒井国際特許事務所
主分類
G10K
11/175 20060101AFI20251014BHJP(楽器;音響)
要約
【課題】情報を通知するための振動による音楽および映像の臨場感の低下を抑制できる情報処理装置、情報処理方法、および情報処理プログラムを提供する。
【解決手段】実施形態に係る情報処理装置は、コンテンツに基づく音響音と、臨場感振動とを出力する情報処理装置である。情報処理装置は、振動による情報の通知を検出する。情報処理装置は、振動による情報の通知時に、コンテンツの音響音における特定周波数帯域の音量レベルを増大させる。
【選択図】図1
特許請求の範囲
【請求項1】
コンテンツに基づく音響音と、臨場感振動とを出力する情報処理装置であって、
振動による情報の通知を検出し、
振動による情報の通知時に、コンテンツの音響音における特定周波数帯域の音量レベルを増大させる
情報処理装置。
続きを表示(約 1,000 文字)
【請求項2】
振動による情報の通知時に、前記臨場感振動の低減を行う、
請求項1に記載の情報処理装置。
【請求項3】
振動による情報の通知前に、前記臨場感振動のフェードアウトを行い、
振動による情報の通知後に、前記臨場感振動のフェードインを行う、
請求項1または請求項2に記載の情報処理装置。
【請求項4】
振動による情報の通知前に、前記音響音のフェードアウトを行い、
振動による情報の通知後に、前記音響音のフェードインを行う、
請求項1または請求項2に記載の情報処理装置。
【請求項5】
振動による情報の通知前に、前記音響音のフェードアウトを行い、
振動による情報の通知後に、前記音響音のフェードインを行う、
請求項3に記載の情報処理装置。
【請求項6】
前記臨場感振動は、前記音響音の低域周波数成分により生成される
請求項1に記載の情報処理装置。
【請求項7】
前記特定周波数帯域は、
50Hzから150Hzまでの周波数帯域である
請求項1に記載の情報処理装置。
【請求項8】
コンテンツに基づく音響音と、臨場感振動とを出力する情報処理方法であって、
振動による情報の通知を検出し、
振動による情報の通知時に、コンテンツの音響音における特定周波数帯域の音量レベルを増大させる
コンピュータが実行する情報処理方法。
【請求項9】
コンテンツに基づく音響音と、臨場感振動とを出力する情報処理プログラムであって、
振動による情報の通知を検出する処理と、
振動による情報の通知時に、コンテンツの音響音における特定周波数帯域の音量レベルを増大させる処理とを
コンピュータに実行させる情報処理プログラム。
【請求項10】
コンテンツに基づく音響音と臨場感振動とを出力するとともに、通知振動による情報通知を行う情報処理装置であって、
前記通知振動による情報の通知を検出し、
前記通知振動による情報の通知時に、コンテンツの音響音における特定周波数帯域の音量レベルを増大させる
情報処理装置。
(【請求項11】以降は省略されています)
発明の詳細な説明
【技術分野】
【0001】
開示の実施形態は、情報処理装置、情報処理方法、および情報処理プログラムに関する。
続きを表示(約 1,500 文字)
【背景技術】
【0002】
自動車等において、振動により情報をユーザ(運転者)に通知するシステムがある。また、音楽および映像の臨場感を高めるため、音楽および映像に同調した振動をユーザに印加するAV(Audio Visual)システムがある(例えば、特許文献1参照)。
【0003】
このようなシステムでは、一般的に情報の通知が優先されるため、音楽および映像の再生中に情報の通知が必要になると、音楽および映像に同調した振動を停止させる、または、音楽および映像に同調した振動と情報を通知するための振動とを混合させる。
【先行技術文献】
【特許文献】
【0004】
特開2020-003933号公報
【発明の概要】
【発明が解決しようとする課題】
【0005】
しかしながら、従来のシステムでは、音楽および映像の再生中に情報を通知するための振動が発生すると、音楽および映像に同調した振動の停止、または、音楽および映像に同調した振動と情報通知のための振動との混合により音楽および映像の臨場感が低下する。
【0006】
実施形態の一態様は、上記に鑑みてなされたものであって、情報を通知するための振動による音楽および映像の臨場感の低下を抑制できる情報処理装置、情報処理方法、および情報処理プログラムを提供することを目的とする。
【課題を解決するための手段】
【0007】
実施形態の一態様に係る情報処理装置は、コンテンツに基づく音響音と、臨場感振動とを出力する情報処理装置である。前記情報処理装置は、振動による情報の通知を検出する。前記情報処理装置は、振動による情報の通知時に、コンテンツの音響音における特定周波数帯域の音量レベルを増大させる。
【発明の効果】
【0008】
実施形態に係る情報処理装置、情報処理方法、および情報処理プログラムは、振動による情報の通知時に、コンテンツの音響音における特定周波数帯域の音量レベルを増大させるので、情報の通知の振動による臨場感の低下を抑制できる。
【図面の簡単な説明】
【0009】
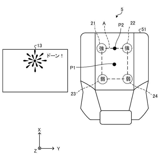
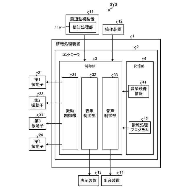
図1は、実施形態に係る情報処理装置の構成例を示す説明図である。
図2は、実施形態に係る第1~第4振動子の設置位置を示す説明図である。
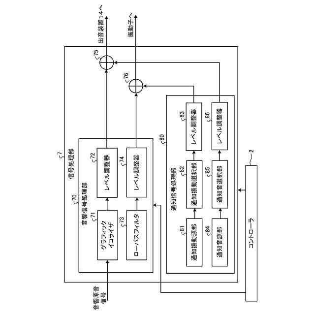
図3は信号処理部の構成を示す構成図である。
図4は、振動によって自車両に対する対象物の方向を通知する方法の説明図である。
図5は、振動によって自車両に対する対象物の方向を通知する方法の説明図である。
図6は、振動によって自車両に対する対象物の方向を通知する方法の説明図である。
図7は、振動によって映像コンテンツを演出する方法の説明図である。
図8は、実施形態に係る振動のフェードインおよびフェードアウトの説明図である。
図9は、実施形態に係るコントローラが実行する処理の一例を示すフローチャートである。
【発明を実施するための形態】
【0010】
以下、添付図面を参照して、情報処理装置、情報処理方法、および情報処理プログラムの実施形態を詳細に説明する。なお、以下に示す実施形態によりこの発明が限定されるものではない。実施形態に係る情報処理装置は、車両に搭載され、音楽および映像を再生するとともに、自車両の周囲にユーザ(運転者)が注意すべき対象物(以下、単に「対象物」と記載する)が検知された場合には、その旨を振動によって通知する機能を備える。対象物は、例えば、自車両に接近する他車両および歩行者などである。
(【0011】以降は省略されています)
この特許をJ-PlatPat(特許庁公式サイト)で参照する
関連特許
株式会社デンソーテン
車載表示装置
12日前
株式会社デンソーテン
アンテナアンプ及びアンテナ装置
7日前
株式会社デンソーテン
電源制御装置および電源制御プログラム
5日前
株式会社デンソーテン
車両制御装置、車両制御方法および車両
20日前
株式会社デンソーテン
通信装置、通信方法、及び通信プログラム
5日前
株式会社デンソーテン
受信機、受信システム、受信方法およびプログラム
5日前
株式会社デンソーテン
車載器、車載器の取り付け機構、および車載器の取り付け方法
20日前
株式会社デンソーテン
情報通知装置、情報通知プログラム、情報通知方法、および情報通知システム
5日前
個人
遮音材
12日前
個人
木管楽器
1か月前
個人
管楽器用リガチャ-
29日前
個人
歌唱補助器具
21日前
横浜ゴム株式会社
音響材
5日前
個人
音声出力装置
12日前
大和ハウス工業株式会社
音低減設備
22日前
DIC株式会社
吸音材及び吸音部品
23日前
NOK株式会社
吸音構造体
14日前
横浜ゴム株式会社
多層空洞音響材
12日前
矢崎総業株式会社
車両用対話システム
13日前
株式会社SinasSP
自動騒音低減装置
1か月前
株式会社第一興商
カラオケ装置
13日前
トヨタ自動車株式会社
判定装置
1か月前
日本軽金属株式会社
遮音壁
1か月前
株式会社第一興商
カラオケ装置
1か月前
カシオ計算機株式会社
発音装置、発音方法及びプログラム
1か月前
シャープ株式会社
電子機器および電子機器の制御方法
1か月前
ブラザー工業株式会社
カラオケ装置及びカラオケプログラム
1か月前
ブラザー工業株式会社
音声録音装置、及び、音声録音用プログラム
1か月前
株式会社JVCケンウッド
収音装置、収音方法、およびプログラム
1か月前
大建工業株式会社
吸音体及び音環境調整構造
1か月前
ブラザー工業株式会社
カラオケ用プログラム、及び、カラオケ装置
1か月前
有限会社ツバサ
エレキギターおよび保護フィルム付きの樹脂プレート
1か月前
有限会社 宮脇工房
モーター挙動音発生装置
21日前
株式会社河合楽器製作所
鍵盤楽器の鍵盤装置
1か月前
株式会社河合楽器製作所
鍵盤楽器の鍵盤装置
1か月前
株式会社NTTドコモ
情報処理装置及び情報処理方法
1か月前
続きを見る
他の特許を見る