TOP
|
特許
|
意匠
|
商標
特許ウォッチ
Twitter
他の特許を見る
10個以上の画像は省略されています。
公開番号
2025167035
公報種別
公開特許公報(A)
公開日
2025-11-07
出願番号
2024071303
出願日
2024-04-25
発明の名称
車載表示装置
出願人
株式会社デンソーテン
代理人
弁理士法人秀和特許事務所
主分類
H04N
5/74 20060101AFI20251030BHJP(電気通信技術)
要約
【課題】プロジェクタの設置スペースを省スペース化できる車載表示装置を提供する。
【解決手段】本車載表示装置は、車両のダッシュボードに設置され、上記車両の乗員席側に向けられて配置される表示部と、上記表示部と一体的に配置され、上記ダッシュボードの、上記表示部よりも上記車両の前方側に配置されるスクリーンに映像を投影するプロジェクタと、を備える。
【選択図】図2
特許請求の範囲
【請求項1】
車両のダッシュボードに設置され、前記車両の乗員席側に向けられて配置される表示部と、
前記表示部と一体的に配置され、前記ダッシュボードの、前記表示部よりも前記車両の前方側に配置されるスクリーンに映像を投影するプロジェクタと、を備える、
車載表示装置。
続きを表示(約 730 文字)
【請求項2】
前記ダッシュボードに対する相対的な角度が変更可能に、前記ダッシュボードに設置される、
請求項1に記載の車載表示装置。
【請求項3】
プロセッサと、
前記角度を検知するセンサと、をさらに備え、
前記プロジェクタは、投影方向が変更可能に設けられ、
前記プロセッサは、
前記センサによって検知された前記角度に応じて、前記映像が前記スクリーンに投影されるように、前記プロジェクタの前記投影方向を制御する、
請求項2に記載の車載表示装置。
【請求項4】
プロセッサと、
カメラと、をさらに備え、
前記プロセッサは、
前記カメラによって撮影された前記車両の乗員の動画データを基に前記乗員の状態を解析し、
解析した前記乗員の状態を示す情報を前記プロジェクタに投影させる、
請求項1から3のいずれか一項に記載の車載表示装置。
【請求項5】
前記背面において前記ダッシュボードの天面よりも高い位置には複数の前記プロジェクタが配置され、前記複数のプロジェクタのそれぞれが、前記スクリーンの、前記車両の幅方向に区切られた複数の領域それぞれに、前記映像を投影する、
請求項4に記載の車載表示装置。
【請求項6】
前記プロセッサは、前記プロジェクタに、
運転席に着座した乗員の状態を示す情報を、前記スクリーンの前記運転席の前方に位置する領域に投影させ、
助手席に着座した乗員の状態を示す情報を、前記スクリーンの前記助手席の前方に位置する領域に投影させる、
請求項5に記載の車載表示装置。
発明の詳細な説明
【技術分野】
【0001】
本発明は、車載表示装置に関する。
続きを表示(約 1,800 文字)
【背景技術】
【0002】
車両の天井にプロジェクタを配置し、当該プロジェクタから運転席の前方に配置されたスクリーンに映像を投影する技術が提案されている(特許文献1参照)。
【先行技術文献】
【特許文献】
【0003】
特開2006-011237号公報
【発明の概要】
【発明が解決しようとする課題】
【0004】
プロジェクタを天井に配置する場合、車両の乗員の頭部等がプロジェクタの投影方向に入らないようにするため、投影方向が限定される。また、ダッシュボードの内部にプロジェクタを配置することで、プロジェクタの投影方向に乗員の頭部等が入り込むことは抑制できる。その一方で、プロジェクタによる投影を可能とするためにはダッシュボードの奥行きをある程度確保することになる。そのため、軽自動車及びミニバン等によって例示されるノーズの短い車両では、プロジェクタを設置するスペースの確保が困難となる。
【0005】
開示の技術の1つの側面は、プロジェクタの設置スペースを省スペース化できる車載表示装置を提供することを目的とする。
【課題を解決するための手段】
【0006】
開示の技術の1つの側面は、次のような車載表示装置によって例示される。本車載表示装置は、車両のダッシュボードに設置され、上記車両の乗員席側に向けられて配置される表示部と、上記表示部と一体的に配置され、上記ダッシュボードの、上記表示部よりも上記車両の前方側に配置されるスクリーンに映像を投影するプロジェクタと、を備える。
【発明の効果】
【0007】
開示の技術によれば、プロジェクタの設置スペースを省スペース化できる。
【図面の簡単な説明】
【0008】
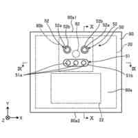
図1は、実施形態に係る車両の一例を示す図である。
図2は、実施形態に係るディスプレイ装置の外観を例示する図である。
図3は、ダッシュボード、ディスプレイ装置、スクリーン及びフロントガラスの位置関係を例示する図である。
図4は、実施形態に係るディスプレイ装置のハードウェア構成の一例を示す図である。
図5は、実施形態に係るディスプレイ装置の処理ブロックの一例を示す図である。
図6は、実施形態に係るディスプレイ装置の処理フローの一例を示す図である。
図7は、第1変形例に係るディスプレイ装置の外観の一例を示す図である。
図8は、第1変形例においてプロジェクタが投影する領域を模式的に示す図である。
図9は、第1変形例に係るディスプレイ装置の処理ブロックの一例を示す図である。
【発明を実施するための形態】
【0009】
<実施形態>
以下、図面を参照して実施形態について説明する。図1は、実施形態に係る車両100の一例を示す図である。図1は、車両100を上方から見た図である。また、図1は、車両100の車内を説明するため、天井、フロントガラス及び窓ガラスの図示を省略している。車両100は、例えば、乗用車である。
【0010】
車両100は、乗員用の座席として、運転席1、助手席2、右後部座席3、中央後部座席4及び左後部座席5を備える。運転席1及び助手席2は、車両100の幅方向に沿って一列に配置される。また、右後部座席3、中央後部座席4及び左後部座席5は、運転席1及び助手席2の後方において、車両100の幅方向に沿って一列に配置される。運転席1及び助手席2の前方には、ダッシュボード10が配置される。ダッシュボード10の運転席1及び助手席2側の面には、計器部20及びディスプレイ装置40が配置される。計器部20は、例えば、スピードメータ及びタコメータを含む。ディスプレイ装置40は、例えば、センターインフォメーションディスプレイ(CID)である。ダッシュボード10のディスプレイ装置40よりも前方には、スクリーン50が配置される。スクリーン50は、例えば、運転席1の前方から助手席2の前方に渡って車両100の幅方向に延在する。すなわち、スクリーン50は、運転席1及び助手席2の正面に位置するように配置される。運転席1、助手席2、右後部座席3、中央後部座席4及び左後部座席5は、「乗員席」の一例である。
(【0011】以降は省略されています)
この特許をJ-PlatPat(特許庁公式サイト)で参照する
関連特許
株式会社デンソーテン
車載表示装置
28日前
株式会社デンソーテン
アンテナアンプ及びアンテナ装置
23日前
株式会社デンソーテン
貼り合わせ装置および貼り合わせ方法
7日前
株式会社デンソーテン
画像処理装置および画像処理プログラム
1日前
株式会社デンソーテン
車両制御装置、車両制御方法および車両
1か月前
株式会社デンソーテン
電源制御装置および電源制御プログラム
21日前
株式会社デンソーテン
電源制御装置および電源制御プログラム
15日前
株式会社デンソーテン
通知装置、情報処理装置およびプログラム
今日
株式会社デンソーテン
通信装置、通信方法、及び通信プログラム
21日前
株式会社デンソーテン
車両制御装置、車両、および、異常検知方法
7日前
株式会社デンソーテン
検知装置、検知方法、プログラム及び検知システム
7日前
株式会社デンソーテン
受信機、受信システム、受信方法およびプログラム
21日前
株式会社デンソーテン
電池監視システム、電池監視装置および電圧計測装置
15日前
株式会社ABAL
画像投影システム及び画像投影方法
15日前
株式会社デンソーテン
車両検知装置、車両検知方法、及び車両検知プログラム
7日前
株式会社デンソーテン
車載器、車載器の取り付け機構、および車載器の取り付け方法
1か月前
株式会社デンソーテン
情報通知装置、車両システム、情報通知方法およびプログラム
1か月前
株式会社デンソーテン
学習方法、学習装置、学習プログラム、および、学習データ生成方法
7日前
株式会社デンソーテン
画像処理装置、情報処理システム、情報処理方法、および、プログラム
今日
株式会社デンソーテン
感情推定装置、感情推定方法、感情推定プログラムおよび感情推定システム
7日前
株式会社デンソーテン
情報通知装置、情報通知プログラム、情報通知方法、および情報通知システム
21日前
株式会社デンソーテン
通知制御装置、方法及びプログラム、通知制御システム並びに車載用通知システム
1か月前
株式会社デンソーテン
感情推定装置、キャリブレーション方法、感情推定プログラムおよび感情推定システム
1か月前
株式会社デンソーテン
車両運転支援装置、車両運転支援方法、車両運転支援プログラム及び車両運転支援システム
15日前
株式会社デンソーテン
情報処理装置、情報処理方法、情報処理プログラム、感情推定装置、及び運転支援システム
7日前
株式会社デンソーテン
スマートキーシステム、車載装置、スマートキー、および、スマートキーシステムの制御方法
1日前
個人
イヤーピース
28日前
個人
イヤーマフ
1か月前
個人
監視カメラシステム
1か月前
キーコム株式会社
光伝送線路
1か月前
個人
スイッチシステム
1か月前
サクサ株式会社
中継装置
1か月前
個人
スキャン式車載用撮像装置
1か月前
サクサ株式会社
中継装置
1か月前
WHISMR合同会社
収音装置
2か月前
キヤノン株式会社
撮像装置
今日
続きを見る
他の特許を見る