TOP
|
特許
|
意匠
|
商標
特許ウォッチ
Twitter
他の特許を見る
10個以上の画像は省略されています。
公開番号
2025169687
公報種別
公開特許公報(A)
公開日
2025-11-14
出願番号
2024074652
出願日
2024-05-02
発明の名称
情報通知装置、情報通知プログラム、情報通知方法、および情報通知システム
出願人
株式会社デンソーテン
代理人
弁理士法人酒井国際特許事務所
主分類
H04R
3/00 20060101AFI20251107BHJP(電気通信技術)
要約
【課題】ユーザに違和感を与えることなく警告音と振動とによって情報を通知できる情報通知装置、情報通知プログラム、情報通知方法、および情報通知システムを提供する。
【解決手段】実施形態に係る情報通知装置は、情報通知音信号に基づく情報通知振動信号を出力する情報通知装置であって、情報通知音信号のピーク周波数を検出し、ピーク周波数が振動通知に適した予め定めた好適周波数帯域内となるようなピッチシフト処理におけるピッチシフト値を算出し、情報通知音信号をピッチシフト値に基づいてピッチシフト処理して情報通知振動信号を生成する。
【選択図】図1
特許請求の範囲
【請求項1】
情報通知音信号に基づく情報通知振動信号を出力する情報通知装置であって、
前記情報通知音信号のピーク周波数を検出し、
前記ピーク周波数が振動通知に適した予め定めた好適周波数帯域内となるようなピッチシフト処理におけるピッチシフト値を算出し、
前記情報通知音信号を前記ピッチシフト値に基づいてピッチシフト処理して前記情報通知振動信号を生成する情報通知装置。
続きを表示(約 1,500 文字)
【請求項2】
前記好適周波数帯域は、
100Hzから150Hzまでの帯域である
請求項1に記載の情報通知装置。
【請求項3】
前記ピッチシフト値は、
1オクターブの整数倍の値である
請求項1に記載の情報通知装置。
【請求項4】
前記情報通知音信号のピッチシフト処理により生成されたピッチシフト処理信号のピーク周波数が前記好適周波数帯域内とならない場合、
前記ピッチシフト処理信号のピーク周波数が前記好適周波数帯域に最も近くなるような前記ピッチシフト値で前記ピッチシフト処理を行い、
前記ピッチシフト処理により生成されたピッチシフト処理信号における前記好適周波数帯域のレベルを増強するイコライザ処理を行う
請求項3に記載の情報通知装置。
【請求項5】
前記情報通知音信号のピッチシフト処理により生成されたピッチシフト処理信号のピーク周波数が前記好適周波数帯域内とならない場合、
前記ピッチシフト処理信号を前記情報通知振動信号として出力し、
前記情報通知音信号における前記好適周波数帯域のレベルを増強するイコライザ処理を行って情報通知音信号として出力する
請求項4に記載の情報通知装置。
【請求項6】
情報通知振動に付与する方向感に応じて、信号レベルと出力タイミングを調整した複数振動子を各々振動させる複数の前記情報通知振動信号を出力する
請求項1~5のいずれか一つに記載の情報通知装置。
【請求項7】
複数の振動周波数のテスト振動信号を順次出力し、
ユーザが選択したテスト振動信号の振動周波数に基づき前記好適周波数帯域を決定する
請求項1~5のいずれか一つに記載の情報通知装置。
【請求項8】
情報通知音信号に基づく情報通知振動信号を出力する情報通知プログラムであって、
前記情報通知音信号のピーク周波数を検出し、
前記ピーク周波数が振動通知に適した予め定めた好適周波数帯域内となるようなピッチシフト処理におけるピッチシフト値を算出し、
前記情報通知音信号を前記ピッチシフト値に基づいてピッチシフト処理して前記情報通知振動信号を生成する処理を
コンピュータに実行させる情報通知プログラム。
【請求項9】
情報通知音信号に基づく情報通知振動信号を生成する情報通知方法であって、
前記情報通知音信号のピーク周波数を検出し、
前記ピーク周波数が振動通知に適した予め定めた好適周波数帯域内となるようなピッチシフト処理におけるピッチシフト値を算出し、
前記情報通知音信号を前記ピッチシフト値に基づいてピッチシフト処理して前記情報通知振動信号を生成する
情報通知方法。
【請求項10】
情報通知音を出力する出音装置と、
情報通知振動を出力する振動装置と、
前記出音装置に情報通知音を出力させる情報通知音信号と、前記振動装置に情報通知振動を出力させる情報通知振動信号とを出力する情報通知装置とを含む情報通知システムであって、
情報通知装置は、
前記情報通知音信号のピーク周波数を検出し、
前記ピーク周波数が振動通知に適した予め定めた好適周波数帯域内となるようなピッチシフト処理におけるピッチシフト値を算出し、
前記情報通知音信号を前記ピッチシフト値に基づいてピッチシフト処理して前記情報通知振動信号を生成する
情報通知システム。
発明の詳細な説明
【技術分野】
【0001】
開示の実施形態は、情報通知装置、情報通知プログラム、情報通知方法、および情報通知システムに関する。
続きを表示(約 1,900 文字)
【背景技術】
【0002】
警告音と振動とによって車両周囲の状況を通知する情報通知装置がある(例えば、特許文献1参照)。振動によって情報を通知する方法としては、固定的な振動を用いる方法、警告音を加工して生成した振動を用いる方法等がある。
【先行技術文献】
【特許文献】
【0003】
特開2004-240855号公報
【発明の概要】
【発明が解決しようとする課題】
【0004】
しかしながら、従来の情報通知装置では、警告音と振動とが人の感覚に対してうまく調和せず、ユーザに違和感を与えることがある。
【0005】
実施形態の一態様は、上記に鑑みてなされたものであって、ユーザに違和感を与えることなく警告音と振動とによって情報を通知できる情報通知装置、情報通知プログラム、情報通知方法、および情報通知システムを提供することを目的とする。
【課題を解決するための手段】
【0006】
実施形態の一態様に係る情報通知装置は、情報通知音信号に基づく情報通知振動信号を出力する情報通知装置であって、前記情報通知音信号のピーク周波数を検出し、前記ピーク周波数が振動通知に適した予め定めた好適周波数帯域内となるようなピッチシフト処理におけるピッチシフト値を算出し、前記情報通知音信号を前記ピッチシフト値に基づいてピッチシフト処理して前記情報通知振動信号を生成する。
【発明の効果】
【0007】
実施形態の一態様に係る情報通知装置、情報通知プログラム、情報通知方法、および情報通知システムによれば、情報通知音と相関性がある情報通知振動で、またピーク周波数が人に与える振動として適切な周波数帯域内となる情報通知振動で振動子を振動させることができるので、情報通知に適した情報通知振動で、かつユーザに違和感を与えることのない情報通知音と情報通知振動とによって情報を通知できる。
【図面の簡単な説明】
【0008】
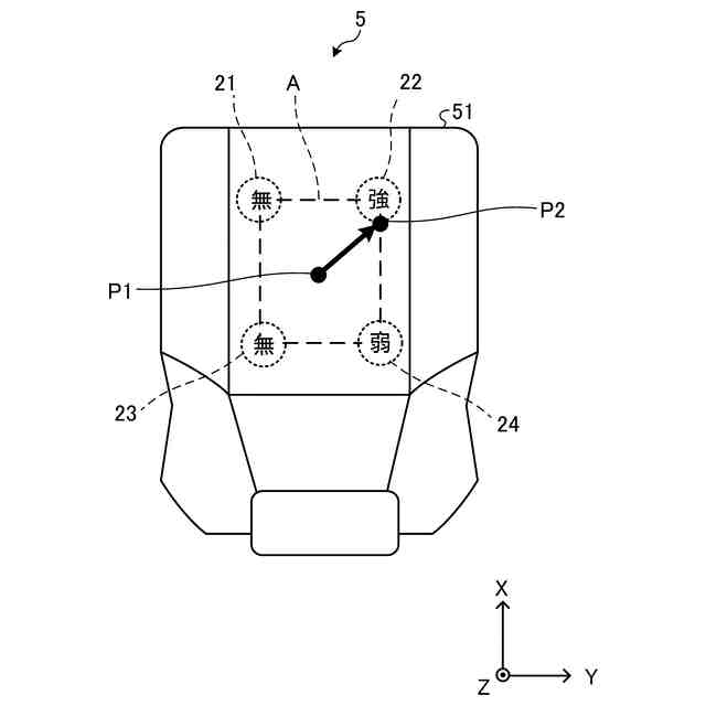
図1は、実施形態に係る情報通知システムのシステム構成例、および情報通知装置の構成例を示す説明図である。
図2は、実施形態に係る第1~第4振動子および収音装置の設置位置を示す説明図である。
図3は、実施形態に係る第1~第4出音装置および収音装置の設置位置を示す説明図である。
図4は、実施形態に係る情報通知システムを搭載した自車両おける交通状況例およびその交通状況における情報通知音の出力状態の一例を示す説明図である。
図5は、図4に示した交通状況における情報通知振動の出力状態の一例を示す説明図である。
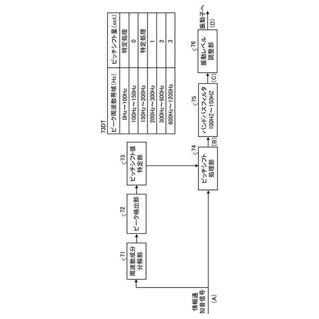
図6は、情報通知振動信号を生成する構成を示す構成図である。
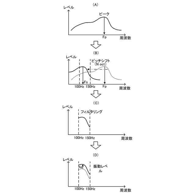
図7は、情報通知振動信号の生成処理の説明図である。
図8は、実施形態に係るデータテーブルの一例を示す説明図である。
図9は、実施形態に係るコントローラ2が実行する情報通知処理の一例を示すフローチャートである。
図10は、実施形態に係るコントローラ2が実行する情報通知処理の一例を示すフローチャートである。
図11は、実施形態に係るコントローラ2が実行する好適周波数帯域の設定処理の一例を示すフローチャートである。
【発明を実施するための形態】
【0009】
以下、添付図面を参照して、情報通知装置、情報通知プログラム、情報通知方法、および情報通知システムの実施形態を詳細に説明する。なお、以下に示す実施形態によりこの発明が限定されるものではない。実施形態に係る情報通知装置は、車両に搭載され、自車両の周囲にユーザ(運転者)が注意すべき対象物(以下、単に「対象物」と記載する)が検知された場合には、その旨を振動によって通知する機能を備える。対象物は、例えば、自車両に接近する他車両および歩行者などである。
【0010】
以下の説明にあたって、自車両の直進進行方向であって、運転座席からハンドルに向かう方向を「前方向」とする。また、自車両の直進進行方向であって、ハンドルから運転座席に向かう方向を「後方向」とする。また、自車両の直進進行方向及び鉛直線に垂直な方向であって、前方向を向いている運転者の右側から左側に向かう方向を「左方向」とする。また、自車両の直進進行方向及び鉛直線に垂直な方向であって、前方向を向いている運転者の左側から右側に向かう方向を「右方向」とする。なお、これらの方向は、単に説明のために用いられる名称であって、実際の位置関係及び方向を限定する趣旨ではない。
(【0011】以降は省略されています)
この特許をJ-PlatPat(特許庁公式サイト)で参照する
関連特許
株式会社デンソーテン
車載表示装置
13日前
株式会社デンソーテン
アンテナアンプ及びアンテナ装置
8日前
株式会社デンソーテン
電源制御装置および電源制御プログラム
今日
株式会社デンソーテン
電源制御装置および電源制御プログラム
6日前
株式会社デンソーテン
車両制御装置、車両制御方法および車両
21日前
株式会社デンソーテン
通信装置、通信方法、及び通信プログラム
6日前
株式会社デンソーテン
受信機、受信システム、受信方法およびプログラム
6日前
株式会社デンソーテン
電池監視システム、電池監視装置および電圧計測装置
今日
株式会社ABAL
画像投影システム及び画像投影方法
今日
株式会社デンソーテン
車載器、車載器の取り付け機構、および車載器の取り付け方法
21日前
株式会社デンソーテン
情報通知装置、車両システム、情報通知方法およびプログラム
23日前
株式会社デンソーテン
情報通知装置、情報通知プログラム、情報通知方法、および情報通知システム
6日前
株式会社デンソーテン
通知制御装置、方法及びプログラム、通知制御システム並びに車載用通知システム
24日前
株式会社デンソーテン
感情推定装置、キャリブレーション方法、感情推定プログラムおよび感情推定システム
24日前
株式会社デンソーテン
車両運転支援装置、車両運転支援方法、車両運転支援プログラム及び車両運転支援システム
今日
個人
イヤーピース
13日前
個人
イヤーマフ
27日前
個人
監視カメラシステム
1か月前
キーコム株式会社
光伝送線路
1か月前
個人
スイッチシステム
21日前
WHISMR合同会社
収音装置
2か月前
サクサ株式会社
中継装置
1か月前
個人
スキャン式車載用撮像装置
1か月前
サクサ株式会社
中継装置
1か月前
アイホン株式会社
電気機器
2か月前
キヤノン株式会社
撮像装置
2か月前
株式会社リコー
画像形成装置
2か月前
個人
映像表示装置、及びARグラス
22日前
キヤノン電子株式会社
画像読取装置
13日前
株式会社リコー
画像形成装置
29日前
サクサ株式会社
無線システム
1か月前
キヤノン電子株式会社
画像読取装置
1か月前
個人
ワイヤレスイヤホン対応耳掛け
2か月前
キヤノン電子株式会社
画像読取装置
21日前
ヤマハ株式会社
放音制御装置
21日前
キヤノン電子株式会社
画像読取装置
2か月前
続きを見る
他の特許を見る