TOP
|
特許
|
意匠
|
商標
特許ウォッチ
Twitter
他の特許を見る
10個以上の画像は省略されています。
公開番号
2025169623
公報種別
公開特許公報(A)
公開日
2025-11-14
出願番号
2024074498
出願日
2024-05-01
発明の名称
受信機、受信システム、受信方法およびプログラム
出願人
株式会社デンソーテン
代理人
弁理士法人秀和特許事務所
主分類
H04L
27/26 20060101AFI20251107BHJP(電気通信技術)
要約
【課題】受信信号から精度よくパルスノイズを抽出し、除去する。
【解決手段】本受信機は、変調信号のデータ区間の先頭に付加されたガード区間と、当該ガード区間のコピー元であるデータ区間の末尾のガード相当区間との差分演算により、第一ノイズ信号を生成する。そして、本受信機では、ガード区間の信号またはガード相当区間の信号と、第二ノイズ信号との差分を最小にするようにフィルタパラメータが調整される。そして、本受信機は、当該調整されたフィルタパラメータにより生成された第二ノイズ信号をノイズレプリカ信号としてデータ区間に含まれるパルスノイズを除去する。
【選択図】図3
特許請求の範囲
【請求項1】
変調信号のデータ区間の先頭に付加されたガード区間と、当該ガード区間のコピー元である前記データ区間の末尾のガード相当区間との差分演算により、第一ノイズ信号を生成し、
前記第一ノイズ信号を適応フィルタによって処理して第二ノイズ信号を生成し、
前記適応フィルタは、前記ガード区間の信号または前記ガード相当区間の信号と、前記第二ノイズ信号との差分を最小にするようにフィルタパラメータが調整され、
当該調整されたフィルタパラメータにより生成された前記第二ノイズ信号をノイズレプリカ信号として前記データ区間に含まれるパルスノイズを除去する
受信機。
続きを表示(約 1,400 文字)
【請求項2】
前記第二ノイズ信号を繰り返し並べて前記データ区間全体の長さの前記ノイズレプリカ信号を生成する請求項1に記載の受信機。
【請求項3】
前記データ区間全体の長さの前記ノイズレプリカ信号と前記データ区間との相互相関におけるピーク位置にしたがい、前記ノイズレプリカ信号の時間軸上の位置をシフトし、前記データ区間と前記ノイズレプリカ信号との相対位置を整合させる請求項2に記載の受信機。
【請求項4】
前記ノイズレプリカ信号をシフトすることによって発生する、前記データ区間に対応する前記時間軸上で前記ノイズレプリカ信号が存在しない部分区間は、ゼロデータで補完される請求項3に記載の受信機。
【請求項5】
前記データ区間の前半部分においては、前記ガード区間の信号により生成された前記ノイズレプリカ信号を、前記データ区間の後半部分においては、前記ガード相当区間の信号により生成された前記ノイズレプリカ信号を、それぞれ用いてパルスノイズを除去する請求項1に記載の受信機。
【請求項6】
受信機と、出力装置とを備える受信システムであり、前記受信機は、
変調信号のデータ区間の先頭に付加されたガード区間と、当該ガード区間のコピー元である前記データ区間の末尾のガード相当区間との差分演算により、第一ノイズ信号を生成し、
前記第一ノイズ信号を適応フィルタによって処理して第二ノイズ信号を生成し、
前記適応フィルタは、前記ガード区間の信号または前記ガード相当区間の信号と、前記第二ノイズ信号との差分を最小にするようにフィルタパラメータが調整され、
当該調整されたフィルタパラメータにより生成された前記第二ノイズ信号をノイズレプリカ信号として前記データ区間に含まれるパルスノイズを除去する
受信システム。
【請求項7】
受信機が、
変調信号のデータ区間の先頭に付加されたガード区間と、当該ガード区間のコピー元である前記データ区間の末尾のガード相当区間との差分演算により、第一ノイズ信号を生成し、
前記第一ノイズ信号を適応フィルタによって処理して第二ノイズ信号を生成し、
前記適応フィルタは、前記ガード区間の信号または前記ガード相当区間の信号と、前記第二ノイズ信号との差分を最小にするようにフィルタパラメータが調整され、
当該調整されたフィルタパラメータにより生成された前記第二ノイズ信号をノイズレプリカ信号として前記データ区間に含まれるパルスノイズを除去する
受信方法。
【請求項8】
受信機に、
変調信号のデータ区間の先頭に付加されたガード区間と、当該ガード区間のコピー元である前記データ区間の末尾のガード相当区間との差分演算により、第一ノイズ信号を生成し、
前記第一ノイズ信号を適応フィルタによって処理して第二ノイズ信号を生成し、
前記適応フィルタは、前記ガード区間の信号または前記ガード相当区間の信号と、前記第二ノイズ信号との差分を最小にするようにフィルタパラメータが調整され、
当該調整されたフィルタパラメータにより生成された前記第二ノイズ信号をノイズレプリカ信号として前記データ区間に含まれるパルスノイズを除去する処理を実行させるための
プログラム。
発明の詳細な説明
【技術分野】
【0001】
本発明は、受信機、受信システム、受信方法およびプログラムに関するものである。
続きを表示(約 2,000 文字)
【背景技術】
【0002】
下記特許文献1には、復調したOFDM信号のヌル部(無信号部)に存在する雑音成分をサブキャリア周波数の信号に含まれる雑音成分として検出して抑圧することが記載されている。
【先行技術文献】
【特許文献】
【0003】
特開2000-341241号公報
【発明の概要】
【発明が解決しようとする課題】
【0004】
ところで、OFDM信号等、無線の受信信号中に含まれているパルスノイズを除去するには、その受信信号中の時間軸方向でのパルスノイズの発生時刻(時間軸上の位置)や周期を精度よく求めることが望ましい。しかし、従来の技術は、OFDM信号のヌル部(無信号部)に存在する雑音成分を求めるものであり、受信信号中のパルスノイズの発生時刻や周期を求めるものではない。例えば、復調前の受信信号では、パルスノイズに信号成分が重畳している。このため、正確なパルスノイズの発生時刻や周期を求めることが難しかった。開示の実施形態の側面は、受信信号から精度よくパルスノイズを抽出し、除去することである。
【課題を解決するための手段】
【0005】
開示の実施形態は、受信機によって例示される。本受信機は、変調信号のデータ区間の先頭に付加されたガード区間と、当該ガード区間のコピー元であるデータ区間の末尾のガード相当区間との差分演算により、第一ノイズ信号を生成する。そして、本受信機は、第一ノイズ信号を適応フィルタによって処理して第二ノイズ信号を生成する。そして、この適応フィルタでは、ガード区間の信号またはガード相当区間の信号と、第二ノイズ信号との差分を最小にするようにフィルタパラメータが調整される。そして、本受信機は、当該調整されたフィルタパラメータにより生成された第二ノイズ信号をノイズレプリカ信号としてデータ区間に含まれるパルスノイズを除去する。
【発明の効果】
【0006】
このように、本受信機は、変調信号のデータ区間の先頭に付加されたガード区間と、当該ガード区間のコピー元であるデータ区間の末尾のガード相当区間との差分演算により、第一ノイズ信号を生成する。ガード区間とガード相当区間とは同一の信号成分を含むので、本受信機は、適切に第一ノイズ信号を取得できる。
【0007】
さらに、本受信機は、ガード区間の信号またはガード相当区間の信号と生成される第二ノイズ信号との差分を最小にするようにフィルタパラメータを調整する適応フィルタによって第一ノイズ信号から第二ノイズ信号を生成する。適応フィルタは、差分を最小にするようにフィルタパラメータ(フィルタの係数)を調整できる。このため、本受信機は、ガード区間の信号またはガード相当区間の信号と生成される第二ノイズ信号との差分が最小となるような望ましい第二ノイズ信号を生成できる。
【0008】
そして、本受信機は、当該調整されたフィルタパラメータにより生成された第二ノイズ
信号をノイズレプリカ信号として用いて、データ区間に含まれるパルスノイズを除去するので、望ましい第二ノイズ信号に基づいてパルスノイズを除去できる。すなわち、本受信機は、受信信号から精度よくパルスノイズを抽出でき、除去できる。
【図面の簡単な説明】
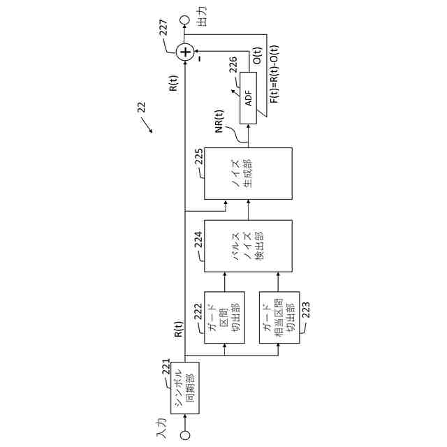
【0009】
図1は、受信システムのハードウェア構成を例示する図である。
図2は、RF回路の詳細構成を例示する図である。
図3は、ノイズ除去回路の詳細構成を例示する図である。
図4は、パルスノイズ検出部の詳細構成を例示する図である。
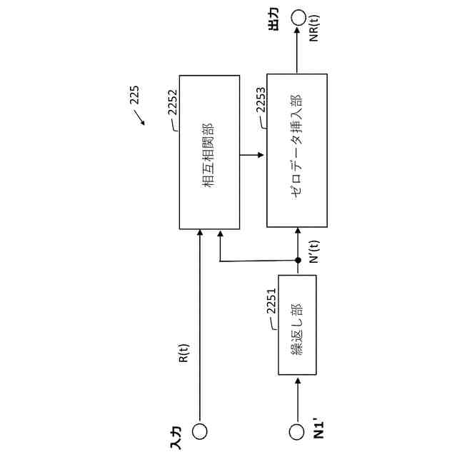
図5は、ノイズ生成部の詳細構成を例示する図である。
図6は、ノイズ除去回路の受信処理を例示するシーケンス図である。
図7は、変形例1に係るパルスノイズ検出部の詳細構成を例示する図である。
図8は、変形例2に係るノイズ除去回路の受信処理を例示するシーケンス図である。
シミュレーション結果を例示する図である。
シミュレーション結果を例示する図である。
シミュレーション結果を例示する図である。
シミュレーション結果を例示する図である。
【発明を実施するための形態】
【0010】
以下、図面を参照して、一実施形態の受信システム10、放送受信機としての放送受信部16、受信方法およびプログラムが説明される。以下、本実施形態では、受信システム10としては、デジタルテレビ、デジタルラジオ、または、これらを搭載した車載器が例示される。車載器は、例えば、オーディオ機能、ビジュアル機能、およびナビゲーション機能を有するヘッドユニットと呼ばれるものでもよい。
(【0011】以降は省略されています)
この特許をJ-PlatPat(特許庁公式サイト)で参照する
関連特許
株式会社デンソーテン
車載表示装置
13日前
株式会社デンソーテン
アンテナアンプ及びアンテナ装置
8日前
株式会社デンソーテン
電源制御装置および電源制御プログラム
6日前
株式会社デンソーテン
車両制御装置、車両制御方法および車両
21日前
株式会社デンソーテン
電源制御装置および電源制御プログラム
今日
株式会社デンソーテン
通信装置、通信方法、及び通信プログラム
6日前
株式会社デンソーテン
受信機、受信システム、受信方法およびプログラム
6日前
株式会社デンソーテン
電池監視システム、電池監視装置および電圧計測装置
今日
株式会社ABAL
画像投影システム及び画像投影方法
今日
株式会社デンソーテン
監視装置、監視システム、監視方法、及び監視プログラム
27日前
株式会社デンソーテン
情報処理装置、情報処理方法、および情報処理プログラム
1か月前
株式会社デンソーテン
車両用警報装置、車両用警報システム及びメータユニット
1か月前
株式会社デンソーテン
車載器、車載器の取り付け機構、および車載器の取り付け方法
21日前
株式会社デンソーテン
情報通知装置、車両システム、情報通知方法およびプログラム
23日前
株式会社デンソーテン
通知制御装置、方法及びプログラム並びに車載用通知システム
1か月前
株式会社デンソーテン
情報通知装置、情報通知プログラム、情報通知方法、および情報通知システム
6日前
株式会社デンソーテン
通知制御装置、方法及びプログラム、通知制御システム並びに車載用通知システム
24日前
株式会社デンソーテン
感情推定装置、キャリブレーション方法、感情推定プログラムおよび感情推定システム
24日前
株式会社デンソーテン
車両運転支援装置、車両運転支援方法、車両運転支援プログラム及び車両運転支援システム
今日
個人
イヤーピース
13日前
個人
イヤーマフ
27日前
個人
監視カメラシステム
1か月前
キーコム株式会社
光伝送線路
1か月前
個人
スイッチシステム
21日前
サクサ株式会社
中継装置
1か月前
WHISMR合同会社
収音装置
2か月前
サクサ株式会社
中継装置
1か月前
個人
スキャン式車載用撮像装置
1か月前
キヤノン株式会社
撮像装置
2か月前
アイホン株式会社
電気機器
2か月前
ヤマハ株式会社
放音制御装置
21日前
キヤノン電子株式会社
画像読取装置
13日前
個人
ワイヤレスイヤホン対応耳掛け
2か月前
キヤノン電子株式会社
画像読取装置
1か月前
サクサ株式会社
無線通信装置
1か月前
キヤノン電子株式会社
画像読取装置
2か月前
続きを見る
他の特許を見る