TOP
|
特許
|
意匠
|
商標
特許ウォッチ
Twitter
他の特許を見る
10個以上の画像は省略されています。
公開番号
2025162301
公報種別
公開特許公報(A)
公開日
2025-10-27
出願番号
2024065499
出願日
2024-04-15
発明の名称
感情推定装置、キャリブレーション方法、感情推定プログラムおよび感情推定システム
出願人
株式会社デンソーテン
代理人
弁理士法人酒井国際特許事務所
主分類
A61B
5/16 20060101AFI20251020BHJP(医学または獣医学;衛生学)
要約
【課題】感情推定処理を早期に開始することができる感情推定装置、キャリブレーション方法、感情推定プログラムおよび感情推定システムを提供すること。
【解決手段】本願に係る感情推定装置は、生体データに基づき算出した感情指標値から感情推定を行う感情推定装置であって、コントローラを有する。コントローラは、時系列の前記感情指標値が特異的に変化した特異点を検出し、前記特異点が発生した際の実際の感情を受け付け、前記実際の感情と、前記特異点の前後の期間における前記感情指標値であるゆらぎデータとに基づいて、感情を推定する際に用いるデータのキャリブレーションを行う。
【選択図】図1
特許請求の範囲
【請求項1】
生体データに基づき算出した感情指標値から感情推定を行う感情推定装置であって、
コントローラを有し
前記コントローラは、
時系列の前記感情指標値が特異的に変化した特異点を検出し、
前記特異点が発生した際の実際の感情を受け付け、
前記実際の感情と、前記特異点の前後の期間における前記感情指標値であるゆらぎデータとに基づいて、感情を推定する際に用いるデータのキャリブレーションを行う
感情推定装置。
続きを表示(約 1,300 文字)
【請求項2】
前記コントローラは、
前記感情指標値を閾値で層別することにより前記感情推定を行い、
前記閾値に対して前記キャリブレーションを行う
請求項1に記載の感情推定装置。
【請求項3】
前記コントローラは、
複数種類の前記感情指標値に対する閾値で層別結果の組み合わせ状態によって感情を推定するものであって、
前記各感情指標値に対する前記閾値に対して、対応する感情指標値に対する前記ゆらぎデータで前記キャリブレーションを行う
請求項2に記載の感情推定装置。
【請求項4】
前記複数種類の前記感情指標値は、
脳波に基づき算出される中枢神経系の覚醒度と、
心拍に基づき算出される自律神経系の活性度である
請求項3に記載の感情推定装置。
【請求項5】
同じタイミングにおける人物の画像と中枢神経系の覚醒度を含む学習データにより学習された覚醒度推定モデルと、
同じタイミングにおける人物の画像と自律神経系の活性度を含む学習データにより学習された活性度推定モデルとを備え、
前記コントローラは、
撮影した被験者の画像を前記覚醒度推定モデルに適用して被験者の前記覚醒度を算出し、
撮影した被験者の画像を前記活性度推定モデルに適用して被験者の前記活性度を算出する
請求項4に記載の感情推定装置。
【請求項6】
生体データに基づき算出した感情指標値から感情推定を行う感情推定装置によって実行されるキャリブレーション方法であって、
時系列の前記感情指標値が特異的に変化した特異点を検出し、
前記特異点が発生した際の実際の感情を受け付け、
前記実際の感情と、前記特異点の前後の期間における前記感情指標値であるゆらぎデータとに基づいて、感情を推定する際に用いるデータのキャリブレーションを行う
キャリブレーション方法。
【請求項7】
生体データに基づき算出した感情指標値から感情推定を行う感情推定装置が実行する感情推定プログラムであって、
時系列の前記感情指標値が特異的に変化した特異点を検出し、
前記特異点が発生した際の実際の感情を受け付け、
前記実際の感情と、前記特異点の前後の期間における前記感情指標値であるゆらぎデータとに基づいて、感情を推定する際に用いるデータのキャリブレーションを行う
感情推定プログラム。
【請求項8】
対象者の生体データを計測する生体センサと、
前記生体センサが計測した生体データに基づき感情指標値を算出し、時系列の前記感情指標値が特異的に変化した特異点を検出し、前記特異点が発生した際の実際の感情を受け付け、前記実際の感情と、前記特異点の前後の期間における前記感情指標値であるゆらぎデータとに基づいて、感情を推定する際に用いるデータのキャリブレーションを行う感情推定装置と
を含む感情推定システム。
発明の詳細な説明
【技術分野】
【0001】
本発明は、感情推定装置、キャリブレーション方法、感情推定プログラムおよび感情推定システムに関する。
続きを表示(約 2,100 文字)
【背景技術】
【0002】
従来、対象者から測定した生体データに基づいて感情の指標値を算出し、算出した指標値から対象者の感情を推定する技術が開示されている(例えば、特許文献1参照)。また、この種の技術では、個人差・周囲環境差により生体データの表れ方が変動し、それに伴って指標値がバラついてしまうため、感情推定に用いる閾値を変動に合わせて調整するキャリブレーションが必要となる。例えば、特許文献1では、感情の変化を特定できるタスクを対象者に実行させ、タスク実行時の生体データに基づいてキャリブレーションを行う技術が開示されている。
【先行技術文献】
【特許文献】
【0003】
特開2023-071507号公報
【発明の概要】
【発明が解決しようとする課題】
【0004】
しかしながら、従来技術では、異なる複数のタスクを繰り返し対象者に実行させてある程度の量の生体データを収集する必要があるため、生体データを一定量収集するために要する時間や、対象者が何度もタスクを実行する時間が必要となる。このため、キャリブレーションの完了までに時間がかかってしまい、感情推定処理を早期に開始できない場合があった。
【0005】
本願は、上記に鑑みてなされたものであって、感情推定処理を早期に開始することができる感情推定装置、キャリブレーション方法、感情推定プログラムおよび感情推定システムを提供することを目的とする。
【課題を解決するための手段】
【0006】
本願に係る感情推定装置は、生体データに基づき算出した感情指標値から感情推定を行う感情推定装置であって、コントローラを有する。前記コントローラは、時系列の前記感情指標値が特異的に変化した特異点を検出し、前記特異点が発生した際の実際の感情を受け付け、前記実際の感情と、前記特異点の前後の期間における前記感情指標値であるゆらぎデータとに基づいて、感情を推定する際に用いるデータのキャリブレーションを行う。
【発明の効果】
【0007】
本開示では、キャリブレーションを行わずに取得した感情指標値に変化(特異点)が起こった際に対象者から実際の感情を取得し、特異点と実際の感情とを基に感情指標値の閾値を設定する。従って、本開示によれば、キャリブレーションを行うことなく閾値を設定できるため、感情推定処理を早期に開始することができる。
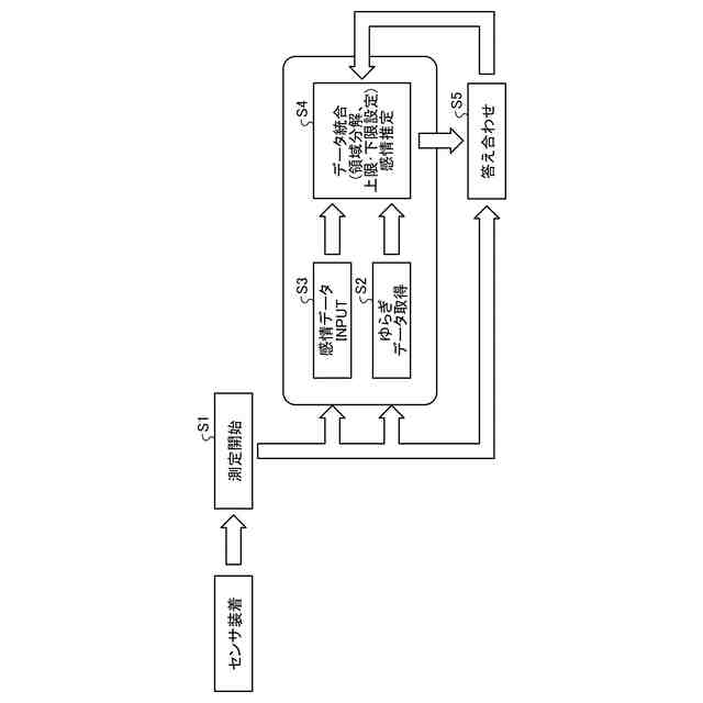
【図面の簡単な説明】
【0008】
図1は、実施形態にて想定される車両と人物との関係を示す図である。
図2は、車載システムの概略ブロック図を示す図である。
図3は、感情推定に関わる二次元モデルの一例を示す図である。
図4は、ニュートラル領域を説明するための図である。
図5は、実施形態に係る感情推定装置の構成例を示す図である。
図6は、心理平面テーブルの一例を示す図である。
図7は、心理平面テーブルの一例を示す図である。
図8は、ニュートラル領域テーブルの一例を示す図である。
図9は、コントローラが行う感情推定処理の概要を示す図である。
図10は、覚醒度の時系列データの一例を示す図である。
図11は、覚醒度の時間変化を模式的に示す図である。
図12は、実際の感情を推定するための提案内容の一例を示す図である。
図13は、実際の感情を推定するための提案内容の一例を示す図である。
図14は、実際の感情を推定するための提案内容の一例を示す図である。
図15は、感情推定装置が実行するデータ統合処理の処理手順を示すフローチャートである。
図16は、感情推定装置が実行する感情推定処理の処理手順を示すフローチャートである。
【発明を実施するための形態】
【0009】
以下、添付図面を参照して、感情推定装置、キャリブレーション方法、感情推定プログラムおよび感情推定システムの実施形態を詳細に説明する。なお、以下に示す実施形態によりこの発明が限定されるものではない。
【0010】
<<実施形態>>
本発明の実施形態を説明する。実施形態において人物の感情を推定する技術を説明する。図1は、実施形態にて想定される車両V1と人物U1との関係を示す図である。人物U1は感情推定の対象者であり、以下、対象者U1と称される。車両V1は任意の種類の車両である。ここでは車両V1は路面上を走行する自動車等であるとする。対象者U1は車両V1の乗員である。本実施形態では対象者U1が車両V1の運転者であることを想定する。以下、単に運転者といった場合、それは車両V1の運転者(故に対象者U1)を指すものとする。但し、対象者U1は運転者以外の乗員(即ち車両V1の同乗者)であっても良い。人物U1を対象者U1と称することに合わせて車両V1は対象車両V1と称され得る。車両V1に対し車載システムSYSが搭載される。車載システムSYSは、感情推定システムの一例である。
(【0011】以降は省略されています)
この特許をJ-PlatPat(特許庁公式サイト)で参照する
関連特許
個人
貼付剤
1か月前
個人
簡易担架
15日前
個人
短下肢装具
4か月前
個人
腋臭防止剤
15日前
個人
足踏み器具
22日前
個人
嚥下鍛錬装置
4か月前
個人
洗井間専家。
8か月前
個人
排尿補助器具
1か月前
個人
前腕誘導装置
4か月前
個人
矯正椅子
6か月前
個人
バッグ式オムツ
5か月前
個人
胸骨圧迫補助具
2か月前
個人
汚れ防止シート
2か月前
個人
ウォート指圧法
1か月前
個人
腰ベルト
1か月前
個人
歯の修復用材料
5か月前
個人
アイマスク装置
3か月前
個人
ホバーアイロン
7か月前
個人
車椅子持ち上げ器
8か月前
個人
陣痛緩和具
4か月前
個人
美容セット
24日前
個人
シャンプー
7か月前
個人
歯の保護用シール
6か月前
個人
排尿排便補助器具
17日前
個人
湿布連続貼り機。
3か月前
個人
哺乳瓶冷まし容器
4か月前
三生医薬株式会社
錠剤
8か月前
個人
服薬支援装置
8か月前
個人
エア誘導コルセット
2か月前
株式会社コーセー
化粧料
1か月前
株式会社八光
剥離吸引管
5か月前
個人
性行為補助具
4か月前
株式会社大野
骨壷
4か月前
個人
治療用酸化防御装置
2か月前
個人
形見の製造方法
5か月前
個人
精力増強キット
2か月前
続きを見る
他の特許を見る