TOP
|
特許
|
意匠
|
商標
特許ウォッチ
Twitter
他の特許を見る
10個以上の画像は省略されています。
公開番号
2025168979
公報種別
公開特許公報(A)
公開日
2025-11-12
出願番号
2024073900
出願日
2024-04-30
発明の名称
アンテナアンプ及びアンテナ装置
出願人
株式会社デンソーテン
代理人
弁理士法人秀和特許事務所
主分類
H01Q
23/00 20060101AFI20251105BHJP(基本的電気素子)
要約
【課題】ホルダに対するアンテナアンプの着脱時に、アンテナアンプの接続端子が損傷することを防止する。
【解決手段】アンテナアンプは、筐体部と、電子基板と、アンプ端子と、弾性部材と、を備える。筐体部は、底部に開口部を有する。電子基板は、筐体部の内部に設けられる。アンプ端子は、電子基板に設けられており、筐体部の開口部に対向するように配置される。弾性部材は、筐体部の内部において、電子基板を押圧可能に設けられる。また、アンテナアンプは、弾性部材が電子基板を押圧することで、アンプ端子が筐体部の開口部から露出可能に形成されている。
【選択図】図4
特許請求の範囲
【請求項1】
底部に開口部を有する筐体部と、
前記筐体部の内部空間に設けられる電子基板と、
前記筐体部の前記開口部と対向するように配置され、前記電子基板に設けられるアンプ端子と、
前記筐体部の前記内部空間に設けられ、前記電子基板を押圧可能である弾性部材と、
を備え、
前記弾性部材が前記電子基板を押圧することで、前記アンプ端子が前記開口部から外部に突出される方向に押圧される、
アンテナアンプ。
続きを表示(約 910 文字)
【請求項2】
請求項1に記載のアンテナアンプと、
前記アンテナアンプを取り付け可能に形成されるホルダと、
を備え、
前記ホルダは、前記アンプ端子と電気的に接続されるホルダ端子を有し、
前記アンテナアンプを前記ホルダに取り付けることで、前記アンプ端子が電気的に接続される、
アンテナ装置。
【請求項3】
請求項1に記載のアンテナアンプと、
車両のウィンドガラスに設けられるアンテナと、
前記アンテナアンプが取り付け可能に形成され、前記ウィンドガラスに設けられるホルダと、
を備え、
前記アンテナは、端子接続部を有し、
前記ホルダは、前記アンテナアンプに設けられるアンプ端子を挿通可能に形成される開口部を有し、
前記アンテナアンプを前記ホルダに取り付けることで、前記アンプ端子が前記端子接続部と電気的に接続される、
アンテナ装置。
【請求項4】
前記弾性部材は、
前記ホルダに前記アンテナアンプを装着することで、前記弾性部材に弾性力が付与される、または、付与される弾性力が増加する、
請求項2又は3に記載のアンテナ装置。
【請求項5】
前記弾性部材の一部が前記筐体部の外部に露出する露出片を有し、
前記アンテナアンプを前記ホルダに取り付けた際に、前記ホルダが前記露出片を押圧することで前記弾性部材に弾性力を付与する、または、付与する弾性力を増加させる、
請求項4に記載のアンテナ装置。
【請求項6】
前記アンテナアンプを前記ホルダに取り付けていないときには、前記アンプ端子が前記開口部を通じて前記筐体部の前記内部空間に引き込まれた状態となる、
請求項4に記載のアンテナ装置。
【請求項7】
前記電子基板には、グラウンド用回路が設けられ、
前記弾性部材が金属材料で形成され、
前記グラウンド用回路と前記弾性部材とが電気的に接続されている、
請求項1に記載のアンテナアンプ。
発明の詳細な説明
【技術分野】
【0001】
本開示は、アンテナアンプ及びアンテナ装置に関する。
続きを表示(約 2,000 文字)
【背景技術】
【0002】
従来、車両の窓ガラスに固定されるホルダと、当該ホルダに組み込まれるアンテナアンプとを備えたコネクタが公知である(例えば、特許文献1)。
【先行技術文献】
【特許文献】
【0003】
特開2014-27428号公報
【発明の概要】
【発明が解決しようとする課題】
【0004】
特許文献1のコネクタにおいて、アンテナアンプの底面に開口が設けられており、弾性を有する接続端子が下方に突出している。ホルダにアンテナアンプを組み込むことで、接続端子の弾性によって、ホルダに設けられるアンテナ接続端子とアンテナアンプの接続端子とが接続される。弾性を有する接続端子は、例えばバネ端子等であり、アンテナアンプの底面から下方に突出しているため、例えば、着脱時等に意図しない外力が作用することで塑性変形することがある。
【0005】
本開示の技術は、上記した実情に鑑みてなされたものであり、その目的は、ホルダに対するアンテナアンプの着脱時に、アンテナアンプの接続端子の損傷を防止することにある。
【課題を解決するための手段】
【0006】
上記課題を解決するために、本開示の技術は以下の構成を採用した。本開示に係る技術の一側面としてのアンテナアンプは、筐体部と、電子基板と、アンプ端子と、弾性部材と、を備える。筐体部は、底部に開口部を有する。電子基板は、筐体部の内部空間に設けられる。アンプ端子は、電子基板に設けられており、筐体部の開口部に対向するように配置される。弾性部材は、筐体部の内部空間において、電子基板を押圧可能に設けられる。また、アンテナアンプは、弾性部材が電子基板を押圧することで、アンプ端子が筐体部の開口部から露出可能に形成されている。
【発明の効果】
【0007】
本開示によれば、ホルダに対するアンテナアンプの着脱時に、アンテナアンプの接続端子が損傷することを防止できる。
【図面の簡単な説明】
【0008】
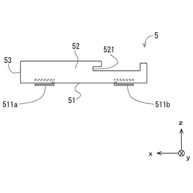
図1は、実施形態に係るアンテナ装置の概略構成図である。
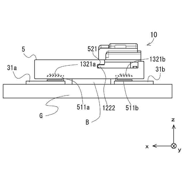
図2は、実施形態に係るアンテナアンプを実施形態に係るホルダに取り付けた際の側面図である。
図3は、実施形態に係るホルダの側面図である。
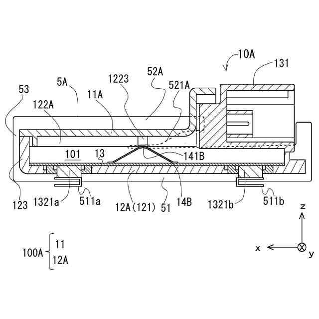
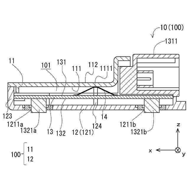
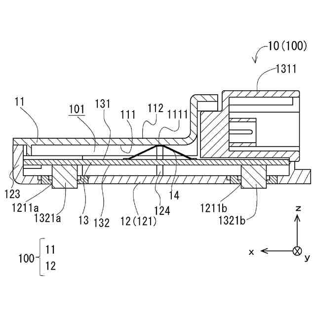
図4は、実施形態に係るアンテナアンプの断面図である。
図5は、実施形態に係るアンテナアンプの側面図である。
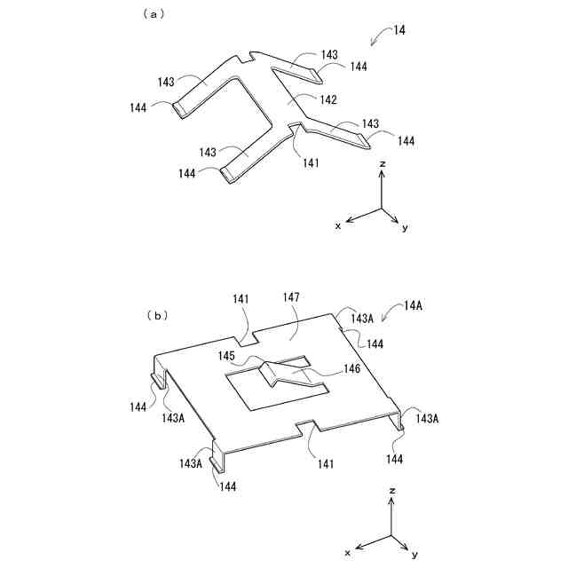
図6は、実施形態に係るアンテナアンプの斜視図である。
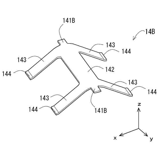
図7は、実施形態に係る弾性部材の斜視図である。
図8は、実施形態の変形例に係るアンテナアンプ及びホルダの断面図である。
図9は、実施形態の変形例に係る弾性部材の斜視図である。
【発明を実施するための形態】
【0009】
以下に、本開示の実施形態について、図面を参照して説明する。なお、本実施形態における各構成及びそれらの組み合わせ等は、一例であって、本開示の主旨から逸脱しない範囲内で、適宜、構成の付加、省略、置換、及びその他の変更が可能である。また、本開示は実施形態によって限定されることはなく、特許請求の範囲によってのみ限定される。
【0010】
<実施形態>
[構成]
図1は、実施形態に係るアンテナ装置1の概略構成図である。図2は、実施形態に係るアンテナアンプ10を実施形態に係るホルダ5に取り付けた際の側面図である。本実施形態のアンテナ装置1は、例えば、自動車である車両に設けられる。アンテナ装置1は、受信機2と、アンテナ3と、ケーブル4と、ホルダ5と、アンテナアンプ10と、を備える。図1(a)に示すように、本実施形態のアンテナ装置1は、車両のフロントガラスG(本発明における、「ウィンドガラス」の一例)に、アンテナ3を配置して用いられる。図1(b)には、アンテナアンプ10を拡大した図を示している。便宜上、図1(b)に示すように、コネクタ41の挿抜方向をX方向とする。X方向において、コネクタ41の挿入方向側を前側とし、その反対側を後側とする。さらに、図1(b)に示すように、ホルダ5とアンテナアンプ10とが積層される方向をZ方向とし、X方向及びZ方向のいずれとも直交する方向をY方向とする。本明細書において、Y方向をホルダ5及びアンテナアンプ10の幅方向と呼ぶ場合がある。Y方向において、ホルダ5の第1壁部52(ケース12の第1壁部122)が対向する側を内側とし、その反対側を外側とする。Z方向において、アンテナアンプ10から見てホルダ5が設けられる側を下側とし、その反対側を上側とする。なお、各軸方向、及び各方向に基づく前側、後側、上側、下側、内側、外側とは本実施形態の各要素における相対的な位置関係を示すものに過ぎない。
(【0011】以降は省略されています)
この特許をJ-PlatPat(特許庁公式サイト)で参照する
関連特許
株式会社デンソーテン
車載表示装置
1か月前
株式会社デンソーテン
アンテナアンプ及びアンテナ装置
25日前
株式会社デンソーテン
貼り合わせ装置および貼り合わせ方法
9日前
株式会社デンソーテン
電源制御装置および電源制御プログラム
17日前
株式会社デンソーテン
画像処理装置および画像処理プログラム
3日前
株式会社デンソーテン
電源制御装置および電源制御プログラム
23日前
株式会社デンソーテン
通信装置、通信方法、及び通信プログラム
23日前
株式会社デンソーテン
通知装置、情報処理装置およびプログラム
2日前
株式会社デンソーテン
車両制御装置、車両、および、異常検知方法
9日前
株式会社デンソーテン
受信機、受信システム、受信方法およびプログラム
23日前
株式会社デンソーテン
検知装置、検知方法、プログラム及び検知システム
9日前
株式会社デンソーテン
電池監視システム、電池監視装置および電圧計測装置
17日前
株式会社デンソーテン
車両検知装置、車両検知方法、及び車両検知プログラム
9日前
株式会社ABAL
画像投影システム及び画像投影方法
17日前
株式会社デンソーテン
車載器、車載器の取り付け機構、および車載器の取り付け方法
1か月前
株式会社デンソーテン
学習方法、学習装置、学習プログラム、および、学習データ生成方法
9日前
株式会社デンソーテン
画像処理装置、情報処理システム、情報処理方法、および、プログラム
2日前
株式会社デンソーテン
感情推定装置、感情推定方法、感情推定プログラムおよび感情推定システム
9日前
株式会社デンソーテン
情報通知装置、情報通知プログラム、情報通知方法、および情報通知システム
23日前
株式会社デンソーテン
車両運転支援装置、車両運転支援方法、車両運転支援プログラム及び車両運転支援システム
17日前
株式会社デンソーテン
情報処理装置、情報処理方法、情報処理プログラム、感情推定装置、及び運転支援システム
9日前
株式会社デンソーテン
スマートキーシステム、車載装置、スマートキー、および、スマートキーシステムの制御方法
3日前
APB株式会社
蓄電セル
1か月前
東ソー株式会社
絶縁電線
1か月前
日機装株式会社
加圧装置
2日前
ローム株式会社
半導体装置
1か月前
マクセル株式会社
電源装置
1か月前
日新イオン機器株式会社
イオン源
2日前
株式会社東芝
端子台
1か月前
株式会社GSユアサ
蓄電装置
1か月前
株式会社GSユアサ
蓄電装置
1か月前
株式会社GSユアサ
蓄電装置
1か月前
三菱電機株式会社
回路遮断器
25日前
株式会社GSユアサ
蓄電装置
17日前
富士電機株式会社
電磁接触器
17日前
日新イオン機器株式会社
基板処理装置
1か月前
続きを見る
他の特許を見る