TOP
|
特許
|
意匠
|
商標
特許ウォッチ
Twitter
他の特許を見る
10個以上の画像は省略されています。
公開番号
2025151961
公報種別
公開特許公報(A)
公開日
2025-10-09
出願番号
2024053609
出願日
2024-03-28
発明の名称
車両用警報装置、車両用警報システム及びメータユニット
出願人
株式会社デンソーテン
代理人
弁理士法人秀和特許事務所
主分類
H04R
3/12 20060101AFI20251002BHJP(電気通信技術)
要約
【課題】警報が必要なタイミングで確実に警報音を出力できるようにしつつ、アナウンス等を自然な音で出力できる車両用警報装置、車両用警報システム及びメータユニットを提供する。
【解決手段】車両用警報システム200において、警報制御装置40は、車両に搭載された車載インフォテインメント(IVI)スピーカー31~34を制御して、コンテンツの音を出力させる車載音響装置であるIVI制御装置50と通信可能なインターフェースと、車両に搭載された警報音用スピーカー21を制御して、車両内の乗員に警報音を出力させるプロセッサと、を有する車両用警報装置である。プロセッサは、警報音を警報音用スピーカーに出力させる際に、IVIスピーカーからも警報音を出力させる出力指示を、インターフェースを介して車載音響装置に送信する。
【選択図】図2
特許請求の範囲
【請求項1】
車両に搭載された第1のスピーカーを制御して、コンテンツの音を出力させる車載音響装置と通信可能なインターフェースと、前記車両に搭載された第2のスピーカーを制御して、前記車両内の乗員に警報音を出力させるプロセッサと、を有する車両用警報装置であって、
前記プロセッサは、
前記警報音を前記第2のスピーカーに出力させる際に、前記第1のスピーカーからも前記警報音を出力させる出力指示を前記インターフェースを介して前記車載音響装置に送信する、
車両用警報装置。
続きを表示(約 1,800 文字)
【請求項2】
前記プロセッサは、前記コンテンツの前記音の音量を下げる指示を含む前記出力指示を前記車載音響装置に送信する、
請求項1に記載の車両用警報装置。
【請求項3】
前記プロセッサは、前記コンテンツの前記音の再生を停止させる指示を含む前記出力指示を前記車載音響装置に送信する、
請求項1に記載の車両用警報装置。
【請求項4】
前記警報音は、第1の周波数帯域の音であり、
前記プロセッサは、前記コンテンツの前記音のうち前記第1の周波数帯域の音量を下げる指示を含む前記出力指示を前記車載音響装置に送信する、
請求項2に記載の車両用警報装置。
【請求項5】
前記第1のスピーカーは前記車両の複数の箇所に配置される複数のスピーカーを含み、
前記プロセッサは、前記車両の外部に存在する障害物が検出された位置を取得し、前記複数のスピーカーのうち、前記障害物が検出された位置に対応する箇所に設置されたスピーカーから前記警報音を出力させる出力指示を前記車載音響装置に送信する、
請求項1に記載の車両用警報装置。
【請求項6】
前記複数のスピーカーは、前記車両内の前部右に配置される前部右チャンネルスピーカー、前記車両内の前部左に配置される前部左チャンネルスピーカー、前記車両内の後部右に配置される後部右チャンネルスピーカー及び前記車両内の後部左に配置される後部左チャンネルスピーカーを含み、
前記車両は、前記車両の前部右隅、前部左隅、後部右隅、後部左隅の夫々に配置されて前記車両の外部に存在する前記障害物を検知する障害物センサを有し、
前記プロセッサは、前記障害物センサのうちのいずれかから前記障害物を検知したことを示す信号を取得し、前記第1のスピーカーのうち、前記障害物を検出した前記障害物センサの位置に対応する箇所に設置されたスピーカーから前記警報音を出力させる出力指示を前記車載音響装置に送信する、
請求項5に記載の車両用警報装置。
【請求項7】
前記プロセッサは、前記警報音が前記第1のスピーカーから出力されてから、所定時間後に前記第2のスピーカーから前記警報音を出力させる、
請求項5に記載の車両用警報装置。
【請求項8】
前記プロセッサは、検出された前記障害物の位置が移動している場合に、前記障害物が移動した位置に対応する箇所に設置された前記第1のスピーカーから前記警報音を出力させる出力指示を前記車載音響装置に送信する、
請求項5に記載の車両用警報装置。
【請求項9】
車両に搭載された複数の第1のスピーカーを制御して、コンテンツの音を出力させる車載音響装置と通信可能なインターフェースと、前記第1のスピーカーのうちの一部のスピーカーを制御して前記車両内の乗員に警報音を出力させるプロセッサとを有する車両用警報装置であって、
前記プロセッサは、
前記警報音を前記第1のスピーカーに出力させる出力処理と、
前記警報音を前記第1のスピーカーのうちの一部のスピーカーに出力させる際に、前記第1のスピーカーのうちの前記一部のスピーカーを除く他のスピーカーからも前記警報音を出力させる出力指示を前記インターフェースを介して前記車載音響装置に送信する、
車両用警報装置。
【請求項10】
車両に搭載された第1のスピーカー及び第2のスピーカーと、
前記第1のスピーカーを制御して、コンテンツの音を出力させる車載音響装置と、
前記第2のスピーカーを制御して、前記車両内の乗員に警報音を出力させる車両用警報装置と、を備え、
前記車両用警報装置は、
前記警報音を前記第2のスピーカーに出力させる出力処理と、
前記警報音を前記第2のスピーカーに出力させる際に、前記第1のスピーカーからも前記警報音を出力させる出力指示を前記車載音響装置に送信する送信処理と、を実行し、
前記車載音響装置は、
前記出力指示を前記車両用警報装置から受けると、前記警報音を前記第1のスピーカーに出力させる、
車両用警報システム。
(【請求項11】以降は省略されています)
発明の詳細な説明
【技術分野】
【0001】
本発明は、車両用警報装置、車両用警報システム及びメータユニットに関する。
続きを表示(約 2,100 文字)
【背景技術】
【0002】
車両内には、スピーカーが設置されることが多い。特許文献1では、スピーカーから音を出力する際に先行音効果を利用することで特定の方向に音源が存在するように錯覚させる技術が提案されている。
【先行技術文献】
【特許文献】
【0003】
特開平10-224888号公報
【発明の概要】
【発明が解決しようとする課題】
【0004】
近年、他の車両や人等の障害物に接近した場合等の危険検知時において、運転手に警報音を発する先進運転支援システム(ADAS)が車両に搭載されている。ADASにおける警報音は、警報が必要なタイミングで確実に警報音を出力できるようにするため、保安部品であるメータに内蔵された放音装置から出力させる場合が多い。しかしながら、メータの放音装置では口径や入力電力が小さいため、人の声によるアナウンス等を自然な音で出力できない課題があった。
【0005】
開示の技術の1つの側面は、警報が必要なタイミングで確実に警報音を出力できるようにしつつ、アナウンス等を自然な音で出力できる車両用警報装置、車両用警報システム及びメータユニットを提供することを目的とする。
【課題を解決するための手段】
【0006】
開示の技術の1つの側面は、次のような車両用警報装置によって例示される。本車両用警報装置は、車両に搭載された第1のスピーカーを制御して、コンテンツの音を出力させる車載音響装置と通信可能なインターフェースと、上記車両に搭載された第2のスピーカーを制御して、上記車両内の乗員に警報音を出力させるプロセッサと、を有する車両用警報装置である。上記プロセッサは、上記警報音を上記第2のスピーカーに出力させる際に、上記第1のスピーカーからも上記警報音を出力させる出力指示を上記インターフェースを介して上記車載音響装置に送信する。
【発明の効果】
【0007】
開示の技術によれば、メータに内蔵された放音装置から警報音を出力するとともに、車載音響装置のスピーカーからも警報音を出力するので、警報が必要なタイミングで確実に警報音を出力できるうえ、アナウンス等を自然な音で出力できる。
【図面の簡単な説明】
【0008】
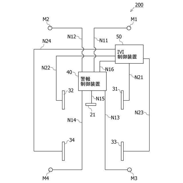
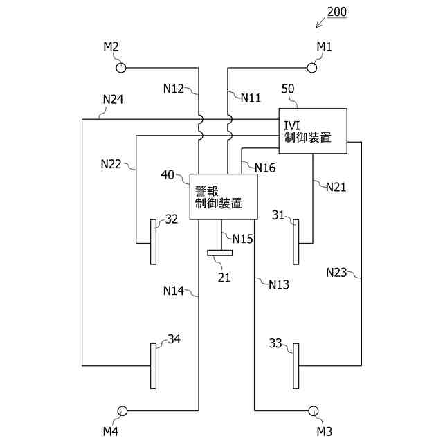
図1は、実施形態に係る車両の一例を示す図である。
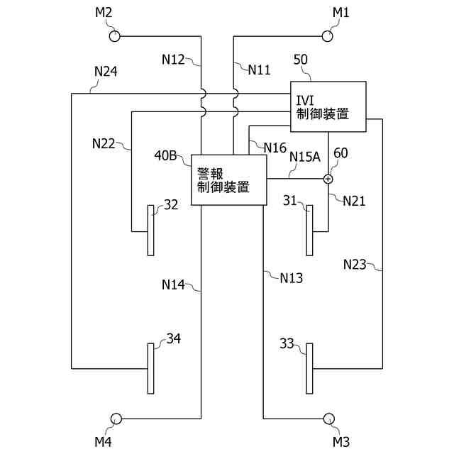
図2は、実施形態における、警報音用スピーカー、前部右スピーカー、前部左スピーカー、後部右スピーカー、後部左スピーカーの接続の一例を示す図である。
図3は、実施形態に係る警報制御装置のハードウェア構成の一例を示す図である。
図4は、実施形態に係る警報制御装置の処理ブロックの一例を示す図である。
図5は、実施形態に係る警報制御装置の処理フローの一例である。
図6は、第1変形例に係る警報制御装置の処理ブロックの一例を示す図である。
図7は、第1変形例に係る警報制御装置の処理フローの一例である。
図8は、第1変形例における警報音用スピーカーとIVIスピーカーの出力タイミングを例示する図である。
図9は、第2変形例における、前部右スピーカー、前部左スピーカー、後部右スピーカー、後部左スピーカーの接続の一例を示す図である。
図10は、第2変形例に係る警報制御装置の処理ブロックの一例を示す図である。
図11は、第2変形例に係る警報制御装置の処理フローの一例を示す図である。
【発明を実施するための形態】
【0009】
<実施形態>
以下、図面を参照して実施形態について説明する。図1は、実施形態に係る車両100の一例を示す図である。図1は、車両100を上方から見た図である。また、図1は、車両100の車内を説明するため、天井の図示を省略している。車両100は、例えば、乗用車である。車両100は、車両100の右前隅に配置されて右前方の障害物を検知する障害物センサM1、車両100の左前隅に配置されて左前方の障害物を検知する障害物センサM2、車両100の右後隅に配置されて右後方の障害物を検知する障害物センサM3及び車両100の左後隅に配置されて左後方の障害物を検知する障害物センサM4を備える。すなわち、障害物センサM1、M2、M3、M4の夫々は、車両100の四隅に配置される。
【0010】
また、車両100は、乗員用の座席として、運転席1、助手席2、右後部座席3、中央後部座席4及び左後部座席5を備える。運転席1及び助手席2は、車両100の幅方向に沿って一列に配置される。また、右後部座席3、中央後部座席4及び左後部座席5は、運転席1及び助手席2の後方において、車両100の幅方向に沿って一列に配置される。運転席1及び助手席2の前方には、ダッシュボード10が配置される。
(【0011】以降は省略されています)
この特許をJ-PlatPat(特許庁公式サイト)で参照する
関連特許
株式会社デンソーテン
車載表示装置
22日前
株式会社デンソーテン
アンテナアンプ及びアンテナ装置
17日前
株式会社デンソーテン
貼り合わせ装置および貼り合わせ方法
1日前
株式会社デンソーテン
電源制御装置および電源制御プログラム
9日前
株式会社デンソーテン
電源制御装置および電源制御プログラム
15日前
株式会社デンソーテン
車両制御装置、車両制御方法および車両
1か月前
株式会社デンソーテン
通信装置、通信方法、及び通信プログラム
15日前
株式会社デンソーテン
車両制御装置、車両、および、異常検知方法
1日前
株式会社デンソーテン
受信機、受信システム、受信方法およびプログラム
15日前
株式会社デンソーテン
検知装置、検知方法、プログラム及び検知システム
1日前
株式会社デンソーテン
電池監視システム、電池監視装置および電圧計測装置
9日前
株式会社デンソーテン
車両検知装置、車両検知方法、及び車両検知プログラム
1日前
株式会社ABAL
画像投影システム及び画像投影方法
9日前
株式会社デンソーテン
車載器、車載器の取り付け機構、および車載器の取り付け方法
1か月前
株式会社デンソーテン
学習方法、学習装置、学習プログラム、および、学習データ生成方法
1日前
株式会社デンソーテン
感情推定装置、感情推定方法、感情推定プログラムおよび感情推定システム
1日前
株式会社デンソーテン
情報通知装置、情報通知プログラム、情報通知方法、および情報通知システム
15日前
株式会社デンソーテン
車両運転支援装置、車両運転支援方法、車両運転支援プログラム及び車両運転支援システム
9日前
株式会社デンソーテン
情報処理装置、情報処理方法、情報処理プログラム、感情推定装置、及び運転支援システム
1日前
個人
イヤーピース
22日前
個人
イヤーマフ
1か月前
個人
監視カメラシステム
1か月前
個人
スイッチシステム
1か月前
キーコム株式会社
光伝送線路
1か月前
個人
スキャン式車載用撮像装置
1か月前
サクサ株式会社
中継装置
1か月前
サクサ株式会社
中継装置
1か月前
WHISMR合同会社
収音装置
2か月前
アイホン株式会社
電気機器
2か月前
キヤノン株式会社
撮像装置
3か月前
キヤノン株式会社
撮像装置
1日前
サクサ株式会社
無線通信装置
1か月前
個人
映像表示装置、及びARグラス
1か月前
キヤノン電子株式会社
画像読取装置
1か月前
株式会社リコー
画像形成装置
1か月前
キヤノン電子株式会社
画像読取装置
1か月前
続きを見る
他の特許を見る