TOP
|
特許
|
意匠
|
商標
特許ウォッチ
Twitter
他の特許を見る
公開番号
2025130488
公報種別
公開特許公報(A)
公開日
2025-09-08
出願番号
2024027679
出願日
2024-02-27
発明の名称
写真シール作成機
出願人
株式会社セガ
代理人
個人
,
個人
主分類
H04N
5/222 20060101AFI20250901BHJP(電気通信技術)
要約
【課題】ユーザビリティ低下の抑制を図ることができる写真シール作成機を提供する。
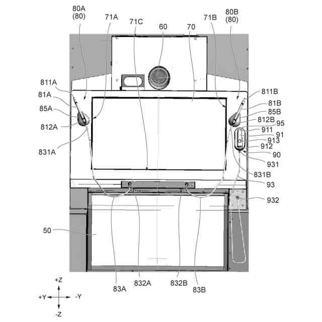
【解決手段】写真シール作成機1は、筐体10と、撮像装置60と、表示装置70と、表示装置70の側方領域71Bに着脱可能に配置される第1有線デバイス80B及び第2有線デバイス90と、を備え、第1有線デバイス80Bは、第1操作部81Bと、第1先端部831B及び第1基端部832Bを有する第1ワイヤ83Bと、第1台座部85Bと、を有し、第2有線デバイス90は、第2操作部91と、第2ワイヤ93と、第2台座部95と、を有し、第1台座部85Bは、第1操作部81Bを一定の姿勢で保持し、第2台座部95は、第2操作部91を一定の姿勢で保持し、第1操作部81Bが第1台座部85Bに取り付けられているときの第1先端部831Bは、第2台座部95に取り付けられている第2操作部91よりも表示装置70寄りに配置される。
【選択図】図4
特許請求の範囲
【請求項1】
筐体と、
前記筐体の撮像空間における被写体を撮像する撮像装置と、
前記筐体の前記撮像空間側に設けられ、前記撮像装置によって撮像された画像を表示する表示装置と、
前記表示装置の側方領域に着脱可能に配置される第1有線デバイス及び第2有線デバイスと、
を備え、
前記第1有線デバイスは、第1操作部と、前記第1操作部に接続された第1先端部及び前記表示装置の下方領域の中央部に接続された第1基端部を有する第1ワイヤと、前記第1操作部が着脱される第1台座部と、を有し、
前記第2有線デバイスは、第2操作部と、前記第2操作部に接続された第2ワイヤと、前記第2操作部が着脱される第2台座部と、を有し、
前記第1台座部は、前記第1操作部を一定の姿勢で保持するように構成され、
前記第2台座部は、前記第2操作部を一定の姿勢で保持するように構成され、
前記第1操作部が前記第1台座部に取り付けられているときの前記第1先端部は、前記第2台座部に取り付けられている前記第2操作部よりも前記表示装置寄りに配置される、
写真シール作成機。
続きを表示(約 970 文字)
【請求項2】
前記第1台座部は、前記第2台座部の上方に配置されている、
請求項1に記載の写真シール作成機。
【請求項3】
前記第1操作部は、棒状の形態を有するとともに、前記第1ワイヤに接続された第1下端部と、開放された第1上端部と、を有し、
前記第1操作部の前記第1下端部が前記第1上端部よりも前記表示装置寄りになるように傾斜した状態で、前記第1操作部は前記第1台座部に取り付けられる、
請求項1に記載の写真シール作成機。
【請求項4】
前記第2操作部は、前記第2ワイヤに接続された第2下端部と、開放された第2上端部と、を有し、
前記第2操作部の前記第2下端部及び前記第2上端部のそれぞれの前記表示装置からの距離が同等になる状態で、前記第2操作部は前記第2台座部に取り付けられる、
請求項1に記載の写真シール作成機。
【請求項5】
前記第2ワイヤは、前記第2操作部に接続された第2先端部と、前記表示装置の前記下方領域に接続された第2基端部と、を有し、
前記第1基端部は、前記第2基端部よりも前記表示装置寄りに配置されている、
請求項1に記載の写真シール作成機。
【請求項6】
前記第1基端部は、前記表示装置の直下に配置され、
前記第2基端部は、前記側方領域の直下に配置されている、
請求項5に記載の写真シール作成機。
【請求項7】
前記第1操作部は、前記表示装置に表示された撮像画像を編集するためのタッチペンであり、
前記第2操作部は、前記撮像装置の撮像タイミングを指示するためのレリーズである、
請求項1から6のいずれか一項に記載の写真シール作成機。
【請求項8】
前記タッチペンは、前記表示装置の左右側方領域に配置されており、
前記レリーズは、前記表示装置の前記左右側方領域の少なくとも一方に配置されている、
請求項7に記載の写真シール作成機。
【請求項9】
前記レリーズのボタンの表面の高さは、前記レリーズの前記ボタン周辺の表面の高さと同じかそれより低い、
請求項7に記載の写真シール作成機。
発明の詳細な説明
【技術分野】
【0001】
本発明は、写真シール作成機に関する。
続きを表示(約 1,400 文字)
【背景技術】
【0002】
ゲームセンタなどの娯楽施設において、被写体を撮像し、撮像画像に予め用意されたフレーム画像や手書きの入力画像などを合成する編集を行い、編集された画像をシール紙に印刷して提供する写真シール作成機が知られている。
【0003】
例えば、特許文献1には、撮影空間と、撮影空間に隣接する編集空間と、を備えた写真シール作成装置が開示さている。当該写真シール作成装置において、撮影空間には被写体を撮影する撮影手段が設けられ、編集空間には撮影画像を編集するための編集ユニットが設けられている。当該編集ユニットは、撮影画像を表示する編集表示部と、編集ユニットに着脱可能に固定された編集作業を行うためのタッチペンと、を有している。
【先行技術文献】
【特許文献】
【0004】
特許第4595874号公報
【発明の概要】
【発明が解決しようとする課題】
【0005】
ところで、特許文献1に記載されたような写真シール作成装置において、タッチペンなどの複数のデバイスが有線接続されている場合、ユーザ間でのデバイスの受け渡しなどによって各デバイスを接続するワイヤが絡まり、ユーザビリティが低下する場合がある。
【0006】
本発明は、このような事情に鑑みてなされたものであり、ユーザビリティ低下の抑制を図ることができる写真シール作成機を提供することを目的とする。
【課題を解決するための手段】
【0007】
本発明の第一の態様に係る写真シール作成機は、筐体と、筐体の撮像空間における被写体を撮像する撮像装置と、筐体の撮像空間側に設けられ、撮像装置によって撮像された画像を撮像空間に表示する表示装置と、表示装置の側方領域に着脱可能に配置される第1有線デバイス及び第2有線デバイスと、を備え、第1有線デバイスは、第1操作部と、第1操作部に接続された第1先端部及び表示装置の下方領域の中央部に接続された第1基端部を有する第1ワイヤと、第1操作部が着脱される第1台座部と、を有し、第2有線デバイスは、第2操作部と、第2操作部に接続された第2ワイヤと、第2操作部が着脱される第2台座部と、を有し、第1台座部は、第1操作部を一定の姿勢で保持するように構成され、第2台座部は、第2操作部を一定の姿勢で保持するように構成され、第1操作部が第1台座部に取り付けられているときの第1先端部は、第2台座部に取り付けられている第2操作部よりも表示装置寄りに配置される。
【0008】
この態様によれば、第1操作部及び第2操作部の受け渡し時、第1操作部の第1台座部に対する取り付け時や取り外し時、及び、第2操作部の第2台座部に対する取り付け時や取り外し時、などにおける第1ワイヤと第2ワイヤとの絡まりの発生を抑制し、ユーザビリティ低下を抑制することができる。
【0009】
上記の一態様において、第1台座部は、第2台座部の上方に配置されてもよい。
【0010】
この態様によれば、第1台座部と第2台座部とを横に並べて配置する場合に比べて、表示装置の側方領域を狭くすることができる。従って、筐体内に占める側方領域の面積を低減させることができるため、写真シール作成機の小型化を実現させることができる。
(【0011】以降は省略されています)
特許ウォッチbot のツイートを見る
この特許をJ-PlatPat(特許庁公式サイト)で参照する
関連特許
株式会社セガ
景品取得ゲーム装置
1日前
株式会社セガフェイブ
装身具及びカチューシャ
29日前
株式会社セガ
プログラム及び情報処理装置
1か月前
株式会社セガ
プログラム及び情報処理装置
28日前
株式会社セガ
プログラム及び情報処理装置
28日前
株式会社セガ
プログラム及び情報処理装置
28日前
株式会社セガ
プログラム及び情報処理装置
1か月前
株式会社セガ
プログラム及び情報処理装置
28日前
株式会社セガ
プログラム及び情報処理装置
1か月前
株式会社セガ
プログラム及び情報処理装置
今日
株式会社セガ
プログラム、及び、情報処理装置
28日前
株式会社セガ
プログラム、及び、情報処理装置
28日前
株式会社セガ
プログラム、及び、情報処理装置
28日前
株式会社セガ
店舗管理システム、管理者端末、及び作業者端末
1か月前
株式会社セガ
情報処理装置
14日前
株式会社セガ
情報処理装置
14日前
株式会社セガ
情報処理装置
14日前
株式会社セガ
画像処理装置
1か月前
株式会社セガ
メダルゲーム機
1か月前
株式会社セガ
景品取得ゲーム装置
16日前
株式会社セガ
景品取得ゲーム装置
16日前
株式会社セガ
プログラム及び情報処理装置
1か月前
株式会社セガ
プログラム及び情報処理装置
1か月前
株式会社セガ
プログラム及び情報処理装置
今日
株式会社セガ
プログラム及び情報処理装置
今日
株式会社セガ
プログラム及び情報処理装置
24日前
株式会社セガ
プログラム及び情報処理装置
24日前
株式会社セガ
プログラム及び情報処理装置
21日前
株式会社セガ
プログラム及び情報処理装置
24日前
株式会社セガ
プログラム、及び、情報処理装置
24日前
株式会社セガ
プログラム、情報処理装置、及び情報処理方法
1日前
株式会社セガ
プログラム、情報処理装置、及び情報処理方法
1日前
株式会社ダーツライブ
ゲームシステム、ゲーム装置、及びプログラム
10日前
個人
イヤーピース
今日
個人
イヤーマフ
14日前
個人
監視カメラシステム
23日前
続きを見る
他の特許を見る