TOP
|
特許
|
意匠
|
商標
特許ウォッチ
Twitter
他の特許を見る
10個以上の画像は省略されています。
公開番号
2025166394
公報種別
公開特許公報(A)
公開日
2025-11-06
出願番号
2024070394
出願日
2024-04-24
発明の名称
景品取得ゲーム装置
出願人
株式会社セガ
代理人
個人
,
個人
主分類
A63F
9/30 20060101AFI20251029BHJP(スポーツ;ゲーム;娯楽)
要約
【課題】落下口領域の形状を容易に変更することができる景品取得ゲーム装置を提供すること。
【解決手段】景品取得ゲーム装置1は、収容部10の収容空間に設けられた載置部60上の景品を落下口領域72から落下させることで景品を取得するゲームを遊戯者にプレイさせるものであって、載置板64,65の引出位置を変えて載置部60の形状を変更させることで落下口領域72の形状を調整可能になっており、載置部60の少なくとも一部は、分割された複数の載置板64,65から構成され、複数の載置板64,65は、それぞれ略水平方向にスライド移動可能に設けられている。
【選択図】図17
特許請求の範囲
【請求項1】
収容空間に設けられた載置部上の景品を落下口領域から落下させることで景品を取得するゲームを遊戯者にプレイさせる景品取得ゲーム装置であって、
前記載置部の形状を変更させることで前記落下口領域の形状を調整可能になっており、
前記載置部の少なくとも一部は、分割された複数の載置板から構成され、
前記複数の載置板は、それぞれ略水平方向に移動可能に設けられていることを特徴とする景品取得ゲーム装置。
続きを表示(約 640 文字)
【請求項2】
前記載置部は、後方に配置された固定載置部を備えており、
前記複数の載置板は、前記固定載置部に対してそれぞれ前後方向に移動可能に設けられていることを特徴とする請求項1に記載の景品取得ゲーム装置。
【請求項3】
前記複数の載置板は、少なくとも一部が前記固定載置部の下方に収納可能であることを特徴とする請求項2に記載の景品取得ゲーム装置。
【請求項4】
前記固定載置部の下方には、前記載置板を略水平方向に移動可能に案内する案内部が設けられていることを特徴とする請求項3に記載の景品取得ゲーム装置。
【請求項5】
前記載置部の左右側に前方に延びて前記載置板を案内する案内面が設けられていることを特徴とする請求項4に記載の景品取得ゲーム装置。
【請求項6】
前記載置板の側方に前記案内部に案内される被案内部が形成され、前記載置板には、前記被案内部を側面から被覆する被覆部が設けられていることを特徴とする請求項4または5に記載の景品取得ゲーム装置。
【請求項7】
前記載置板には、前記被案内部を前面から被覆する前面被覆部が設けられていることを特徴とする請求項6に記載の景品取得ゲーム装置。
【請求項8】
前記複数の載置板のうち隣り合う一方の載置板には、隣り合う他方の載置板を支持する支持部が形成されていることを特徴とする請求項1に記載の景品取得ゲーム装置。
発明の詳細な説明
【技術分野】
【0001】
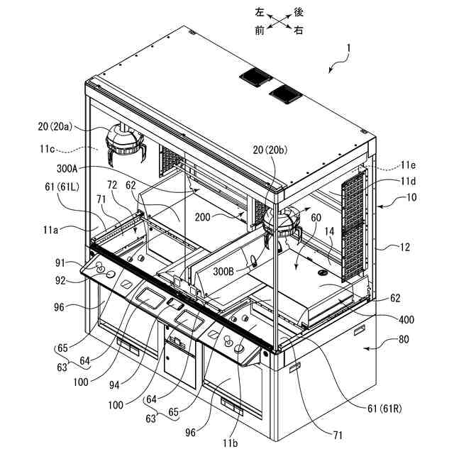
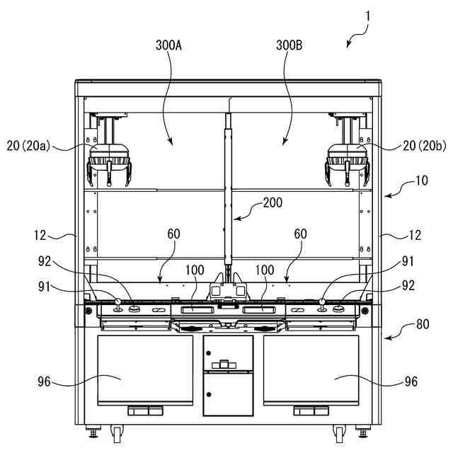
本発明は、収容空間に設けられた載置部上の景品を落下口領域から落下させることで景品を取得するゲームを遊戯者にプレイさせる景品取得ゲーム装置に関する。
続きを表示(約 1,400 文字)
【背景技術】
【0002】
この種の景品取得ゲーム装置として、景品を収容する収容空間内で景品取得部を移動させて、載置部上の景品を落下口領域から落下させることで景品を取得するゲームを遊戯者にプレイさせるものが種々存在する(例えば、特許文献1、2参照)。
【先行技術文献】
【特許文献】
【0003】
特許第7075576号公報
特許第7298793号公報
【発明の概要】
【発明が解決しようとする課題】
【0004】
上記特許文献1、2に記載の景品取得ゲーム装置では、前方に開口領域を形成するように第1景品載置部を配置し、開口領域の一部を塞いで景品を落下させる落下口領域を形成するように第2景品載置部を配置しており、第2景品載置部を配置する方向を変更することで、落下口領域の形状を変更できるようになっている。
【0005】
しかしながら、上記特許文献1、2に記載の景品取得ゲーム装置では、落下口領域の形状を変更するに際して、第2景品載置部を一度取外し、取付方向を変えて再度取付ける必要があり、大がかりな作業を要するものであった。
【0006】
本発明は、落下口領域の形状を容易に変更することができる景品取得ゲーム装置を提供することを目的とする。
【課題を解決するための手段】
【0007】
上記課題を解決するために、本発明の景品取得ゲーム装置は、
収容空間に設けられた載置部上の景品を落下口領域から落下させることで景品を取得するゲームを遊戯者にプレイさせる景品取得ゲーム装置であって、
前記載置部の形状を変更させることで前記落下口領域の形状を調整可能になっており、
前記載置部の少なくとも一部は、分割された複数の載置板から構成され、
前記複数の載置板は、それぞれ略水平方向に移動可能に設けられていることを特徴としている。
この特徴によれば、載置部の少なくとも一部が分割された複数の載置板から構成され、複数の載置板がそれぞれ略水平方向に移動可能に設けられており、複数の載置板をそれぞれ略水平方向に移動させて任意の位置に配置することにより、容易に落下口領域の形状を変更することができる。
【0008】
本発明の景品取得ゲーム装置は、
前記載置部は、後方に配置された固定載置部を備えており、
前記複数の載置板は、前記固定載置部に対してそれぞれ前後方向に移動可能に設けられていることを特徴としている。
この特徴によれば、固定載置部の前方に形成された落下口領域の形状を調整することができる。
【0009】
本発明の景品取得ゲーム装置は、
前記複数の載置板は、少なくとも一部が前記固定載置部の下方に収納可能であることを特徴としている。
この特徴によれば、複数の載置板を、固定載置部上の景品の邪魔にならぬように収納することができる。
【0010】
本発明の景品取得ゲーム装置は、
前記固定載置部の下方には、前記載置板を略水平方向に移動可能に案内する案内部が設けられていることを特徴としている。
この特徴によれば、載置板の水平移動を安定して支持できるとともに、案内部が固定載置部上面から露呈しないため、見栄えが良くなる。
(【0011】以降は省略されています)
特許ウォッチbot のツイートを見る
この特許をJ-PlatPat(特許庁公式サイト)で参照する
関連特許
株式会社セガ
景品取得ゲーム装置
1か月前
株式会社セガ
景品取得ゲーム装置
19日前
株式会社セガフェイブ
装身具及びカチューシャ
2か月前
株式会社セガ
プログラム及び情報処理装置
今日
株式会社セガ
プログラム及び情報処理装置
今日
株式会社セガ
プログラム及び情報処理装置
2か月前
株式会社セガ
プログラム及び情報処理装置
2か月前
株式会社セガ
プログラム及び情報処理装置
2か月前
株式会社セガ
プログラム及び情報処理装置
2か月前
株式会社セガ
プログラム及び情報処理装置
1か月前
株式会社セガ
プログラム、及び、情報処理装置
2か月前
株式会社セガ
プログラム、及び、情報処理装置
2か月前
株式会社セガ
プログラム、及び、情報処理装置
2か月前
株式会社セガ
店舗管理システム、管理者端末、及び作業者端末
2か月前
株式会社セガ
情報処理装置
1か月前
株式会社セガ
情報処理装置
1か月前
株式会社セガ
情報処理装置
1か月前
株式会社セガ
景品取得ゲーム装置
1か月前
株式会社セガ
景品取得ゲーム装置
1か月前
株式会社セガ
プログラム及び情報処理装置
1か月前
株式会社セガ
プログラム及び情報処理装置
2か月前
株式会社セガ
プログラム及び情報処理装置
11日前
株式会社セガ
プログラム及び情報処理装置
25日前
株式会社セガ
プログラム及び情報処理装置
1か月前
株式会社セガ
プログラム及び情報処理装置
今日
株式会社セガ
プログラム及び情報処理装置
1か月前
株式会社セガ
プログラム及び情報処理装置
1か月前
株式会社セガ
プログラム及び情報処理装置
1か月前
株式会社セガ
プログラム及び情報処理装置
1か月前
株式会社セガ
プログラム及び情報処理装置
今日
株式会社セガ
商品販売装置及び商品販売方法
21日前
株式会社セガ
プログラム、及び、情報処理装置
1か月前
株式会社セガ
プログラム、情報処理装置、及び情報処理方法
1か月前
株式会社セガ
プログラム、情報処理装置、及び情報処理方法
25日前
株式会社セガ
プログラム、情報処理装置、及び情報処理方法
1か月前
株式会社ダーツライブ
ゲームシステム、ゲーム装置、及びプログラム
1か月前
続きを見る
他の特許を見る