TOP
|
特許
|
意匠
|
商標
特許ウォッチ
Twitter
他の特許を見る
10個以上の画像は省略されています。
公開番号
2025148494
公報種別
公開特許公報(A)
公開日
2025-10-07
出願番号
2025117667,2023048981
出願日
2025-07-11,2023-03-24
発明の名称
プログラム及び情報処理装置
出願人
株式会社セガ
代理人
個人
主分類
A63F
13/69 20140101AFI20250930BHJP(スポーツ;ゲーム;娯楽)
要約
【課題】ユーザに有利な抽選ゲームを優先的にプレイさせる。
【解決手段】本発明は、コンピュータを、複数種類の抽選ゲームの中からユーザが選択した抽選ゲームよりも前記ユーザにとって有利な他の抽選ゲームを、前記ユーザが既にプレイしたか否かを判定する判定手段、未だプレイしていないと判定された場合、選択された前記抽選ゲームを前記ユーザがプレイすることを制限する制限手段、として機能させるプログラムである。
【選択図】図9
特許請求の範囲
【請求項1】
コンピュータを、
複数種類の抽選ゲームの中からユーザが選択した抽選ゲームよりも前記ユーザにとって有利な他の抽選ゲームを、前記ユーザが既にプレイしたか否かを判定する判定手段、
未だプレイしていないと判定された場合、選択された前記抽選ゲームを前記ユーザがプレイすることを制限する制限手段、
として機能させるプログラム。
続きを表示(約 1,100 文字)
【請求項2】
未だプレイしていないと判定された場合、前記他の抽選ゲームをプレイすべきことを前記ユーザに通知するゲーム画面を表示させる表示制御手段、
として機能させる請求項1に記載のプログラム。
【請求項3】
未だプレイしていないと判定された場合、前記他の抽選ゲームを前記ユーザにプレイさせるためのゲーム画面を表示させる表示制御手段、
として機能させる請求項1又は2に記載のプログラム。
【請求項4】
コンピュータを、
複数種類の抽選ゲームの中からユーザが選択した抽選ゲームよりも前記ユーザにとって有利な他の抽選ゲームを、前記ユーザが既にプレイしたか否かを判定する判定手段、
未だプレイしていないと判定された場合、前記他の抽選ゲームをプレイすべきことを前記ユーザに通知するゲーム画面を表示させる表示制御手段、
として機能させるプログラム。
【請求項5】
コンピュータを、
複数種類の抽選ゲームの中からユーザが選択した抽選ゲームよりも前記ユーザにとって有利な他の抽選ゲームを、前記ユーザが既にプレイしたか否かを判定する判定手段、
未だプレイしていないと判定された場合、前記他の抽選ゲームを前記ユーザにプレイさせるためのゲーム画面を表示させる表示制御手段、
として機能させるプログラム。
【請求項6】
複数種類の抽選ゲームの中からユーザが選択した抽選ゲームよりも前記ユーザにとって有利な他の抽選ゲームを、前記ユーザが既にプレイしたか否かを判定する判定部と、
未だプレイしていないと判定された場合、選択された前記抽選ゲームを前記ユーザがプレイすることを制限する制限部と、
を備える情報処理装置。
【請求項7】
複数種類の抽選ゲームの中からユーザが選択した抽選ゲームよりも前記ユーザにとって有利な他の抽選ゲームを、前記ユーザが既にプレイしたか否かを判定する判定部と、
未だプレイしていないと判定された場合、前記他の抽選ゲームをプレイすべきことを前記ユーザに通知するゲーム画面を表示させる表示制御部と、
を備える情報処理装置。
【請求項8】
複数種類の抽選ゲームの中からユーザが選択した抽選ゲームよりも前記ユーザにとって有利な他の抽選ゲームを、前記ユーザが既にプレイしたか否かを判定する判定部と、
未だプレイしていないと判定された場合、前記他の抽選ゲームを前記ユーザにプレイさせるためのゲーム画面を表示させる表示制御部と、
を備える情報処理装置。
発明の詳細な説明
【技術分野】
【0001】
本発明は、プログラム及び情報処理装置に関する。
続きを表示(約 2,000 文字)
【背景技術】
【0002】
複数のアイテムコンテンツ(例えば、キャラクタ)の中から抽選されたアイテムコンテンツをユーザに付与する抽選ゲームを実行する情報処理装置が知られている(たとえば、特許文献1)。
【先行技術文献】
【特許文献】
【0003】
特開2017-56209号公報
【発明の概要】
【発明が解決しようとする課題】
【0004】
プレイ可能な複数種類の抽選ゲームが用意されている場合に、抽選ゲームの選択肢が多数あることで、ユーザは自分にとって有利となる抽選ゲームに気づかず、その他の抽選ゲームを選択してプレイしてしまうことがあった。
【0005】
本発明は、このような事情に鑑みてなされたものであり、その目的とするところは、ユーザに有利な抽選ゲームを優先的にプレイさせることにある。
【課題を解決するための手段】
【0006】
上記課題を解決するための本発明の主たる発明は、
コンピュータを、
複数種類の抽選ゲームの中からユーザが選択した抽選ゲームよりも前記ユーザにとって有利な他の抽選ゲームを、前記ユーザが既にプレイしたか否かを判定する判定手段、
未だプレイしていないと判定された場合、選択された前記抽選ゲームを前記ユーザがプレイすることを制限する制限手段、
として機能させるプログラムである。
本発明の他の特徴については、本明細書及び添付図面の記載により明らかにする。
【図面の簡単な説明】
【0007】
本実施形態に係る情報処理システム1の一例を示す構成図である。
本実施形態に係るコンピュータ50の一例を示すハードウェア構成図である。
本実施形態に係るサーバー装置20の一例を示す機能ブロック図である。
本実施形態に係るキャラクタ情報の一例を示す構成図である。
本実施形態に係る抽選ゲーム情報の一例を示す構成図である。
本実施形態に係る対戦ゲーム情報の一例を示す構成図である。
本実施形態に係るユーザ情報の一例を示す構成図である。
本実施形態に係るクライアント端末10の一例を示す機能ブロック図である。
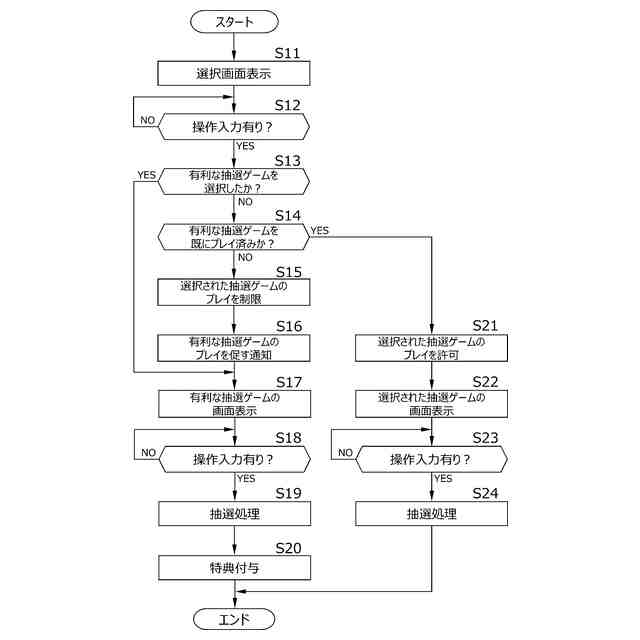
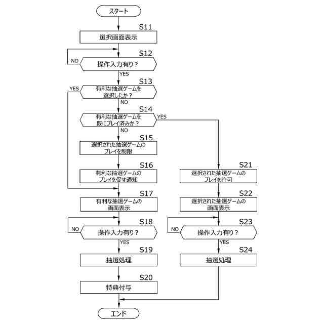
本実施形態における抽選ゲームに関する動作例を示すフローチャートである。
本実施形態における抽選ゲーム選択画面500の構成例を示す図である。
本実施形態における制限付きの抽選ゲーム画面550の構成例を示す図である。
本実施形態におけるメッセージ付きの抽選ゲーム画面570の構成例を示す図である。
本実施形態におけるユーザにとって有利な抽選ゲームの抽選ゲーム画面600の構成例を示す図である。
本実施形態における抽選ゲーム画面650の構成例を示す図である。
【発明を実施するための形態】
【0008】
本明細書及び添付図面の記載により、少なくとも以下の事項が明らかとなる。
即ち、コンピュータを、
複数種類の抽選ゲームの中からユーザが選択した抽選ゲームよりも前記ユーザにとって有利な他の抽選ゲームを、前記ユーザが既にプレイしたか否かを判定する判定手段、
未だプレイしていないと判定された場合、選択された前記抽選ゲームを前記ユーザがプレイすることを制限する制限手段、
として機能させるプログラムである。
このようなプログラムによれば、ユーザにとって有利な抽選ゲームをプレイし終えるまでそれ以外の抽選ゲームをプレイできないように制限することで、プレイ可能な抽選ゲームの選択肢が多数あったとしても、ユーザに有利な抽選ゲームを優先的にプレイさせることができる。
【0009】
また、かかるプログラムであって、
未だプレイしていないと判定された場合、前記他の抽選ゲームをプレイすべきことを前記ユーザに通知するゲーム画面を表示させる表示制御手段、
として機能させることとしてもよい。
このようなプログラムによれば、自分にとって有利な抽選ゲームを未だプレイしていないユーザが、その有利な抽選ゲームを優先的にプレイしやすくなる。
【0010】
また、かかるプログラムであって、
未だプレイしていないと判定された場合、前記他の抽選ゲームを前記ユーザにプレイさせるためのゲーム画面を表示させる表示制御手段、
として機能させることとしてもよい。
このようなプログラムによれば、自分にとって有利な抽選ゲームを未だプレイしていないユーザが、その有利な抽選ゲームを優先的にプレイしやすくなる。
(【0011】以降は省略されています)
この特許をJ-PlatPat(特許庁公式サイト)で参照する
関連特許
株式会社セガ
景品取得ゲーム装置
1か月前
株式会社セガ
景品取得ゲーム装置
20日前
株式会社セガフェイブ
装身具及びカチューシャ
2か月前
株式会社セガ
プログラム及び情報処理装置
1日前
株式会社セガ
プログラム及び情報処理装置
1日前
株式会社セガ
プログラム及び情報処理装置
2か月前
株式会社セガ
プログラム及び情報処理装置
2か月前
株式会社セガ
プログラム及び情報処理装置
2か月前
株式会社セガ
プログラム及び情報処理装置
2か月前
株式会社セガ
プログラム及び情報処理装置
1か月前
株式会社セガ
プログラム、及び、情報処理装置
2か月前
株式会社セガ
プログラム、及び、情報処理装置
2か月前
株式会社セガ
プログラム、及び、情報処理装置
2か月前
株式会社セガ
店舗管理システム、管理者端末、及び作業者端末
2か月前
株式会社セガ
情報処理装置
1か月前
株式会社セガ
情報処理装置
1か月前
株式会社セガ
情報処理装置
1か月前
株式会社セガ
景品取得ゲーム装置
1か月前
株式会社セガ
景品取得ゲーム装置
1か月前
株式会社セガ
プログラム及び情報処理装置
1か月前
株式会社セガ
プログラム及び情報処理装置
2か月前
株式会社セガ
プログラム及び情報処理装置
12日前
株式会社セガ
プログラム及び情報処理装置
26日前
株式会社セガ
プログラム及び情報処理装置
1か月前
株式会社セガ
プログラム及び情報処理装置
1日前
株式会社セガ
プログラム及び情報処理装置
1か月前
株式会社セガ
プログラム及び情報処理装置
1か月前
株式会社セガ
プログラム及び情報処理装置
1か月前
株式会社セガ
プログラム及び情報処理装置
1か月前
株式会社セガ
プログラム及び情報処理装置
1日前
株式会社セガ
商品販売装置及び商品販売方法
22日前
株式会社セガ
プログラム、及び、情報処理装置
1か月前
株式会社セガ
プログラム、情報処理装置、及び情報処理方法
1か月前
株式会社セガ
プログラム、情報処理装置、及び情報処理方法
26日前
株式会社セガ
プログラム、情報処理装置、及び情報処理方法
1か月前
株式会社ダーツライブ
ゲームシステム、ゲーム装置、及びプログラム
1か月前
続きを見る
他の特許を見る