TOP
|
特許
|
意匠
|
商標
特許ウォッチ
Twitter
他の特許を見る
10個以上の画像は省略されています。
公開番号
2025159034
公報種別
公開特許公報(A)
公開日
2025-10-17
出願番号
2025131531,2022130824
出願日
2025-08-06,2021-03-26
発明の名称
プログラム及び情報処理装置
出願人
株式会社セガ
代理人
個人
主分類
A63F
13/533 20140101AFI20251009BHJP(スポーツ;ゲーム;娯楽)
要約
【課題】所有コンテンツから処分するコンテンツを選択する際において、所有コンテンツの閲覧性の低下(煩雑化)を抑制する。
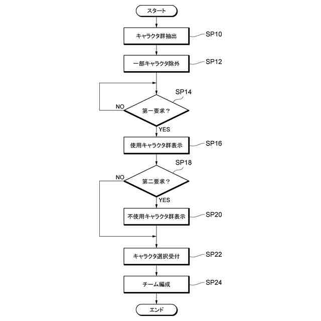
【解決手段】プログラムがコンピュータを、プレイヤの所有コンテンツ毎に、ゲームにおける使用状況を記憶する記憶手段50、所有コンテンツから、使用状況が所定条件を満たすコンテンツ群を抽出する抽出手段52、プレイヤから、所有コンテンツを閲覧する第一要求を受け付ける受付手段54、第一要求に応じて、所有コンテンツからコンテンツ群を除いた画面を表示させる制御手段56、として機能させ、第一要求は、所有コンテンツから処分するコンテンツを選択するための要求である。
【選択図】図4
特許請求の範囲
【請求項1】
コンピュータを、
プレイヤの所有コンテンツ毎に、ゲームにおける使用状況を記憶する記憶手段、
前記所有コンテンツから、前記使用状況が所定条件を満たすコンテンツ群を抽出する抽出手段、
前記プレイヤから、前記所有コンテンツを閲覧する第一要求を受け付ける受付手段、
前記第一要求に応じて、前記所有コンテンツから前記コンテンツ群を除いた画面を表示させる制御手段、
として機能させ、
前記第一要求は、前記所有コンテンツから処分するコンテンツを選択するための要求である、
プログラム。
続きを表示(約 890 文字)
【請求項2】
前記使用状況は、現在から所定期間前までの期間の使用回数を含む、
請求項1に記載のプログラム。
【請求項3】
前記使用回数は、前記プレイヤによってゲーム内で使用された回数であって、
前記所定条件は、前記使用回数が第一所定数以上であることである、
請求項2に記載のプログラム。
【請求項4】
前記使用回数は、複数のプレイヤによってゲーム内で使用された回数であって、
前記所定条件は、前記使用回数が第二所定数以上であることである、
請求項2に記載のプログラム。
【請求項5】
前記使用回数は、クエストにおいて使用された回数である、
請求項3又は4に記載のプログラム。
【請求項6】
前記使用回数は、クエストをクリアした際に使用されていた回数である、
請求項3又は4に記載のプログラム。
【請求項7】
前記使用回数は、育成ゲームが行われた回数である、
請求項3又は4に記載のプログラム。
【請求項8】
前記受付手段は、前記第一要求を受け付けた後に、前記プレイヤから、前記コンテンツ群を閲覧する第二要求を受け付け、
前記制御手段は、前記第二要求に応じて、前記コンテンツ群を画面に表示させる、
請求項1乃至7の何れか1項に記載のプログラム。
【請求項9】
前記抽出手段は、前記使用状況が所定条件を満たさないコンテンツであって、現在から一定期間前までの間にゲーム更新によって進化後コンテンツが追加されたコンテンツを、前記コンテンツ群に抽出する、
請求項1乃至8の何れか1項に記載のプログラム。
【請求項10】
前記抽出手段は、前記使用状況が所定条件を満たさないコンテンツであって、現在から一定期間前までの間にプレイヤが獲得したコンテンツを、前記コンテンツ群に抽出する、
請求項1乃至8の何れか1項に記載のプログラム。
(【請求項11】以降は省略されています)
発明の詳細な説明
【技術分野】
【0001】
本発明は、プログラム及び情報処理装置に関する。
続きを表示(約 1,000 文字)
【0002】
従来から、プレイヤにキャラクタやアイテム等のコンテンツを獲得させるゲームが知られている。
【0003】
これに関して、特許文献1には、抽選ゲームやクエスト等を実行することにより、プレイヤにコンテンツを獲得させる技術が開示されている。
【先行技術文献】
【特許文献】
【0004】
特許第6544474号公報
【発明の概要】
【発明が解決しようとする課題】
【0005】
このようなゲームでは、プレイヤは、ゲームを継続してプレイすることにより、抽選ゲームやクエスト等で獲得したコンテンツを多く所有することになる。このため、所有コンテンツから処分するコンテンツを選択する際において、所有コンテンツの閲覧性が低下(煩雑化)するという問題があった。
【0006】
本発明はこのような課題に鑑みてなされたものであり、その目的は、所有コンテンツから処分するコンテンツを選択する際において、所有コンテンツの閲覧性の低下(煩雑化)を抑制することができるプログラム及び情報処理装置を提供することにある。
【課題を解決するための手段】
【0007】
上記課題を解決するために、本発明の第一態様に係るプログラムは、コンピュータを、プレイヤの所有コンテンツ毎に、ゲームにおける使用状況を記憶する記憶手段、前記所有コンテンツから、前記使用状況が所定条件を満たすコンテンツ群を抽出する抽出手段、前記プレイヤから、前記所有コンテンツを閲覧する第一要求を受け付ける受付手段、前記第一要求に応じて、前記所有コンテンツから前記コンテンツ群を除いた画面を表示させる制御手段、として機能させ、前記第一要求は、前記所有コンテンツから処分するコンテンツを選択するための要求である。
【0008】
また、本発明の第二態様では、前記使用状況は、現在から所定期間前までの期間の使用回数を含む。
【0009】
また、本発明の第三態様では、前記使用回数は、前記プレイヤによってゲーム内で使用された回数であって、前記所定条件は、前記使用回数が第一所定数以上であることである。
【0010】
また、本発明の第四態様では、前記使用回数は、複数のプレイヤによってゲーム内で使用された回数であって、前記所定条件は、前記使用回数が第二所定数以上であることである。
(【0011】以降は省略されています)
特許ウォッチbot のツイートを見る
この特許をJ-PlatPat(特許庁公式サイト)で参照する
関連特許
株式会社セガ
景品取得ゲーム装置
1か月前
株式会社セガ
景品取得ゲーム装置
20日前
株式会社セガフェイブ
装身具及びカチューシャ
2か月前
株式会社セガ
プログラム及び情報処理装置
2か月前
株式会社セガ
プログラム及び情報処理装置
1日前
株式会社セガ
プログラム及び情報処理装置
1日前
株式会社セガ
プログラム及び情報処理装置
2か月前
株式会社セガ
プログラム及び情報処理装置
2か月前
株式会社セガ
プログラム及び情報処理装置
2か月前
株式会社セガ
プログラム及び情報処理装置
2か月前
株式会社セガ
プログラム及び情報処理装置
2か月前
株式会社セガ
プログラム及び情報処理装置
1か月前
株式会社セガ
プログラム及び情報処理装置
2か月前
株式会社セガ
プログラム、及び、情報処理装置
2か月前
株式会社セガ
プログラム、及び、情報処理装置
2か月前
株式会社セガ
プログラム、及び、情報処理装置
2か月前
株式会社セガ
店舗管理システム、管理者端末、及び作業者端末
2か月前
株式会社セガ
情報処理装置
1か月前
株式会社セガ
情報処理装置
1か月前
株式会社セガ
情報処理装置
1か月前
株式会社セガ
画像処理装置
2か月前
株式会社セガ
メダルゲーム機
2か月前
株式会社セガ
景品取得ゲーム装置
1か月前
株式会社セガ
景品取得ゲーム装置
1か月前
株式会社セガ
プログラム及び情報処理装置
1日前
株式会社セガ
プログラム及び情報処理装置
2か月前
株式会社セガ
プログラム及び情報処理装置
2か月前
株式会社セガ
プログラム及び情報処理装置
1か月前
株式会社セガ
プログラム及び情報処理装置
1か月前
株式会社セガ
プログラム及び情報処理装置
1か月前
株式会社セガ
プログラム及び情報処理装置
1か月前
株式会社セガ
プログラム及び情報処理装置
1日前
株式会社セガ
プログラム及び情報処理装置
1か月前
株式会社セガ
プログラム及び情報処理装置
1か月前
株式会社セガ
プログラム及び情報処理装置
26日前
株式会社セガ
プログラム及び情報処理装置
12日前
続きを見る
他の特許を見る