TOP
|
特許
|
意匠
|
商標
特許ウォッチ
Twitter
他の特許を見る
10個以上の画像は省略されています。
公開番号
2025152831
公報種別
公開特許公報(A)
公開日
2025-10-10
出願番号
2024054952
出願日
2024-03-28
発明の名称
プログラム及び情報処理装置
出願人
株式会社セガ
代理人
個人
主分類
G06F
3/0481 20220101AFI20251002BHJP(計算;計数)
要約
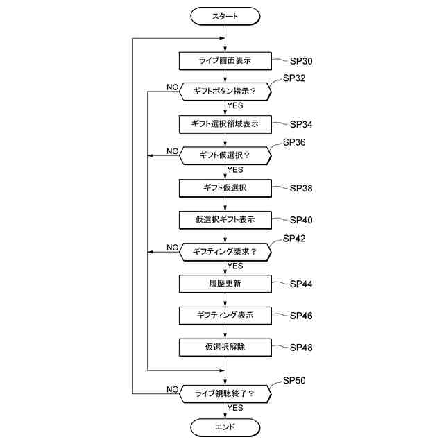
【課題】ユーザ同士によるギフティングのタイミングが重複することを抑制する。
【解決手段】プログラムがコンピュータを、各ユーザによるギフトのギフティングを管理する管理手段52、或るユーザによって或るギフトに対するギフティング要求がされた場合に、当該或るギフトを動画に表示させる表示手段54、として機能させ、管理手段52は、或るユーザによってギフティング要求があった後、所定時間が経過するまでの間において、他のユーザに対してギフティング要求を制限する。
【選択図】図4
特許請求の範囲
【請求項1】
配信中の動画を視聴する各ユーザが、当該動画にギフトを表示させるギフティングを行うためのプログラムであって、
コンピュータを、
各ユーザによるギフトのギフティングを管理する管理手段、
或るユーザによって或るギフトに対するギフティング要求がされた場合に、当該或るギフトを前記動画に表示させる表示手段、
として機能させ、
前記管理手段は、前記或るユーザによって前記ギフティング要求があった後、所定時間が経過するまでの間において、他のユーザに対して前記ギフティング要求を制限する、
プログラム。
続きを表示(約 720 文字)
【請求項2】
前記管理手段は、前記他のユーザに対して前記或るギフトと同一のギフトに対するギフティング要求を制限する、
請求項1に記載のプログラム。
【請求項3】
前記管理手段は、前記他のユーザに対して前記或るギフトの対価と同一の対価が対応付けられたギフトに対するギフティング要求を制限する、
請求項1に記載のプログラム。
【請求項4】
前記管理手段は、前記他のユーザに対して前記或るギフトの対価よりも低い対価が対応付けられたギフトに対するギフティング要求を制限する、
請求項1に記載のプログラム。
【請求項5】
前記或るギフトは、対価が所定額以上である、
請求項1に記載のプログラム。
【請求項6】
前記所定額は、前記動画を視聴するユーザが多いほど高くなる、
請求項5に記載のプログラム。
【請求項7】
前記或るギフトは、前記動画を視聴する全てのユーザに対してギフティングする回数が限定されている特別ギフトである、
請求項1に記載のプログラム。
【請求項8】
前記所定時間は、前記或るギフトの対価が高いほど長い、
請求項1に記載のプログラム。
【請求項9】
前記所定時間は、前記動画において或るギフトが表示される時間である、
請求項1に記載のプログラム。
【請求項10】
前記管理手段は、前記或るユーザと所定関係にあるユーザに対しては、前記ギフティング要求を制限しない、
請求項1に記載のプログラム。
(【請求項11】以降は省略されています)
発明の詳細な説明
【技術分野】
【0001】
本発明は、プログラム及び情報処理装置に関する。
続きを表示(約 1,000 文字)
【0002】
従来から、複数のユーザに対して動画を配信する動画配信システムが知られている。
【0003】
これに関し、特許文献1には、動画を視聴しているユーザ(プレイヤ)が、演者オブジェクトがいるステージエリアに向かって、購入したアイテムを投げる(ギフティングする)ことができる技術が開示されている。
【先行技術文献】
【特許文献】
【0004】
特開2023-092332号公報
【発明の概要】
【発明が解決しようとする課題】
【0005】
このような技術において、動画を視聴しているユーザがギフティングした場合、当該ギフティングのタイミングが別のユーザと重複してしまい、演者オブジェクト又は他のユーザに当該ギフティングが認識されない場合があった。
【0006】
本発明はこのような課題に鑑みてなされたものであり、その目的は、ユーザ同士によるギフティングのタイミングが重複することを抑制することができるプログラム及び情報処理装置を提供することにある。
【課題を解決するための手段】
【0007】
上記課題を解決するために、本発明の第一態様に係るプログラムは、配信中の動画を視聴する各ユーザが、当該動画にギフトを表示させるギフティングを行うためのプログラムであって、コンピュータを、各ユーザによるギフトのギフティングを管理する管理手段、或るユーザによって或るギフトに対するギフティング要求がされた場合に、当該或るギフトを前記動画に表示させる表示手段、として機能させ、前記管理手段は、前記或るユーザによって前記ギフティング要求があった後、所定時間が経過するまでの間において、他のユーザに対して前記ギフティング要求を制限する。
【0008】
また、本発明の第二態様では、前記管理手段は、前記他のユーザに対して前記或るギフトと同一のギフトに対するギフティング要求を制限する。
【0009】
また、本発明の第三態様では、前記管理手段は、前記他のユーザに対して前記或るギフトの対価と同一の対価が対応付けられたギフトに対するギフティング要求を制限する。
【0010】
また、本発明の第四態様では、前記管理手段は、前記他のユーザに対して前記或るギフトの対価よりも低い対価が対応付けられたギフトに対するギフティング要求を制限する。
(【0011】以降は省略されています)
この特許をJ-PlatPat(特許庁公式サイト)で参照する
関連特許
株式会社セガ
景品取得ゲーム装置
1か月前
株式会社セガ
景品取得ゲーム装置
19日前
株式会社セガフェイブ
装身具及びカチューシャ
2か月前
株式会社セガ
プログラム及び情報処理装置
今日
株式会社セガ
プログラム及び情報処理装置
今日
株式会社セガ
プログラム及び情報処理装置
2か月前
株式会社セガ
プログラム及び情報処理装置
2か月前
株式会社セガ
プログラム及び情報処理装置
2か月前
株式会社セガ
プログラム及び情報処理装置
2か月前
株式会社セガ
プログラム及び情報処理装置
1か月前
株式会社セガ
プログラム、及び、情報処理装置
2か月前
株式会社セガ
プログラム、及び、情報処理装置
2か月前
株式会社セガ
プログラム、及び、情報処理装置
2か月前
株式会社セガ
店舗管理システム、管理者端末、及び作業者端末
2か月前
株式会社セガ
情報処理装置
1か月前
株式会社セガ
情報処理装置
1か月前
株式会社セガ
情報処理装置
1か月前
株式会社セガ
景品取得ゲーム装置
1か月前
株式会社セガ
景品取得ゲーム装置
1か月前
株式会社セガ
プログラム及び情報処理装置
1か月前
株式会社セガ
プログラム及び情報処理装置
2か月前
株式会社セガ
プログラム及び情報処理装置
11日前
株式会社セガ
プログラム及び情報処理装置
25日前
株式会社セガ
プログラム及び情報処理装置
1か月前
株式会社セガ
プログラム及び情報処理装置
今日
株式会社セガ
プログラム及び情報処理装置
1か月前
株式会社セガ
プログラム及び情報処理装置
1か月前
株式会社セガ
プログラム及び情報処理装置
1か月前
株式会社セガ
プログラム及び情報処理装置
1か月前
株式会社セガ
プログラム及び情報処理装置
今日
株式会社セガ
商品販売装置及び商品販売方法
21日前
株式会社セガ
プログラム、及び、情報処理装置
1か月前
株式会社セガ
プログラム、情報処理装置、及び情報処理方法
1か月前
株式会社セガ
プログラム、情報処理装置、及び情報処理方法
25日前
株式会社セガ
プログラム、情報処理装置、及び情報処理方法
1か月前
株式会社ダーツライブ
ゲームシステム、ゲーム装置、及びプログラム
1か月前
続きを見る
他の特許を見る