TOP
|
特許
|
意匠
|
商標
特許ウォッチ
Twitter
他の特許を見る
10個以上の画像は省略されています。
公開番号
2025134012
公報種別
公開特許公報(A)
公開日
2025-09-11
出願番号
2025119583,2021142342
出願日
2025-07-16,2021-09-01
発明の名称
遊戯画像撮影装置
出願人
株式会社セガ
代理人
弁理士法人インターブレイン
主分類
G03B
17/53 20210101AFI20250904BHJP(写真;映画;光波以外の波を使用する類似技術;電子写真;ホログラフイ)
要約
【課題】事前修正されるユーザの顔の装飾の程度を調整できる技術を提供する。
【解決手段】遊戯画像撮影装置は、ユーザを撮影する撮影部と、撮影部で得られた撮影画像に含まれるユーザの顔を検出する顔検出部と、顔に対する所定の盛りを施す顔加工部と、編集画面を表示する前に、所定の盛りが施された撮影画像を含む盛り調整画面を表示する表示部と、盛り調整画面において盛り調整指示を受け付ける受付部と、を有し、所定の盛りを施す前の状態の撮影画像を記憶しておき、盛り調整指示として、盛りを薄くする指示を受け付けた場合に、顔加工部は、所定の盛りを施す前の状態の撮影画像に対して、所定の盛りに代えて所定の盛りよりも薄めの盛り加工を行う。
【選択図】図9
特許請求の範囲
【請求項1】
ユーザを撮影する撮影部と、
前記撮影部で得られた撮影画像に含まれる前記ユーザの顔を検出する顔検出部と、
前記顔に対する所定の盛りを施す顔加工部と、
編集画面を表示する前に、前記所定の盛りが施された前記撮影画像を含む盛り調整画面を表示する表示部と、
前記盛り調整画面において盛り調整指示を受け付ける受付部と、を有し、
前記所定の盛りを施す前の状態の前記撮影画像を記憶しておき、
前記盛り調整指示として、盛りを薄くする指示を受け付けた場合に、前記顔加工部は、前記所定の盛りを施す前の状態の前記撮影画像に対して、前記所定の盛りに代えて前記所定の盛りよりも薄めの盛り加工を行うことを特徴とする遊戯画像撮影装置。
続きを表示(約 510 文字)
【請求項2】
前記顔加工部は、前記薄めの盛り加工において、前記所定の盛りで用いられる第1化粧色とは異なる第2化粧色を半透明で重ねることを特徴とする請求項1に記載の遊戯画像撮影装置。
【請求項3】
前記顔加工部は、肌領域と唇領域における平滑化処理を行い、前記薄めの盛り加工において、前記平滑化処理が行われた前記肌領域と前記唇領域に対して、前記肌領域と前記唇領域で共通又は前記肌領域と前記唇領域で別個の第2化粧色を半透明で重ねることを特徴とする請求項2に記載の遊戯画像撮影装置。
【請求項4】
前記顔加工部は、前記所定の盛りの処理として、前記顔の変形加工と化粧加工とを行い、前記薄めの盛り加工において、変形された前記顔の形を保ち、化粧を調整することを特徴とする請求項1に記載の遊戯画像撮影装置。
【請求項5】
前記顔加工部は、前記所定の盛りの処理として、前記顔の変形加工と化粧加工とを行い、前記薄めの盛り加工において、前記顔の変形と化粧を調整し、前記顔の前記変形の調整度合いが、前記化粧の調整度合いよりも小さいことを特徴とする請求項1に記載の遊戯画像撮影装置。
発明の詳細な説明
【技術分野】
【0001】
本発明は、撮影画像の画像処理、特に事前修正に関する。
続きを表示(約 1,800 文字)
【背景技術】
【0002】
プリクラ(登録商標)とよばれる遊戯画像撮影装置は、女子高校生を中心として根強い人気を誇る。ユーザは、自らを撮影し、編集用のディスプレイにて撮影画像にさまざまな装飾を施す。装飾後の画像はシール台紙に印刷される(特許文献1,2参照)。
【先行技術文献】
【特許文献】
【0003】
特開2004-32213号公報
特開2016-184287号公報
【発明の概要】
【発明が解決しようとする課題】
【0004】
遊戯画像撮影装置は、撮影画像に対する装飾として、具体的には顔の形を加工したり、メイクの加工をしたりする。編集用のディスプレイにてユーザ自身が装飾を施す前に、自動的にユーザの顔に対する軽い装飾を施すことが一般的である。以下、この装飾を、事前修正という。
【0005】
事前修正では、どのユーザの顔に対しても共通の加工が行われる。しかし、事前修正の装飾レベルが強すぎると感じるユーザもいる。また、男性や子供のように、メイク加工が適さない顔の場合もある。なお、遊戯画像撮影装置の分野で、顔に対する装飾である事前修正のことは「盛り」とよばれている。
【0006】
本発明は、本発明者らによる上記課題認識に基づいて完成された発明であり、その主たる目的は、事前修正されたユーザの顔の装飾の程度を調整する技術、を提供することにある。
【課題を解決するための手段】
【0007】
本発明のある態様における遊戯画像撮影装置は、ユーザを撮影する撮影部と、撮影部で得られた撮影画像に含まれるユーザの顔を検出する顔検出部と、顔に対する所定の盛りを施す顔加工部と、編集画面を表示する前に、所定の盛りが施された撮影画像を含む盛り調整画面を表示する表示部と、盛り調整画面において盛り調整指示を受け付ける受付部と、を有し、所定の盛りを施す前の状態の撮影画像を記憶しておき、盛り調整指示として、盛りを薄くする指示を受け付けた場合に、顔加工部は、所定の盛りを施す前の状態の撮影画像に対して、所定の盛りに代えて所定の盛りよりも薄めの盛り加工を行う。
【発明の効果】
【0008】
本発明によれば、事前修正されたユーザの顔の装飾の程度を調整できる。
【図面の簡単な説明】
【0009】
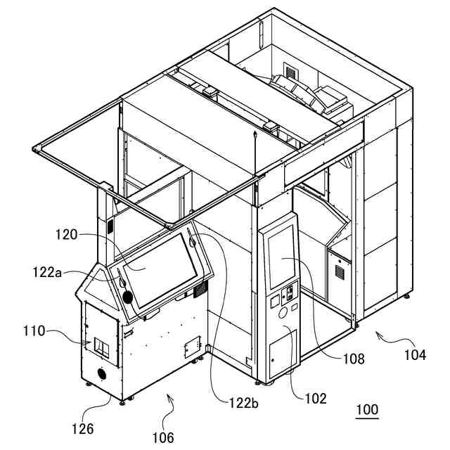
遊戯画像撮影システムの全体構成図である。
遊戯画像撮影装置の外観斜視図である。
撮影ブースの外観斜視図である。
遊戯画像撮影装置におけるプレイの流れを示すフローチャートである。
遊戯画像撮影装置を上から見た平面図である。
遊戯画像撮影装置の機能ブロック図である。
デフォルト盛り加工の処理過程を示すフローチャートである。
デフォルト盛り加工の具体例を示す図である。
盛り調整画面の画面図である。
盛り調整処理の過程を示すフローチャートである。
盛り薄め加工の具体例を示す図である。
編集画面の画面図である。
リップパレットの画面図である。
編集処理におけるリップ加工の具体例を示す図である。
盛り濃く加工の具体例を示す図である。
【発明を実施するための形態】
【0010】
本実施形態における遊戯画像撮影装置は、撮影ブース(撮影空間)と編集ブース(編集空間)を備える。ユーザは撮影ブースにて自らを撮影する。以下、撮影ブースにおいて被写体(ユーザ)を撮影した画像のことを「撮影画像」とよぶ。遊戯画像撮影装置は、編集処理の前に、顔変形加工、肌の美白化やメイク加工などの画像修正を撮影画像に施す(以下、このような画像修正を「事前修正」とよぶ)。事前修正については、後に詳述する。本実施形態における遊戯画像撮影装置は、撮影ブースにおいて静止画像だけでなく動画像も撮影する。撮影画像のうち、動画像として取得されるものを「撮影動画像」、静止画像として取得されるものを「撮影静止画像」とよぶ。本実施形態においては、最大7セットの撮影画像(撮影動画像と撮影静止画像のセット)が取得される。
(【0011】以降は省略されています)
特許ウォッチbot のツイートを見る
この特許をJ-PlatPat(特許庁公式サイト)で参照する
関連特許
株式会社セガフェイブ
通信端末
20日前
株式会社セガ
フィギュア玩具
1か月前
株式会社セガ
写真シール作成機
29日前
株式会社セガ
写真シール作成機
29日前
株式会社セガ
写真シール作成機
29日前
株式会社セガフェイブ
通信端末及び通信システム
20日前
株式会社セガ
プログラム及び情報処理装置
1か月前
株式会社セガ
プログラム及び情報処理装置
1か月前
株式会社セガ
プログラム及び情報処理装置
4日前
株式会社セガ
プログラム及び情報処理装置
8日前
株式会社セガ
プログラム及び情報処理装置
8日前
株式会社セガ
店舗管理システム、管理者端末、及び作業者端末
今日
株式会社セガ
画像処理装置
7日前
株式会社セガ
商品販売装置
1か月前
株式会社セガ
メダルゲーム機
4日前
株式会社セガ
フィギュア玩具
1か月前
株式会社セガ
遊戯画像撮影装置
26日前
株式会社セガ
プログラム及び記録媒体
1か月前
株式会社セガ
情報処理装置及びプログラム
1か月前
株式会社セガ
プログラム及び情報処理装置
1か月前
株式会社セガ
プログラム及び情報処理装置
今日
株式会社セガ
プログラム及び情報処理装置
18日前
株式会社セガ
プログラム及び情報処理装置
1か月前
株式会社セガ
プログラム及び情報処理装置
6日前
株式会社ダーツライブ
投擲ゲーム装置、情報処理装置、情報処理方法、及びプログラム
11日前
株式会社セガ
プログラム、情報処理装置、及び情報処理方法
1か月前
株式会社セガ
プログラム、情報処理装置、及び情報処理方法
1か月前
株式会社セガ
プログラム、情報処理装置、及び情報処理方法
1か月前
株式会社シグマ
絞りユニット
19日前
キヤノン株式会社
撮像装置
1か月前
キヤノン株式会社
撮像装置
18日前
キヤノン株式会社
撮像装置
12日前
平和精機工業株式会社
雲台
1か月前
株式会社リコー
画像形成装置
3か月前
株式会社リコー
画像形成装置
26日前
株式会社リコー
画像形成装置
1か月前
続きを見る
他の特許を見る