TOP
|
特許
|
意匠
|
商標
特許ウォッチ
Twitter
他の特許を見る
10個以上の画像は省略されています。
公開番号
2025167629
公報種別
公開特許公報(A)
公開日
2025-11-07
出願番号
2024072449
出願日
2024-04-26
発明の名称
プログラム及び情報処理装置
出願人
株式会社セガ
代理人
個人
主分類
G06F
3/04817 20220101AFI20251030BHJP(計算;計数)
要約
【課題】一のユーザが他のユーザに対して、当該他のユーザが閲覧していない電子書籍の内容を伝えてしまうことを防止する。
【解決手段】シリーズ化された複数の電子書籍を、一のユーザのアカウント及び他のユーザのアカウントにおいて閲覧可能とするプログラムであって、コンピュータを、各ユーザのアカウントにおいて、有料版書籍、及び、無料版書籍が、それぞれ閲覧された場合に、各ユーザのアカウント毎の有料版書籍及び無料版書籍の閲覧状況を示す閲覧情報を更新する設定手段22、一のユーザのアカウントにおいて、閲覧情報に含まれる他のユーザのアカウントの閲覧状況を確認可能となるように出力する出力手段25、として機能させる。
【選択図】図4
特許請求の範囲
【請求項1】
シリーズ化された複数の電子書籍を、一のユーザのアカウント及び他のユーザのアカウントにおいて閲覧可能とするプログラムであって、
コンピュータを、
各ユーザのアカウントにおいて、前記複数の電子書籍のうち購入されることで閲覧可能となる有料版書籍、及び、当該複数の電子書籍のうち購入されずに閲覧可能となる無料版書籍が、それぞれ閲覧された場合に、各ユーザのアカウント毎の前記有料版書籍及び前記無料版書籍の閲覧状況を示す閲覧情報を更新する設定手段、
前記一のユーザのアカウントにおいて、前記閲覧情報に含まれる前記他のユーザのアカウントの閲覧状況を確認可能となるように出力する出力手段、
として機能させるプログラム。
続きを表示(約 1,200 文字)
【請求項2】
前記コンピュータを、
前記一のユーザのアカウントと前記他のユーザのアカウントとの間で、文字情報又は/及び音声情報の送受信が可能となるように、当該一のユーザのアカウントと当該他のユーザのアカウントを紐付ける紐付手段として更に機能させる、
請求項1に記載のプログラム。
【請求項3】
前記他のユーザは、前記一のユーザの操作により登録されたフレンドユーザである、
請求項2に記載のプログラム。
【請求項4】
前記出力手段は、前記閲覧情報に含まれる前記一のユーザのアカウントの閲覧状況が、前記有料版書籍の閲覧履歴有り又は閲覧中であり、かつ、前記閲覧情報に含まれる前記他のユーザのアカウントの閲覧状況が、前記有料版書籍の閲覧履歴無しである場合、前記一のユーザのアカウントにおいて注意喚起を確認可能となるように出力する、
請求項1に記載のプログラム。
【請求項5】
前記出力手段は、前記閲覧情報に含まれる前記一のユーザのアカウントの閲覧状況が、前記有料版書籍の閲覧履歴有りであり、かつ、前記閲覧情報に含まれる前記他のユーザのアカウントの閲覧状況が、前記有料版書籍の閲覧履歴無しである場合、当該他のユーザのアカウントが当該一のユーザのアカウントから前記文字情報又は/及び前記音声情報を受け付けると、前記他のユーザのアカウントにおいて注意喚起を当該文字情報又は当該音声情報よりも先に確認可能となるように出力する、
請求項2又は3に記載のプログラム。
【請求項6】
前記設定手段は、各有料版書籍に、その内容に関連する一以上の単語を紐付けて設定し、
前記出力手段は、前記他のユーザのアカウントが受け付けた前記文字情報又は/及び前記音声情報に、前記単語が含まれている場合に、前記他のユーザのアカウントにおいて前記注意喚起とは異なる態様で強い注意喚起を当該文字情報又は当該音声情報よりも先に確認可能となるように出力する、
請求項5に記載のプログラム。
【請求項7】
シリーズ化された複数の電子書籍を、一のユーザのアカウント及び他のユーザのアカウントにおいて閲覧可能とする情報処理装置であって、
各ユーザのアカウントにおいて、前記複数の電子書籍のうち購入されることで閲覧可能となる有料版書籍、及び、当該複数の電子書籍のうち購入されずに閲覧可能となる無料版書籍が、それぞれ閲覧された場合に、各ユーザのアカウント毎の前記有料版書籍及び前記無料版書籍の閲覧状況を示す閲覧情報を更新する設定手段と、
前記一のユーザのアカウントにおいて、前記閲覧情報に含まれる前記他のユーザのアカウントの閲覧状況を確認可能となるように出力する出力手段と、
を備える情報処理装置。
発明の詳細な説明
【技術分野】
【0001】
本発明は、プログラム及び情報処理装置に関する。
続きを表示(約 1,600 文字)
【背景技術】
【0002】
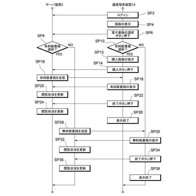
例えば下記特許文献1に開示されるように、従来、シリーズ化されている複数の電子書籍については、第一話から所定の話数(例えば第五話等)までの電子書籍を無料で閲覧することができる技術が認知されている。なお、以下では、ユーザが無料で閲覧可能な電子書籍を「無料版書籍」と呼称し、購入することで閲覧可能な電子書籍を「有料版書籍」と呼称する。
【先行技術文献】
【特許文献】
【0003】
特開2013-105297号公報
【発明の概要】
【発明が解決しようとする課題】
【0004】
上述した従来の技術では、一のユーザからすると、他のユーザが無料版書籍までしか閲覧してないのか、有料版書籍まで閲覧しているのかを確認することができない。そのため、例えば、有料版書籍まで閲覧した一のユーザが、無料版までしか閲覧していない他のユーザに、有料版書籍の内容を伝えてしまう等、一のユーザが他のユーザに対して、当該他のユーザが閲覧していない電子書籍の内容を伝えてしまう可能性がある。
【0005】
上述の問題に鑑み、本発明は、一のユーザが他のユーザに対して、当該他のユーザが閲覧していない電子書籍の内容を伝えてしまうことを防止するプログラム、及び、情報処理装置を提供することを目的とする。
【課題を解決するための手段】
【0006】
上記課題を解決するために、本発明の第一態様に係るプログラムは、シリーズ化された複数の電子書籍を、一のユーザのアカウント及び他のユーザのアカウントにおいて閲覧可能とするプログラムであって、コンピュータを、各ユーザのアカウントにおいて、前記複数の電子書籍のうち購入されることで閲覧可能となる有料版書籍、及び、当該複数の電子書籍のうち購入されずに閲覧可能となる無料版書籍が、それぞれ閲覧された場合に、各ユーザのアカウント毎の前記有料版書籍及び前記無料版書籍の閲覧状況を示す閲覧情報を更新する設定手段、前記一のユーザのアカウントにおいて、前記閲覧情報に含まれる前記他のユーザのアカウントの閲覧状況を確認可能となるように出力する出力手段、として機能させる。
【0007】
また、本発明の第二態様では、前記コンピュータを、前記一のユーザのアカウントと前記他のユーザのアカウントとの間で、文字情報又は/及び音声情報の送受信が可能となるように、当該一のユーザのアカウントと当該他のユーザのアカウントを紐付ける紐付手段として更に機能させる。
【0008】
また、本発明の第三態様では、前記他のユーザは、前記一のユーザの操作により登録されたフレンドユーザである。
【0009】
また、本発明の第四態様では、前記出力手段は、前記閲覧情報に含まれる前記一のユーザのアカウントの閲覧状況が、前記有料版書籍の閲覧履歴有り又は閲覧中であり、かつ、前記閲覧情報に含まれる前記他のユーザのアカウントの閲覧状況が、前記有料版書籍の閲覧履歴無しである場合、前記一のユーザのアカウントにおいて注意喚起を確認可能となるように出力する。
【0010】
また、本発明の第五態様では、前記出力手段は、前記閲覧情報に含まれる前記一のユーザのアカウントの閲覧状況が、前記有料版書籍の閲覧履歴有りであり、かつ、前記閲覧情報に含まれる前記他のユーザのアカウントの閲覧状況が、前記有料版書籍の閲覧履歴無しである場合、当該他のユーザのアカウントが当該一のユーザのアカウントから前記文字情報又は/及び前記音声情報を受け付けると、前記他のユーザのアカウントにおいて注意喚起を当該文字情報又は当該音声情報よりも先に確認可能となるように出力する。
(【0011】以降は省略されています)
この特許をJ-PlatPat(特許庁公式サイト)で参照する
関連特許
株式会社セガフェイブ
通信端末
2か月前
株式会社セガ
写真シール作成機
2か月前
株式会社セガ
写真シール作成機
2か月前
株式会社セガ
写真シール作成機
2か月前
株式会社セガ
景品取得ゲーム装置
8日前
株式会社セガ
景品取得ゲーム装置
22日前
株式会社セガフェイブ
装身具及びカチューシャ
1か月前
株式会社セガフェイブ
通信端末及び通信システム
2か月前
株式会社セガ
プログラム及び情報処理装置
1か月前
株式会社セガ
プログラム及び情報処理装置
1か月前
株式会社セガ
プログラム及び情報処理装置
2か月前
株式会社セガ
プログラム及び情報処理装置
2か月前
株式会社セガ
プログラム及び情報処理装置
1か月前
株式会社セガ
プログラム及び情報処理装置
1か月前
株式会社セガ
プログラム及び情報処理装置
1か月前
株式会社セガ
プログラム及び情報処理装置
21日前
株式会社セガ
プログラム及び情報処理装置
3か月前
株式会社セガ
プログラム、及び、情報処理装置
1か月前
株式会社セガ
プログラム、及び、情報処理装置
1か月前
株式会社セガ
プログラム、及び、情報処理装置
1か月前
株式会社セガ
店舗管理システム、管理者端末、及び作業者端末
1か月前
株式会社セガ
情報処理装置
1か月前
株式会社セガ
情報処理装置
1か月前
株式会社セガ
商品販売装置
2か月前
株式会社セガ
画像処理装置
1か月前
株式会社セガ
情報処理装置
1か月前
株式会社セガ
メダルゲーム機
1か月前
株式会社セガ
遊戯画像撮影装置
2か月前
株式会社セガ
景品取得ゲーム装置
1か月前
株式会社セガ
景品取得ゲーム装置
1か月前
株式会社セガ
プログラム及び記録媒体
3か月前
株式会社セガ
プログラム及び情報処理装置
2か月前
株式会社セガ
プログラム及び情報処理装置
3か月前
株式会社セガ
プログラム及び情報処理装置
今日
株式会社セガ
プログラム及び情報処理装置
1か月前
株式会社セガ
プログラム及び情報処理装置
1か月前
続きを見る
他の特許を見る