TOP
|
特許
|
意匠
|
商標
特許ウォッチ
Twitter
他の特許を見る
10個以上の画像は省略されています。
公開番号
2025160470
公報種別
公開特許公報(A)
公開日
2025-10-22
出願番号
2025130568,2023016481
出願日
2025-08-05,2023-02-06
発明の名称
景品取得ゲーム装置
出願人
株式会社セガ
代理人
個人
主分類
A63F
9/30 20060101AFI20251015BHJP(スポーツ;ゲーム;娯楽)
要約
【課題】第1プレイエリア及び第2プレイエリアの大きさを変更可能にする。
【解決手段】左右に隣り合う左側の第1プレイエリアと右側の第2プレイエリアに跨った左右方向の固定レールと、第1プレイエリアにおいて、固定レールに直交して左右方向に沿って移動自在に固定レールに支持された第1移動レールと、左右方向に沿って移動自在に固定レールに支持された第1作動部と、第2プレイエリアにおいて、固定レールに直交して左右方向に沿って移動自在に固定レールに支持された第2移動レールと、左右方向に沿って移動自在に固定レールに支持された第2作動部を備え、固定レールは、第1移動レールと第2作動部との間での移動後の位置において第1作動部を支持することにより、第1プレイエリアの右端位置を変更可能にし、第1作動部と第2移動レールとの間での移動後の位置において第2作動部を支持することにより、第2プレイエリアの左端位置を変更する。
【選択図】図6
特許請求の範囲
【請求項1】
景品を収容する収納空間内で左右に隣り合う左側の第1プレイエリア及び右側の第2プレイエリアに跨って左右方向に延在する固定レールと、
前記第1プレイエリアにおいて、前記固定レールに直交して左右方向に沿って移動自在に前記固定レールに支持された第1移動レールと、
前後方向に沿って移動自在に前記第1移動レールに支持された第1景品取得部と、
前記第1移動レールに取付けられ、第1プレイエリアの右端位置を検知する第1センサーと、
前記第1センサーを作動させる第1作動部であって、左右方向に沿って移動自在に前記固定レールに支持された第1作動部と、
前記第2プレイエリアにおいて、前記固定レールに直交して左右方向に沿って移動自在に前記固定レールに支持された第2移動レールと、
前後方向に沿って移動自在に前記第2移動レールに支持された第2景品取得部と、
前記第2移動レールに取付けられ、第2プレイエリアの左端位置を検知する第2センサーと、
前記第2センサーを作動させる第2作動部であって、左右方向に沿って移動自在に前記固定レールに支持された第2作動部と、
を備え、
前記固定レールは、前記第1移動レールと前記第2作動部との間での移動後の位置において前記第1作動部を支持することにより、第1プレイエリアの右端位置を変更可能にし、前記第1作動部と前記第2移動レールとの間での移動後の位置において前記第2作動部を支持することにより、第2プレイエリアの左端位置を変更可能にする、
ことを特徴とする景品取得ゲーム装置。
続きを表示(約 1,300 文字)
【請求項2】
前記第1移動レールの左右方向に沿う移動によって第1作動部が第1センサーを作動させた場合に、前記第1移動レールを第1プレイエリアの右端位置で停止させ、前記第2移動レールの左右方向に沿う移動によって第2作動部が第2センサーを作動させた場合に、前記第2移動レールを第2プレイエリアの左端位置で停止させる制御部と、
を備えたことを特徴とする請求項1に記載の景品取得ゲーム装置。
【請求項3】
前記固定レールは、第1プレイエリアの右端位置から第2プレイエリアの左端位置まで間隔を開けるように第1作動部及び第2作動部を支持することにより、第1プレイエリアと第2プレイエリアとの間に非プレイエリアを形成可能にする、
ことを特徴とする請求項1又は2に記載の景品取得ゲーム装置。
【請求項4】
前記固定レールは、前記第1作動部及び前記第2作動部を左右方向に沿ってスライド移動可能に支持し、
前記第1作動部及び前記第2作動部は、スライド移動後の位置において磁石によって前記固定レールに位置決めされる、
ことを特徴とする請求項1又は2に記載の景品取得ゲーム装置。
【請求項5】
景品を収容する収納空間内で左右に隣り合う左側の第1プレイエリア及び右側の第2プレイエリアに跨って左右方向に延在する固定レールと、
前記第1プレイエリアにおいて、前記固定レールに直交して左右方向に沿って移動自在に前記固定レールに支持された第1移動レールと、
前後方向に沿って移動自在に前記第1移動レールに支持された第1景品取得部と、
前記第2プレイエリアにおいて、前記固定レールに直交して左右方向に沿って移動自在に前記固定レールに支持された第2移動レールと、
前後方向に沿って移動自在に前記第2移動レールに支持された第2景品取得部と、
前記第1移動レールに取付けられ、第1プレイエリアと第2プレイエリアの境界位置を検知する第1センサーと、
前記第2移動レールに取付けられ、第1プレイエリアと第2プレイエリアの境界位置を検知する第2センサーと、
前記第1センサー及び前記第2センサーを作動させる作動部であって、左右方向に沿って移動自在に前記固定レールに支持された作動部と、
を備え、
前記固定レールは、前記第1移動レールと前記第2移動レールとの間での移動後の位置において前記作動部を支持することにより、第1プレイエリアと第2プレイエリアの境界位置を変更可能にする、
ことを特徴とする景品取得ゲーム装置。
【請求項6】
前記第1移動レールの左右方向に沿う移動によって作動部が第1センサーを作動させた場合に、前記第1移動レールを第1プレイエリアと第2プレイエリアの境界位置で停止させ、前記第2移動レールの左右方向に沿う移動によって作動部が第2センサーを作動させた場合に、前記第2移動レールを第1プレイエリアと第2プレイエリアの境界位置で停止させる制御部と、
を備えたことを特徴とする請求項5に記載の景品取得ゲーム装置。
発明の詳細な説明
【技術分野】
【0001】
本発明は、景品取得ゲーム装置に関する。
続きを表示(約 3,600 文字)
【背景技術】
【0002】
景品を収容する収容空間内で前記景品を取得する景品取得部を移動させて遊戯者にゲームプレイさせる景品取得ゲーム装置が知られている(たとえば、特許文献1)。
【先行技術文献】
【特許文献】
【0003】
特開2019-98076号公報
【発明の概要】
【発明が解決しようとする課題】
【0004】
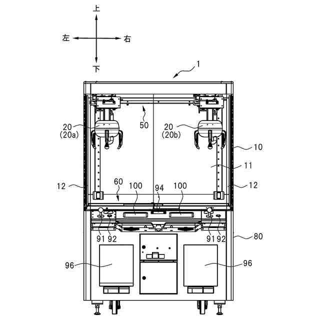
特許文献1に記載の景品取得ゲーム装置は、遊戯者が景品取得ゲームをプレイする第1プレイエリアを収容空間内の左側に形成し、収容空間内の右側に第2プレイエリアを形成している。第1プレイエリアと第2プレイエリアでは、それぞれに対応させて第1景品取得部と第2景品取得部が移動可能となっている。第1プレイエリアと第2プレイエリアは、同じ大きさであるため、第1景品取得部と第2景品取得部の収容空間内での可動範囲も同じ大きさになっている。第1プレイエリアと第2プレイエリアの大きさは変更することができない構造になっているため、第1景品取得部と第2景品取得部の収容空間内での可動範囲の大きさも変更できない。その一方で、サービス提供者(例えば、店員等)は、収容空間内で景品の種類やサイズ等に合わせて多様なゲームプレイができるように、左右で異なる大きさのプレイエリアに変更したい場合があった。
【0005】
本発明は、このような事情に鑑みてなされたものであり、その目的とするところは、第1プレイエリア及び第2プレイエリアの大きさを変更可能にすることにある。
【課題を解決するための手段】
【0006】
上記課題を解決するための本発明の主たる発明は、
景品を収容する収納空間内で左右に隣り合う左側の第1プレイエリア及び右側の第2プレイエリアに跨って左右方向に延在する固定レールと、
前記第1プレイエリアにおいて、前記固定レールに直交して左右方向に沿って移動自在に前記固定レールに支持された第1移動レールと、
前後方向に沿って移動自在に前記第1移動レールに支持された第1景品取得部と、
前記第1移動レールに取付けられ、第1プレイエリアの右端位置を検知する第1センサーと、
前記第1センサーを作動させる第1作動部であって、左右方向に沿って移動自在に前記固定レールに支持された第1作動部と、
前記第2プレイエリアにおいて、前記固定レールに直交して左右方向に沿って移動自在に前記固定レールに支持された第2移動レールと、
前後方向に沿って移動自在に前記第2移動レールに支持された第2景品取得部と、
前記第2移動レールに取付けられ、第2プレイエリアの左端位置を検知する第2センサーと、
前記第2センサーを作動させる第2作動部であって、左右方向に沿って移動自在に前記固定レールに支持された第2作動部と、
を備え、
前記固定レールは、前記第1移動レールと前記第2作動部との間での移動後の位置において前記第1作動部を支持することにより、第1プレイエリアの右端位置を変更可能にし、前記第1作動部と前記第2移動レールとの間での移動後の位置において前記第2作動部を支持することにより、第2プレイエリアの左端位置を変更可能にする、
ことを特徴とする景品取得ゲーム装置である。
本発明の他の特徴については、本明細書及び添付図面の記載により明らかにする。
【図面の簡単な説明】
【0007】
本実施形態に係る景品取得ゲーム装置1の構成を示す外観図である。
本実施形態に係る景品取得ゲーム装置1の構成を示す概略斜視図である。
本実施形態に係る景品取得ゲーム装置1の構成を示すブロック図である。
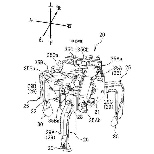
本実施形態に係る景品取得部20の構成を示す概略図である。
本実施形態に係る移動部50の構成を示す概略斜視図である。
本実施形態に係る移動部50の構成を示す平面側斜視図である。
本実施形態に係る移動部50の構成を示す右面側斜視図である。
本実施形態に係る第1右端作動部532の構成を示す概略斜視図である。
本実施形態に係る第2左端作動部533の構成を示す概略斜視図である。
第1右端作動部532と第2左端作動部533を右側へ移動させた状態を示す図である。
第1右端作動部532を左側へ移動させ第2左端作動部533を右側へ移動させた状態を示す図である。
プレイエリアの設定について説明する図である。図12Aは、第1プレイエリアPA1と第2プレイエリアPA2を同じ大きさに設定した状態を示す図である。図12Bは、第1プレイエリアPA1よりも小さい第2プレイエリアPA2を設定した状態を示す図である。図12Cは、第1プレイエリアPA1と第2プレイエリアPA2との間に展示エリアDAを設定した状態を示す図である。
本実施形態に係る景品取得ゲーム装置1の動作例を説明するフローチャートである。
本実施形態に係る作動部535の構成を示す概略斜視図である。
【発明を実施するための形態】
【0008】
本明細書及び添付図面の記載により、少なくとも以下の事項が明らかとなる。
即ち、景品を収容する収納空間内で左右に隣り合う左側の第1プレイエリア及び右側の第2プレイエリアに跨って左右方向に延在する固定レールと、
前記第1プレイエリアにおいて、前記固定レールに直交して左右方向に沿って移動自在に前記固定レールに支持された第1移動レールと、
前後方向に沿って移動自在に前記第1移動レールに支持された第1景品取得部と、
前記第1移動レールに取付けられ、第1プレイエリアの右端位置を検知する第1センサーと、
前記第1センサーを作動させる第1作動部であって、左右方向に沿って移動自在に前記固定レールに支持された第1作動部と、
前記第2プレイエリアにおいて、前記固定レールに直交して左右方向に沿って移動自在に前記固定レールに支持された第2移動レールと、
前後方向に沿って移動自在に前記第2移動レールに支持された第2景品取得部と、
前記第2移動レールに取付けられ、第2プレイエリアの左端位置を検知する第2センサーと、
前記第2センサーを作動させる第2作動部であって、左右方向に沿って移動自在に前記固定レールに支持された第2作動部と、
を備え、
前記固定レールは、前記第1移動レールと前記第2作動部との間での移動後の位置において前記第1作動部を支持することにより、第1プレイエリアの右端位置を変更可能にし、前記第1作動部と前記第2移動レールとの間での移動後の位置において前記第2作動部を支持することにより、第2プレイエリアの左端位置を変更可能にする、
ことを特徴とする景品取得ゲーム装置である。
このような景品取得ゲーム装置によれば、サービス提供者(例えば、店員等)は、固定レールに沿って第1作動部及び第2作動部ぞれぞれの左右方向の位置を調整することで、第1プレイエリア及び第2プレイエリアの大きさを個別に変更にすることが可能となる。
【0009】
また、かかる景品取得ゲーム装置であって、
前記第1移動レールの左右方向に沿う移動によって第1作動部が第1センサーを作動させた場合に、前記第1移動レールを第1プレイエリアの右端位置で停止させ、前記第2移動レールの左右方向に沿う移動によって第2作動部が第2センサーを作動させた場合に、前記第2移動レールを第2プレイエリアの左端位置で停止させる制御部を備えることとしても良い。
このような景品取得ゲーム装置によれば、第1プレイエリアに対応させて第1景品取得部の可動範囲を制限できると共に、第2プレイエリアに対応させて第2景品取得部の可動範囲を制限することができる。
【0010】
また、かかる景品取得ゲーム装置であって、
前記固定レールは、第1プレイエリアの右端位置から第2プレイエリアの左端位置まで間隔を開けるように第1作動部及び第2作動部を支持することにより、第1プレイエリアと第2プレイエリアとの間に非プレイエリアを形成可能にすることとしても良い。
このような景品取得ゲーム装置によれば、サービス提供者は、第1作動部と第2作動部の左右方向の間隔を調整することで、収納空間内にプレイエリアだけでなく、非プレイエリアも形成できるようになる。
(【0011】以降は省略されています)
特許ウォッチbot のツイートを見る
この特許をJ-PlatPat(特許庁公式サイト)で参照する
関連特許
株式会社セガ
景品取得ゲーム装置
1か月前
株式会社セガ
景品取得ゲーム装置
21日前
株式会社セガフェイブ
装身具及びカチューシャ
2か月前
株式会社セガ
プログラム及び情報処理装置
2日前
株式会社セガ
プログラム及び情報処理装置
2日前
株式会社セガ
プログラム及び情報処理装置
2か月前
株式会社セガ
プログラム及び情報処理装置
2か月前
株式会社セガ
プログラム及び情報処理装置
2か月前
株式会社セガ
プログラム及び情報処理装置
2か月前
株式会社セガ
プログラム及び情報処理装置
1か月前
株式会社セガ
プログラム、及び、情報処理装置
2か月前
株式会社セガ
プログラム、及び、情報処理装置
2か月前
株式会社セガ
プログラム、及び、情報処理装置
2か月前
株式会社セガ
店舗管理システム、管理者端末、及び作業者端末
2か月前
株式会社セガ
情報処理装置
1か月前
株式会社セガ
情報処理装置
1か月前
株式会社セガ
情報処理装置
1か月前
株式会社セガ
景品取得ゲーム装置
1か月前
株式会社セガ
景品取得ゲーム装置
1か月前
株式会社セガ
プログラム及び情報処理装置
1か月前
株式会社セガ
プログラム及び情報処理装置
2か月前
株式会社セガ
プログラム及び情報処理装置
13日前
株式会社セガ
プログラム及び情報処理装置
27日前
株式会社セガ
プログラム及び情報処理装置
1か月前
株式会社セガ
プログラム及び情報処理装置
2日前
株式会社セガ
プログラム及び情報処理装置
1か月前
株式会社セガ
プログラム及び情報処理装置
1か月前
株式会社セガ
プログラム及び情報処理装置
1か月前
株式会社セガ
プログラム及び情報処理装置
1か月前
株式会社セガ
プログラム及び情報処理装置
2日前
株式会社セガ
商品販売装置及び商品販売方法
23日前
株式会社セガ
プログラム、及び、情報処理装置
1か月前
株式会社セガ
プログラム、情報処理装置、及び情報処理方法
1か月前
株式会社セガ
プログラム、情報処理装置、及び情報処理方法
27日前
株式会社セガ
プログラム、情報処理装置、及び情報処理方法
1か月前
株式会社ダーツライブ
ゲームシステム、ゲーム装置、及びプログラム
1か月前
続きを見る
他の特許を見る